BRAYER BR4264 Vacuum Cleaner

The wireless handheld vacuum cleaner is intended for room dry cleaning.
DESCRIPTION
- Vacuum cleaner handle
- Vacuum cleaner on/off button
- Maximum power «TURBO» mode on the button
- Foldable handle lock button
- «Hand vacuum cleaner» lock button
- Light indicator
- «Hand vacuum cleaner» on/off button
- Electric brush lock button
- Battery
- Battery lock
- Electric brush
- Dust container lock
- HEPA filter
- Dust container
- Floor stand for battery charging/vacuum cleaner storage
- Places for installing additional nozzles
- Socket for the power adapter plug
- Power adapter
- Power adapter plug
- Large nozzle
- Small nozzle
SAFETY MEASURES AND OPERATION RECOMMENDATIONS
Read the operation manual carefully before using the vacuum cleaner; after reading, keep it for future reference.
- Use the unit for its intended purpose only, as it is stated in this manual.
- Mishandling the unit can lead to its breakage and cause harm to the user or damage to the user’s property, which is not covered by warranty.
- Make sure that the power adapter operating voltage indicated on the label corresponds to the mains voltage.
- Do not touch the power adapter body with wet hands during battery charging.
- Before using the vacuum cleaner it is recommended to charge the battery, and fully charge the battery if you have not used the vacuum cleaner for more than three months.
- Do not charge the rechargeable battery in places with high moisture and high temperature. Charge the accumulator battery at the temperature of +5° C to
+ 35° C and relative air humidity no more than 80%. - Do not leave the plugged-in power adapter unattended.
- Do not use the vacuum cleaner if the dust bin is not installed or installed improperly, or if the separator and the filter block are not installed.
- Do not use the vacuum cleaner if the dust bin is not installed or installed improperly, or if the inlet and outlet filters are not installed.
- Use only the parts and attachments supplied with the unit.
- Do not use the vacuum cleaner outdoors.
- Protect the unit from impacts, falling, vibrations, and other mechanical stress.
- Do not use the unit near heating appliances, heat sources, or open flames.
- Do not use the vacuum cleaner in places where aerosols are used or sprayed, and in proximity to highly inflammable liquids; do not use the vacuum cleaner in the places where such liquids are stored.
- The vacuum cleaner is not intended for collecting water or other liquids.
- Do not use the vacuum cleaner for collecting burning or smoking cigarettes or cinders.
- Do not use the vacuum cleaner for collecting dust from plaster, concrete, flour, or ashes.
- Do not use the vacuum cleaner to clean your pets’ fur.
- When cleaning the room make sure that free-hanging clothing, hair, or other parts of your body are not near the rotation area of the electric brush.
- Close attention is necessary while cleaning the stair landings.
- Do not cover the inlets and outlets of the vacuum cleaner with any foreign objects. Do not switch the vacuum cleaner on if any of its openings are blocked.
- Do not use the power cord as a handle for carrying the vacuum cleaner; carry it by the handle.
- Regularly clean the dust bin and the filters of the vacuum cleaner.
- After you finish using the vacuum cleaner or before cleaning it, switch the unit off with the on/off button.
- For children, for safety reasons do not leave polyethylene bags used as packaging unattended.
Attention! Do not allow children to play with polyethylene bags or packaging film. The danger of suffocation!
- The unit is not intended for use by children.
- Do not leave children unattended to prevent using the unit as a toy.
- Do not allow children to touch the power adapter body during battery charging.
- Be especially careful if children or disabled persons are near the operating unit.
- During the unit operation and breaks between operation cycles, place the unit out of reach of children.
- The unit is not intended for usage by physically or mentally disabled persons (including children) or by persons lacking experience or knowledge if they are not under the supervision of a person who is responsible for their safety or if they are not instructed by this person on the usage of the unit.
- Do not repair the unit by yourself. Do not disassemble the unit by yourself; if any malfunction is detected, and after the unit has been dropped, apply it to the service center.
- To avoid damage, transport the unit in the original package.
- Keep the unit in a dry cool place out of reach of children and disabled persons.
THE UNIT IS INTENDED FOR HOUSEHOLD USE ONLY, DO NOT USE THE UNIT FOR COMMERCIAL OR LABORATORY PURPOSES.
BEFORE THE FIRST USE
- After the unit’s transportation or storage at negative temperature, unpack it and wait for at least 3 hours before using it.
- Unpack the vacuum cleaner, and remove all packaging and advertising materials.
- Keep the original package.
- Read the safety measures and operating recommendations.
- Check the delivery set.
- Examine the unit for damages; if the unit is damaged, do not switch it on.
- Make sure that the specified specifications of the power supply voltage of the power adapter correspond to the specifications of your mains.
ASSEMBLING THE VACUUM CLEANER
- Install the rechargeable battery (9) to the installation place until the lock (10) clicks.
- Press the lock (4) and set the handle (1) to a vertical position, make sure that the handle (1) is fixed with the lock (4).
- Install the «hand vacuum cleaner» into the handle body until the lock (5) activates.
- Install the electric brush (11) (fig. 1), and make sure that the brush (11) is fixed with the lock (8). To remove the electric brush (11), press the lock (8) and remove the brush (11).

- Use the electric brush (11) for cleaning rooms with smooth floors or carpets with medium and low piles.
Notes:
- do not use the electric brush (11) if the pile length exceeds 15 mm.
- do not run the electric brush (11) over electric wires.
- after you finish cleaning the room with the electric brush (11), switch the vacuum cleaner off with the on/off button (2).
- Using additional nozzles (20, 21)
- The nozzles (20, 21) are only used when installed in a «hand vacuum cleaner».
- Press the lock (5) and remove the «hand vacuum cleaner», insert the nozzle (20 or 21) into the air inlet of the «hand vacuum cleaner».
- To switch the «hand vacuum cleaner» on press the button (7), and the light indicator (6) will light up.
- After the operation switch the «hand vacuum cleaner» off by pressing the button (7), and the light indicator (6) will go out.
- Remove the attached nozzle (20 or 21).
- Store the nozzles (20, 21) on the floor stand (15) at the places where they should be installed (16).
BATTERY CHARGING ATTENTION!
- Use only the battery supplied with the unit. Using a non-original battery can be dangerous.
- Do not expose Li-ion batteries to impacts and high temperatures. Do not disassemble the battery to avoid electrolyte leakage.
- Do not throw the battery into the fire.
- Avoid the battery terminals circuit, it may cause burns or fire.
- Do not discard the battery with usual household waste, apply it to a specialized center for further recycling.
- Before using the unit for the first time or after a long period of inactivity, charge the battery.
- Install the vacuum cleaner into the floor stand (15).
- Plug the power adapter (18) plug (19) into the socket
(17) of the floor stand (15). - Insert the power adapter (18) into the power socket, and the indicator (6) will light up and start flashing, when the battery (9) is fully charged, the indicator (6) will be permanently lit up.
- Full charging of the rechargeable battery takes about 4- 5 hours.
- After charging the battery disconnect the power adapter (18) from the mains.
Notes:
- charge the battery (9) at the temperature from + 5°C to +35°C.
- if you didn’t use the vacuum cleaner for more than 2- 3 months, fully charge the battery (9) before using the vacuum cleaner.
USING THE VACUUM CLEANER ATTENTION!
- If the suction capacity of the vacuum cleaner suddenly decreases during cleaning, immediately switch the vacuum cleaner off and check the vacuum cleaner for blockages. You can continue cleaning only after removing the blockage.
- Do not use the vacuum cleaner to collect burning or smoking cigarettes, cinders, plaster or concrete dust, flour, or ashes.
- The vacuum cleaner is not intended for collecting water or other liquids.
- Do not use the vacuum cleaner in places where aerosols are used or sprayed, and in proximity to highly inflammable liquids, do not use the vacuum cleaner in the places where such liquids are stored.
SWITCHING THE VACUUM CLEANER ON Attention! Switch the vacuum cleaner on only with the dust bin (14) installed and the filter block (13) installed in the dust bin.
- Hold the vacuum cleaner by its handle (1) when cleaning and moving the vacuum cleaner.
- For convenience when storing the vacuum cleaner or charging the battery (9) use the floor stand (15).
- To switch the vacuum cleaner on press the on/off button ( 2), and the vacuum cleaner will switch on at a low power level, to turn the maximum power «TURBO» mode on press the button ( 3), to switch the vacuum cleaner off press the button (2).
- The indicator ( 6) lights up while the vacuum cleaner is in operation.
- When the last indicator (6) starts flashing, switch the vacuum cleaner off and charge the battery (9).
CLEANING AND CARE
Attention! Provide that the dust bin (14), and the HEPA filter (13) are always clean because the overall performance of the vacuum cleaner depends on it.
- It is recommended to clean the dust bin (14) after every use of the vacuum cleaner. Regularly clean the HEPA filter (13).
- Press the lock (5) and remove the «hand vacuum cleaner» from the handle body.
- Press the lock (12) and remove the dust container (14) (fig. 2).

- Remove the HEPA filter (13) from the dust container (14) (fig. 3).

- Remove dust and debris from the dust container (14).
- Wash the separator (18) and the HEPA filter (19) under a warm water jet and dry them (pic. 11, 12). Do not dry the HEPA filter (19) with a hairdryer or similar appliances.


- Wash the dust bin flask (17) and dry it (pic. 11).
- Do not wash all removable parts in a dishwashing machine.
Note: Before assembling the dust bin (14) make sure that all removable parts are clean and dry.
Assembling the dustbin
- Insert the HEPA filter (13) into the dust container (14) (fig. 6).

- Install the assembled dust container ( 14) into the «hand vacuum cleaner» until the lock (12) clicks, make sure that the dust container (14) is securely fixed.
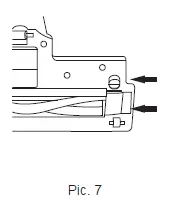
Cleaning the electric brush (11)
- When using the electric brush (11) threads or long hair etc. can wind up around the rotating brush. Keep the electric brush (11) clean, disassemble the brush (11) and clean the round brush as it becomes dirty.
- Remove the electric brush (11) by pressing the lock (8).
- Turn the brush ( 11) over, press the lock and remove the round brush holder, take the round brush out, remove threads and hair wrapped around the brush
(fig. 7).
- Clean the inner and outer surface of the electric brush (11) body from garbage and dust.
Assembling the electric brush (11)
- Insert the left part of the round brush into the body.
- Install the right side of the round brush back in place, and put the round brush holder back in place.
- Make sure the round brush is securely fixed.
- Cleaning the «hand vacuum cleaner» body and foldable handle body
- Wipe the foldable handle body with a slightly damp, soft cloth, then wipe it dry.
- Wipe the «hand vacuum cleaner» body with a slightly damp, soft cloth, then wipe it dry.
- Do not immerse the «hand vacuum cleaner» body, electric brush (11), and power adapter ( 18) in water or any other liquids. Do not allow liquid to get inside the «hand vacuum cleaner» body and the electric brush (11).
STORAGE
- Before storing the vacuum cleaner, clean the body of the foldable handle, «hand vacuum cleaner», dust container (14), and electric brush (11).
- For convenience when storing, use the floor stand (15), to reduce the size of the vacuum cleaner press the lock (4) and fold the handle (1) (fig. 9).

- Keep the vacuum cleaner in a dry cool place out of reach of children and disabled persons.
DISPOSING OF THE BATTERY
- Press the lock (10) and remove the battery (9) (fig. 8), do not dispose of the battery (9) with normal household waste, hand it over to a specialized center for further recycling.

Troubles and troubleshooting
| Problem | Reasons | Solution |
| The vacuum cleaner cannot be switched on. | The battery is fully discharged. | Charge the battery. |
| The suction power decreased. | The dust bin is full. The HEPA-filter is dirty. The round brush in the electric brush does not rotate. The battery is almost discharged. | Clean the dust bin. Clean the HEPA-filter. Clean the electric brush. Fully charge the battery. |
| When the battery is charging, the indicator does not light up. | No voltage in the electrical socket. Power adapter is not plugged in. | Check the power socket by plugging it in a known-good device. |
| The plug of the power adapter cord is not connected to the floor stand socket. | Plug the power adapter into a power socket. Check the connection between the plug of the power adapter cord and the floor stand socket. |
| Short operation time of the vacuum cleaner. | The battery is not fully charged. | Fully charge the battery. |
| The natural aging process of the battery. | The rechargeable battery is a consumable material. After the warranty period expires, the consumer should buy a new battery. |
DELIVERY SET
- Vacuum cleaner (with a foldable handle body) – 1 pc.
- Floor stand – 1 pc.
- Electric brush – 1 pc.
- Additional nozzles – 2 pcs.
- Power adapter – 1 pc.
- Manual – 1 pc.
TECHNICAL SPECIFICATIONS Vacuum cleaner:
- Rechargeable battery: 22.2 V, Li-Ion 2,200 mA/h
- Rated input power: 200 W
Power adapter:
- Power supply: 220-240 V ~ 50/60 Hz
- Output voltage: 26 V 500 mA
- Dust bin capacity: 1 l.
- Operation time at low power is about 55 min.
- Operation time at maximal power is about «TURBO» 12 min.
RECYCLING
To prevent possible damage to the environment or harm to the health of people by uncontrolled waste disposal, after the expiration of the service life of the unit or the batteries (if included), do not discard them with usual household waste, but take the unit and the batteries to specialized stations for further recycling. The waste generated during the recycling of the unit is subject to mandatory collection and consequent recycling in the prescribed manner. For further information about recycling this product, apply to the local municipal administration, a household waste recycling service, or to the shop where you purchased this product. The manufacturer reserves the right to change the appearance, design, and specifications not affecting the general operating principles of the unit, without prior notice.
- The unit operating life is 3 years
- The manufacturing date is specified in the serial number.
- In case of any malfunctions, promptly apply to the authorized service center.





























