
QUICKSTART GUIDE

Accessory list
- Main body
- Power cable hook
- Cleaning pin
- Water inlet connector
- Lance holder
- Lance
- Gun handle
- Hose reel
- Hose reel holder
- 6*Screws
- Hose reel handle
HIGH-PRESSURE WASHER
- Attach the handle to the main body and tighten the screws (2 screws).

- Attach the hose reel holders to the handle and tighten the screws (4 screws)

- Attach the lance holder at the right of the machine,and make sure the head of hose come out from the gag between the handle and main body.

- Enwind the power cable on the power cable hook

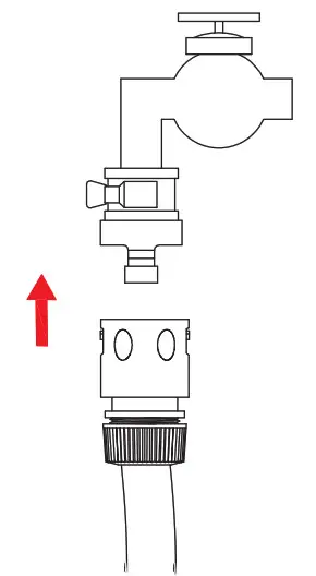
- embedding the pressure hose head into the water outlet and tighten.

- Imbedding the other hose head into the gun handle and its full assembled when there is a “click”.

- Insert the lance into the gunstock hard and contra rotate it.

- Connect the water inlet hose to the water inlet connector

- Connect the power (parameters on label accord with the power grid)

- Connect the other end of water inlet hose to water supply,and make sure inlet pressure is not less than 3 bar

- Start the machine

- Unlock the gun by press the unlock button at the bottom of the gunstock

- Trigger the gun for a while and exhaust the air, the water will flow after seconds. (do not aim the spray directly at people, powered electrical equipment or the machine itself

- Regulate the waterscape (full fan spray and direct stream spray)

- Fill up with suitable detergent.

- tighten the detergent cap.

- Regulate pressure (use detergent in low pressure)

Customer Service:
Free Call: US(877) 756-8666 Mon-Fri : 9AM-5PM (PST) Email: [email protected]
WARM TIP: This quick start guide is not a substitute for owner’s manual, users should read and understand the manual carefully before using the product.
SAFETY TIPS
The pressure washer is a great cleaning tool if used properly and safely. Just like any other piece of equipment, there are safety precautions you need to take when operating the pressure washer, Please follow all caution stickers on the pressure washer and safety tips below:
- Always wear safety goggles and closed-toe shoes, to protect yourself from the possibility of direct spray.
- Always find a flat area for the pressure washer to be placed before starting your project.
- It is always a good idea to test washing a small hidden area first.
- When using the pressure washer, never point the gun at any person or pet.
- When cleaning a wood surface with a pressure washer, make sure you use the proper high-pressure nozzle, or it will damage the wood.
- When using an electric pressure washer, always plug it into a properly grounded GFCI outlet.
- Firmly hold the gun assembly properly, engaging the safety latches when not spraying. The safety latches prevent water from spraying accidentally.
- After turning off the pressure washer, always release any pressure by squeezing the trigger before disconnecting the hoses and nozzles.
- The engine and motor of a pressure washer can get very hot after extended use, so use caution when moving the washer.
- Never allow children to play around a pressure washer when it is in use.
Be aware: It is strictly forbidden to use the machine without water. If the water stops during use, please shut down the machine immediately (the machine can’t run without water for more than 1 minute), otherwise, it will affect the lifetime and even damage the machine.

































