DOMETIC SCT26 Mobile Cooling SC Series

Explanation of symbols
![]() | WARNING! Safety instruction: Indicates a hazardous situation that, if not avoided, could result in death or serious injury. |
![]() | CAUTION! Safety instruction: Indicates a hazardous situation that, if not avoided, could result in minor or moderate injury. |
![]() | NOTICE! Indicates a situation that, if not avoided, can result in property damage. |
![]() | NOTE Supplementary information for operating the product. |
Safety instructions
![]() | WARNING! Failure to obey these warnings could result in death or serious injury. |
Electrocution hazard
- Do not operate the cooling device if it is visibly damaged.
- If this cooling device’s power cable is damaged, it must be replaced to prevent safety hazards.
- This cooling device may only be repaired by qualified personnel.
Improper repairs can lead to considerable hazards.
Fire hazard
- When positioning the device, ensure the supply cord is not trapped or damaged.
- Do not locate multiple portable socket-outlets or portable power supplies at the rear of the device.
Health hazard
- This device can be used by children aged from 8 years and above and persons with reduced physical, sensory or mental capabilities or lack of experience and knowledge if they have been given supervision or instruction concerning use of the device in a safe way and understand the hazards involved.
- Children shall not play with the device.
- Cleaning and user maintenance shall not be made by children without supervision.
- Children aged from 3 to 8 years are allowed to load and unload cooling devices.
Explosion hazard
- Do not store any explosive substances such as spray cans with a flammable propellant in the cooling device.
![]() | CAUTION! Failure to obey these cautions could result in minor or moderate injury |
Electrocution hazard
- Before starting the cooling device, ensure that the power supply line
and the plug are dry. - Disconnect the cooling device from the power supply
– before each cleaning and maintenance
– after every use
Health hazard
To avoid contamination of food, please respect the following instructions:
- Please check if the cooling capacity of the device is suitable for storing the food or medicine you wish to cool.
- Food may only be stored in its original packaging or in suitable containers.
- Opening the cooling device for long periods can cause significant increase of the temperature in the compartments of the device.
- Clean regularly surfaces that can come in contact with food and accessible drainage systems.
- If the device is left empty for long periods:
– Switch off the device.
– Defrost the device.
– Clean and dry the device.
– Leave the lid open to prevent mould developing within the device
![]() | NOTICE! Damage hazard |
- Check that the voltage specification on the type plate corresponds to that of the energy supply.
- Only connect the cooling device to a DC power supply in the vehicle with the DC cable.
- Never pull the plug out of the socket by the cable.
- Disconnect the cooling device and other power consuming devices from the battery before connecting a quick charging device.
- Disconnect the cooling device or switch it off when you turn off the engine. Otherwise you may discharge the battery.
- The cooling device is not suitable for transporting caustic materials or materials containing solvents.
- Do not use electrical devices inside the cooling device unless they are recommended by the manufacturer for the purpose.
- Do not place the cooling device near naked flames or other heat
sources (heaters, direct sunlight, gas ovens etc.). - Risk of overheating!
Ensure at all times that there is a minimum of 50 mm ventilation on all
four sides of the cooling device. Keep the ventilation area free of any
objects that could restrict the air flow to the cooling components.
Do not place the cooling device in closed compartments or areas with none or minimal air flow. - Ensure that the ventilation openings are not covered.
- Do not fill the inner container with ice or fluids.
- Never immerse the cooling device in water.
- Protect the cooling device and cables against heat and moisture.
- The device shall not to be exposed to rain.
Scope of delivery
| Quantity | Description |
| 1 | Thermoelectric cooling box |
| 1 | Thermoelectric cooling box |
Intended use
The cooling box is suitable for cooling food. The cooling box is designed to be operated from a 12 V or a 24 V DC power supply.
The cooling box is intended to be used in household and similar applications such as
- staff kitchen areas in shops, offices and other working environments
- farm houses
- clients in hotels, motels and other residential type environments
- bed and breakfast type environments
- catering and similar non-retail applications
The cooling box is also suitable for:
- use on vehicles
- camping use
The cooling box is not suitable for:
- storage of corrosive, caustic or solvent-containing substances
- freezing of food
This cooling box is not intended to be used as a built-in appliance.
This product is only suitable for the intended purpose and application in accordance with these instructions.
This manual provides information that is necessary for proper installation and/or operation of the product. Poor installation and/or improper operating or maintenance will result in unsatisfactory performance and a possible failure.
The manufacturer accepts no liability for any injury or damage to the product resulting from:
- Incorrect assembly or connection, including excess voltage
- Incorrect maintenance or use of spare parts other than original spare parts provided by the manufacturer
- Alterations to the product without express permission from the manufacturer
- Use for purposes other than those described in this manual
Dometic reserves the right to change product appearance and product specifications.
Technical description
The cooling device can cool products to a maximum of 18 °C under the ambient temperature.
Its cooling system is a non-wearing Peltier cooling, the heat is discharged by a fan.
Control elements
No. in fig. | Description |
1 | USB port for power supply |
2 | Connection cable for DC connection |
3 | Ventilation slots |
4 | Handle |
Operation
![]() | NOTICE! Risk of damage
|
![]() | NOTE
|
Saving energy
- Choose a well ventilated location which is protected from direct sunlight.
- Allow warm food to cool down first before placing it in the cooling device to keep cool.
- Do not open the cooling device more often than necessary.
- Do not leave the cooling device open for longer than necessary.
- If the cooler has a basket: For optimal energy consumption, position the basket according to its position on delivery.
- On a regularly basis, make sure the lid seal still fits properly
Using the cooling device
![]() | NOTE If you connect the cooling device to the cigarette lighter of your vehicle, remember that the ignition must be turned on to supply it with power. |
- Place the device on a firm base.
- Connect the 12 V/24 V DC connection cable (fig.
) to the cigarette lighter or the DC socket in the vehicle
✔ The device starts cooling the interior.
➤ To switch off the cooling device, disconnect the DC connection cable.
USB port for power supply
The USB port (fig.
) allows you to charge small devices like mobile
phones and mp3-players.
Using the USB port does not affect the cooling performance.
![]() | NOTICE! Ensure that any device connected to the USB port is compatible with 5 V/500 mA operation. |
Proceed as follows (fig.
):
- Connect the 12 V/24 V DC connection cable (2) of the cooling device with the power supply.
- Connect your device to the USB port (1).

Cleaning and maintenance
![]() | NOTICE! Damage hazard
|
➤ Occasionally clean the device interior and exterior with a damp cloth.
➤ Make sure that the air inlet and outlet vents on the device are free of any dust and dirt, so that heat can be released and the device is not damaged.
Warranty
The statutory warranty period applies. If the product is defective, please contact the manufacturer’s branch in your country (see dometic.com/dealer) or your retailer.
For repair and warranty processing, please include the following documents when you send in the device:
- A copy of the receipt with purchasing date
- A reason for the claim or description of the fault
Troubleshooting
| Problem | Possible cause | Suggested remedy |
| Your device is not working (plug is inserted). | The inner fan or the cooling element is defective. | The ignition must be switched on in most vehicles to apply current to the DC socket |
| The inner fan or the cooling element is defective. | This can only be repaired by an authorized repair center | |
| When operating from the DC socket: The ignition is on and the cooling device is not working. | The fuse of the DC plug is dirty. This results in a poor electrical contact. | If the plug of your cooling device becomes very warm in the DC socket fitting, either the fitting must be cleaned or the plug has not been assembled correctly. |
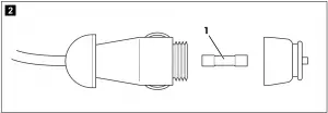
| The fuse of the DC plug has blown. | Replace the fuse (fig. | |
| The vehicle fuse has blown. | Replace the vehicle’s DC socket fuse (usually 15 A). Please refer to the operating manual of your vehicle. |
Disposal
➤ Place the packaging material in the appropriate recycling waste bins, wherever possible.
If you wish to finally dispose of the product, ask your local recycling center or specialist dealer for details about how to do this in accordance with the applicable disposal regulations.
Technical data
CoolFun SCT26 | |
| Connection voltage: | 12/24 V |
| Power consumption: | 47 W (12 V 55 W (24 V |
| Cooling capacity: | max. 18 °C under ambient temperature |
| Total volume: | 26 l |
| Climate class: | N |
| Intended ambient temperature use: | +16 °C – +32 °C |
| Dimensions (W x H x D) in mm: | 396 x 296 x 395 |
| Weight: | ca. 4.0 kg |
| Testing/certification: | ![]() |
YOUR LOCAL DEALER
dometic.com/dealer
YOUR LOCAL SUPPORT
dometic.com/contact
YOUR LOCAL SALES OFFICE
domectic.com/sale-offices
dometic.com
![]()























