Cuisinart CEG-980 Portable Electric Grill Owner’s Manual
You must read this Owner’s Guide before operating your electric grill
This appliance is rated for
- 120volts – 50/60Hz,
- Output: 1500W
- Use only AUONE, type TP-W51-01 temperaturecontrolling plug.
This grill is intended for outdoor household use only. Do not use indoors or for commenercial cooking. Fuel, such as charcoal briquettes, is not to be used with appliance.
The supply cord should be regularly examined for signs of damage and the appliance is not to be used if the cord is damaged.
When using electrical appliances, basic safety precautions should always be followed including the following:
Read all instructions
IMPORTANT SAFEGUARDS
- CAUTION: To ensure continued protection against risk of electric shock, connect to properly grounded three prong GFI outlets only. Do not use a two prong adapter
- Read all instructions.
- WARNING: Use only outdoors, do not expose to rain.
This is to prevent electric shock which can cause serious bodily injury or death. - WARNING: Disconnect appliance from supply circuit before performing maintenance and cleaning.
- WARNING: For protection against risk of electric shock, connect to properly grounded outlets only.
- WARNING: For protection against risk of electric shock, keep extension cord connection dry and off the ground.
- CAUTION: Store Temperature Controller Indoors when not in use.
- Do not clean with metal scouring pads. Pieces can break off the pad and touch electrical parts, creating a risk of electric shook.
- Do not use charcoal in this appliance.
- Do not touch surfaces that may be hot. Use handles or knobs provided.
- To protect against electrical shock do not immerse cord, plugs, protable applicnces (or other specific part or parts) in water or other liquid.
- Close supervision is necessary when any appliance is used by or near children.
- Make sure appliance is OFF and remove plug from outlet when not in use, before putting on or taking off parts, and before cleaning. Allow to cool before handling.
- Do not operate any appliance with a damaged cord or plug or after the appliance malfunctions or is dropped or damaged in any manner. Return appliance to the nearest authorized service facility for examination repair, or adjustment.
- Do not let cord hang over edge of table or counter or touch hot surfaces.
- Where applicable, always attach plug to appliance and check that the control is OFF before plugging cord into wall outlet. To disconnect, turn the control to OFF, then remove plug from wall outlet.
- Do not use appliance for other than intended use.
- Avoid contacting moving parts.
- Fuel, such as charcoal briquettes, is not to be used with appliance.
- To protect against electrical shock do not immerse cord, plugs, portable appliances in water or liquid.
- The use of accessory attachments not recommended by the appliance manufacturer may cause injuries.
- Do not place on or near a hot gas or electric burner, or in a heated oven.
- Extreme caution must be used when moving an appliance containing hot oil or other hot liquids.
- USE ONLY AUONE, TYPE TP-W51 TEMPERATURE CONTROLLING PLUG.
- Household use only.
SAVE THESE INSTRUCTIONS
DANGER
Failure to follow the Dangers, Warnings and Cautions contained in this Owner’s Manual may result in serious bodily injury or death, or in fire or an explosion causing damage to property.
WARNINGS
WARNING: Do not use charcoal or other combustible fuels in this grill. This grill is not designed for charcoal use and a fire could result. The fire could create an unsafe condition and damage to the grill.
- Always plug Temperature Controller into grill before plugging power cord into outlet.
- Do not operate unit if plug receptacle is damaged.
- Operate grill only on a level, stable surface.
- Do not in any way alter this product or its use.
- If using an extension cord it must be rated no less than that of the appliance. Extension cords must be marked with the letter “W” and with a tag stating, “Suitable for use with outdoor appliance”.
- Use shortest length extension cord possible. Do not connect 2 or more extension cords together.
- Do not immerse grill or Temperature Controller in water when cleaning.
- Do not leave Temperature Controller in the ON position during periods of non-use.
- Do not leave grill unattended when in use.
- Keep children and pets away from grill when in use.
- Young children should be supervised to ensure that they do not play with the appliance.
- This appliance is not intended for use by young children or infirm persons unless they have been adequately supervised by a responsible person to ensure that they can use the appliance safely.
- Clean drip tray regularly.
- Locate power cord away from traffic areas. Arrange the cord so that it will not be pulled or tripped over.
- Do not use grill near combustible materials such as dry grass, shrubs, etc.
- Do not allow grill to come into close contact with flammable materials such as paper, walls, draperies, towels, chemicals, etc.
- Do not use as a heater.
- Do not move the grill while it is in use. Allow the appliance to cool before moving, cleaning or storing it.
- Do not use grill when raining or snowing.
- To prevent grill from being splashed or falling into water, do not set grill within 10 feet of any body of water such as a pool or pond.
- Do not operate grill with a Temperature Controller that has a damaged cord or plug. Call The Fulham Group for a replacement Temperature Controller.
The Temperature Controller is made specifically for this grill. - Pulling Temperature Controller by the knob could cause the knob to come off.
- Do not allow cord to touch the grill when it is hot.
- This grill is intended for outdoor household use only. Do not use indoors or for commercial cooking.
- If a flare up occurs, do not use water to put out fire.
Turn grill to OFF. Unplug power cord and wait for grill to cool. - Make sure no other high wattage appliances are plugged into the same circuit when using grill.
- Do not clean this product with a water spray or the like.
- Unplug grill when not in use and cover when cool.
Properly store the appliance indoors when not in use – out of the reach of children. - Use this grill only as described in this manual. Any other use not recommended in this manual may cause fire, electric shock, or injury to persons.
- Always ensure that electrical socket being used has the correct rating. Socket must be rated no less than 120V AC, 13Amps.
- This appliance conforms to technical standards and the safety requirements for electrical devices.
- The dip tray must be in place at all times during grill operation.
- Do not build this model of grill in any built-in or slide-in construction. Ignoring this warning could cause a fire or an explosion that may damage property or cause serious bodily injury or death.
Illustrated Parts List

4 5 North American Distributor: The Fulham Group, Newton, MA 02466
Exploded Diagram

| 1 | Lid | 15 | Probe Decoration Panel | 30 | Decoration Panel |
| 2 | Lid Handle Base Assy | 16 | Lock Handle | 31 | Upper Leg |
| 3 | Lid Handle | 17 | Probe Assembly | 32 | Button |
| 4 | Hook | 18 | Firebox Assembly | 33 | Sliding Lock |
| 5 | Lid Inner Panel | 19 | Lock Spring | 34 | Spring |
| 6 | Cooking Grate | 20 | Lock | 35 | Button Spring |
| 7 | Upper Part Lid Hinge | 21 | Drip Pan Assembly | 36 | Lower Leg Fixing Part |
| 8 | Stopper | 22 | Drip Tray Right Bracket | 37 | Upper Leg Fixing Part |
| 9 | Heating Element | 23 | Drip Tray Left Bracket | 38 | Lower Leg End Cap |
| 10 | Lid Cushion | 24 | Leg Assembly Bracket | 39 | Lower Leg |
| 11 | Lower Part Lid Hinge | 25 | Stop Panel | 40 | Left Foot |
| 12 | Lid Hinge Pin Assembly | 26 | Upper Leg End Cap | 41 | Right Foot |
| 13 | Reflector Assembly | 27 | Upper Leg Pin | 42 | Rubber Feet |
| 14 | Control Panel Assembly | 28 | Upper Leg Holder | 43 | Probe Guard |
| 29 | Pin |
Assembly Instructions
Remove all the contents from packaging, and make sure all parts are present before attempting to assemble!
Step 1: Attach Feet
Put the left foot and right foot on the lower leg as illustrated. The feet and legs have color coded arrows on them. When properly aligned, two arrows of the same color will be pointing at each other.

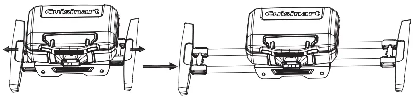
Step 2: Extend Legs to mid position.
Move the left foot and right foot as illustrated until the end.

If only mid height is desired, skip to step 4.
Step 3: Extend legs to high position
Push the button and pull the legs out until the end.

Step 4: Lift Grill to Height
Hold both sides of the chassis and lift up until the legs standing on the ground.

Step 5:
Put the grill down and check if the legs are in the position as illustrated.

Step 6: Put the Drip Tray to the correct position as shown.

Step 7: Put the probe into the correct position in the frame as shown.

To Collapse grill
Step 1: Wait for Grill to cool completely
Step 2 : Be sure gas bottle or supply hose is disconnected
Step 3 : Place one foot on each grill foot and lift grill chassis upwards to unlock legs

Step 4: While holding grill off the ground,swing the legs apart and lower the grill slowly at the same time, continue until grill is flat on the ground with legs to the sides

Step 5: Push legs inward toward grill chassis. You must push the leg release button (as shown) to collapse legs under grill

WARNINGS
- Any modification of the appliance may be dangerous.
- Visually inspect cord, plug and Temperature Controller for damage and wear before operation.
- When heating the grill for the first time, it may give off a slight burning odor. The grill is burning off excess lubricants found on the heating element. This does not affect the safety of your grill.
- To prevent fire or electric shock, always use a certified electrician should new circuits or outlets be required.
- Improperly grouded outlets could cause electrical shock.
- The use of an extension cord is not recommended. If you must use an extension cord, use the shortest length extension cord possible. Do not connect 2 or more extension cords together. Keep connections off the ground and dry. Do not let cord hang over edge of table top where it can be tripped over or pulled by children. Only use extension cord labeled for outdoor use.
- Cover grill or store in weather protected area when not in use.
- Clean the grate and cookbox between uses.
- Warning: Do not use the barbecue within 60 cm (24in) of combustible materials from the back or sides of the grill. Do not use under any combustible construction.
- Warning: The entire cooking box gets hot when in use.
Do not leave unattended. - Warning: Keep any electrical power cord away from any heated surface.
- Warning: Keep the cooking area clear of inflammable vapors and liquids such as petrol, kerosene, alcohol, etc., and other combustible materials.
- Warning: When cooking, the appliance must be on a level, stable surface in an area clear of combustible material.
- Warning: Keep cord clear of cookbox.
OPERATING INSTRUCTIONS
Dangers
- Place the grill on a stable, non-combustible surface
- Do not use indoors, or in a recreational vehicle or on a boat
- Ensure temperature controller is plugged fully into grill before proceeding
Cooking
- Open lid
- Ensure cooking grate is properly positioned in grill, and that firebox is free from debris.
- Preheat grill
- Turn knob clockwise to MAX. Red light indicates that power is on.
- Close lid and allow grill to heat for 5-10 minutes (longer in clod weather)
- When beginning to cook, a lower temperature may be selected by turning knob counterclockwise.
- When cooking is complete, turn knob counter clockwise to OFF. Unplug temperature controller. See storage section for additional requirements.
CLEANING
Cleaning the outside surface:
- Wipe surface grime off with a clean cloth and mild dishwashing detergent or baking soda.
- For stubborn surface dirt, use warm soapy water solution and a nylon scrubbing brush.
- Clean the rinse with water.
- Allow surfaces to dry fully before use.
Cleaning the Heating Element:
- Ensure the grill is unplugged from the power source and the temperature control unit is removed.
- Remove the cooking grate.
- Remove the heating element by unscrewing the wing nuts and lifting the element out.
- Gently clean the heating element with a damp cloth. Do not scratch the element’s surface or immerse in water.
- Reinstall the heating element.
- Inspect the temperature controller and the power cord for by any possible damage, and then reinstall.
Any other servicing should be performed by an authorized service representative.
STORAGE
STORAGE AND/OR NON-USE
During periods of non-use, the Temperature Controller with power cord should be in the “OFF” position. Store grill indoors.
OPERATING
WARNING: The grill must not be used upon any combustible surface such as dry grass, shrubs, etc.
WARNING: The grill is not intended for installation in or on recreational vehicles, SUVs and/or boats.
WARNING: To protect against electrical shock, do not immerse any part of this appliance in water or any other liquid.
Outside surface – Use a warm soapy water solution to clean , then rinse with water.
WARRANTY and REPLACEMENT PARTS
This warranty covers defects in parts and workmanship for a period of 3 years from the original purchase date. Any damage claim regarding the enameling must be submitted within 30 days of purchase to be covered by the warranty.
The following conditions are NOT covered by this warranty:
- Unevenness and color variations in the enamel coating.
- Damage caused by improper assembly or disregard of the manual.
- Use of spare parts not supplied by manufacturer.
- Damage resulting from modifications or inappropriate use.
- Abuse of the grill
- Damage caused by improper maintenance or repairs by an unauthorized person.
Limitations and exclusions:
- This warranty applies only to the original purchaser and may not be transferred.
- If you can not verify the purchase date of the grill the warranty period will begin on the date the grill was manufactured.
- Replacement or repair parts are warranted for the remaining period of the original part warranty.
Your obligations:
This grill must be assembled, installed, operated and maintained in accordance with all applicable codes and the instruction manual furnished with this grill. You must keep an invoice, cancelled check or payment record to verify the purchase date of the grill.
For troubleshooting, FAQs or customer service, visit us at www.cuisinartgrilling.com/customerservice or contact us at 1-866-994-6390
To order replacement parts or additional Cuisinart Grilling products, visit us at www.cuisinart.com or call 1-800-211-9604
Model# CEG 980
North American Distributor:
The Fulham Group
Newton, MA 02466


















![Cuisinart Deluxe Two Burner Gas Grill [gas0256as, Gas0256aso] User Manual Cuisinart Deluxe Two Burner Gas Grill [gas0256as, Gas0256aso] User Manual](https://static-data1.manualsee.com/1/img/348/18043/2020/12/Cuisinart-Deluxe-Two-Burner-Gas-Grill-GAS0256AS-GAS0256ASO-.png)
