Portable Power Station
Model:AP-SS-009 (Monster X)
- Keep Monster X and the accessories dry and keep them away from the heat sources.
- Never disassemble, puncture, shock, crash, short-circuit or incinerate.
- Recycle and dispose of Monster X following the local regulation.
- Pay attention to the IMPORTANT SAFETY INSTRUCTIONS on the manual before operating/handling.
- Disabled children should use Monster X under the protection of the supervisor.
The products and materials described in this manual will be changed at any time due to technical upgrades, we reserve the right to change the contents of this manual without information in advance.
Thanks and congratulations on your solar generator purchase, a plug-and-play backup power station for powering outdoor. The Monster X will be partially charged in accordance with lithium-ion shipping regulations. Before you read the rest of the manual, please plug it into the wall and charge it fully with the AC charging cable.
IMPORTANT SAFETY INSTRUCTIONS
BEFORE using this product, you must read this instruction to fully understand the function of the product. In particular, you should follow this important SAFETY INSTRUCTION MANUAL. Improper operation may cause product failure, and in serious cases may cause safety issues. Suggest the user read this manual and understand the important safety precautions (including safety guidelines, safety terms during use and operation, daily maintenance terms, etc.). Otherwise, we WILL NOT RESPONSIBLE for the damage caused by the wrong method.
Special Note: check the voltage and power on your electronic device to ensure compatibility before connecting your devices. (Before using the AC output port, please make sure that the rated power of your electronic device does not exceed 2000W, and the peak power does not exceed 3300W. Normally, users can find the relevant power parameters on the parameter label.
- If the product needs maintenance or repair, please send this product to a qualified service provider. DO NOT disassemble or modify any part of this product without our guidance. Wrong assembly may cause accidents such as fire or electric shock. Unauthorized assembly will invalidate your warranty.
- This product has no waterproof function. Please avoid using it humid environment. DO NOT pour any liquid into this product or immerse this product in any liquid.
- If you find abnormal phenomena such as swelling or leakage of the internal battery, please contact our after-sales team in time for further assistance.
- D0 NOT install or remove any internal battery from this product.
- Please avoid using this product in the presence of strong electromagnetic or electrostatic interference, otherwise, it may cause the failure of the battery control circuit board.
- If the product accidentally falls into the water during use, please DO NOT directly salvage it by hand. Use insulating materials to take it out of the water. Turn off the power immediately and place it in a safe open area. Keep a safe distance from the product. Contact our after-sales team for further solutions. DO NOT use this product again unless you receive operating instructions from us.
- D0 does NOT use this product with damaged wires, plugs, etc.
- Charge the generator in a well-ventilated place, and DO NOT obstruct air circulation.
- D0 NOT drop, place heavy objects on it, or hit the product. DO NOT step on or sit on the product.
- D0 NOT put your fingers, palms, or any part of your body into this product, especially to avoid storing this product with coins, jewelry, keys, and other metal objects to avoid short circuits.
- Do NOT throw this product into fire or heat it; DO NOT use or store it in a high-temperature place (near the fire source, stove, the car during the hot season, or under sunlight directly), otherwise, it may cause overheating issue, or on fire, explosion or malfunction. (When using solar panels for charging, DO NOT cover this product with blankets or clothing, and place it in a cool and ventilated place).
- This product can be widely used. It will need regular simple cleaning and maintenance. You can wipe it with a dry non-abrasive cloth. If you need a deep clean, we recommend you choose a neutral cleaner for mobile phone and computer displays.
- If leaks inside the product and adheres to the skin or clothing, please wash it with water immediately. If it accidentally splashes into the eyes, DO NOT rub them, rinse with water, and do the medical attention immediately.
- DO NOT use flammable gas such as insecticide spray near this product, it may cause a fire.
- DO NOT use this product with a wet hand or wipe it with a wet cloth, which may cause electric shock.
Product List

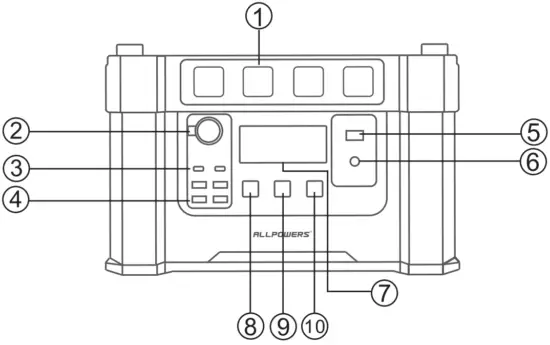
Get to Know Your Generator

- 4x Universal AC Output Sockets Different countries may require different voltage and frequency from AC sources.
- 1 x 12V Car Port Outlet
- Type-C1 Output (PD 27W Fast Charging) / Type-C 2 In/Out(PD 60W Fast Charging)
- 4 x USB-A Outputs (QC3.0 Quick Charging)
- Solar Input(Anderson Power-pole connector)
- DC Input Port(05521)
- LCD Display
- Power Button: short press to power it ON/OFF and check the remaining battery. When it is ON, press 3 seconds until you see the “
” icon on the LCD, you will enter/exit Bluetooth Mode, scan OR code to download our APP, and do the registration, you can communicate it with your Phone via Bluetooth from now on. - Master for AC Mode: when it is powered on, press and hold for 3 seconds and you will see the icon light up which means AC power is ready for use, in the meantime, a cooling fan will start running. For some countries, you may need to switch between 50/60Hz on APP after the AC mode is on, please ensure it is on no-load condition.
- Master of DC mode (USB-A, Type-C 1,12V car Outlet): click on the DC button to switch on/off the DC mode and you will see both USB-A and 12V car outlet icons light up. Type-C 1 icon appears when there is a device added to Type-C 1 port. ( Type-C 2 output port is always alive and ready for use, no power master is needed.)
A long press on the DC button could help to disable/ resume the sound of the button.

Real-time LCD Displays

| *Battery Segments(Five battery segments, 20% of battery for each segment.) | |
![]() | *Battery Percentage |
| *In/Out Power (Here shows the power in or power out, or “power in-power out” if you charge and discharge at the same time) | |
| *50/60Hz(For some countries, you may need to switch between 50/60Hz on APP after the AC mode is on.) | |
| *Time remaining (only estimated time. The remaining time will vary from the appliances you use ) | |
| *Overload Alarm: when the power output from any DC or AC socket and the carport exceeds the maximum power output, the overloaded alarm will start to blink as a warning. (Remove the device and restart the Monster X to resume operation. ) | |
| *Over-temperature Alarm: the system will be in a safe mode if the AC inverter temperature goes up to 95°C, AC outlets will be shut down automatically, please wait for a few minutes till the system cools down before restarting it. | |
![]() | *AC Output Icon: when power on, press and hold the AC master for 3 seconds to enable AC outlets, the AC icon will come on. (Be sure to turn off AC mode by pressing and holding the AC master for 3 seconds when you finish each time, then remove the cord from AC ports, otherwise, it causes approx.l0-15 W power loss. ) |
| *TYPE-C output mode icon: when using the USB TYPE-C port to charge your devices, the icon of TYPE-C on the display lights up. The icon will disappear when you unplug the cord from the TYPE-C port, for Type-C 1, make sure the DC master is switched on. | |
| *Output icons for USB-A ports and 12V Car Port: a short press is needed to turn on/off the | |
| DC outputs and you will see both USB-A and 12V car port icons light up on LCD. | |
| *Bluetooth Mode (Bluetooth Model: MS48SF2 4.0 BLE ) | |
![]() | *Once the fan is operating, this icon lights up. |
Warm Tips:
- To enable AC outputs, we need to ensure the battery never drops below 10% (no lower than 5% for DC outputs), this is designed purposefully to help prolong the battery life, so your Monster X is always ready for use when you need it.
- To save energy loss, please exit all modes and turn off the LCD display after every use. When Power is Off, the microelectronics control circuit runs into a standby mode, and the battery drops down a little if it is not in use for the half-year.
APP
It turns green when Bluetooth is successfully connected.

Turn on Bluetooth on your phone and make sure Location Service is on.
Press to light up the LCD, then press and hold for 3 seconds to enable Bluetooth
Click on the top-right Phone icon from APP and select” ALLPOWERS 52000″ from the pairing list. Your devices can pair automatically while you pair the same Bluetooth device for the second time.
In normal use, the effective range for Bluetooth is 10-15M, but the surroundings indoor can vary a lot as obstacles like a concrete wall will attenuate the signal and the effective range may be drastically reduced. We suggest trying it outdoor, in an open field.
![]() | ![]() |
| http://cn.allpowers.net/apk/allpower.html | https://itunes.apple.com/app/id1440262480 |
How can I recharge my Monster X?
- Charging it from wall sockets: there is an AC input socket behind for charging, please do use the AC charging cable we provided, any non-original one might shorten its service life. (Up to 400W input power, it will take approx. 6 hours to fully charged.)
Note: we also can charge it via the front 0 5521 input port with a certificated third-party DC power adapter as long as the voltage and current(12-36V 7A Max) comply with the specifications of the Monster X. (Up to 200W input power, approx. 9-10 hours to fully charge.) - Charging from ALLPOWERS foldable solar chargers(Model: AP-SP-027)or other certificated third-party solar panels via the Anderson power-pole port on the front, keep in mind that solar charging results can be significantly affected by variables (Weather, shading, etc). Users can connect2 to 3 pieces of 100W panels, the voltage from your panel should not exceed 36V. If you want to use solar panels of other brands and if the damage was caused by using the solar panel of other brands, users should take the responsibility even though it is within the warranty period.
Attention: although we get an average of 7-8 hours of daylight a day, the Peak Sun Hours are generally around 4-5 hours only. so most panels usually harvest approx. 60%of their specified sun energy a day, to help the panels work optimally, we suggest users should have no more than 3 pieces of 100W panels (Model: AP-SP-027) chained in parallel. (Up to 200W per hour, approx. 9-10 hours to the full battery)

Specifications:
Battery
Lithium-Lion batteries
Capacity: 405405mAh3.7V(1500Wh)
Weight: approx. 14.5kg
Size: 375 X 245 x 250 mm / 14.76 X 9.64 X 9.84 inch
Input
AC Input: 400W(Max. 100-240V)
Input DC Input : 200W( 12-36V, 7A Max.)
Solar Input: 200W(12-36V, 7A Max.)
Output
AC Output: continuous 2000W, surge 3300W(Pure Sine Wave)
13V Car Port: 13V10A
TYPE-C1 (Left): 5V3A/9V3A/12V2.25A(PD 27W Max.)
TYPE-C2 (Right): 5V3A/9V3A/12V3A/15V3A/20V3A(PD 2-Way 60W Max.)
USB1/USB3: 5V3.5A/9V2.5A/12V2A
USB2/USB4: 5V3.5A/9V2.5A/12V2A
USB1+USB3/USB2+USB4: 5V2.4A+5V2.4A
Temperature
Working temperature:-20~45(°C)
Temperature Over temperature charging protection:65°C~45ºC
For long-term storage, please do avoid storing outside, or in humid environments.
Protections
Over-current /Under-voltage/Over-charge /Over-load /Short-circuit /Over-heating protection
Note: USBI/USB3 supports QC 3.0 fast-charging standard which means a single port allows you to power up to 24W at maximum for devices, but they will be degraded to a normal output level of 5V/2.4A at maximum if deliver power for dual devices at the same time.
Storage and Maintenance:
- Due to the chemical characteristics of the battery, the battery performance may somewhat vary from environment to environment such as cold weather or overheating. Please always use it at room temperature(-20-45°C).
- Continuously discharging the battery below 5-10% and storing it with a low battery may reduce its serviceable life. Recommended to always leave it at least 20% capacity unused. (Suggest to fully recharge it at least once every 90 days for maintaining the best performance, reliability, and longevity.)
- Please store your Monster X in a dry environment and do avoid storing it outdoor or in a wet place. Storing Monster X outside, and operating it out of the temperature range, might cause safety issues and reduce the service life.
- Please handle it carefully and avoid hitting it with sharp objects or knocking heavily on it.
Contact Us
If you have any concerns regarding our products or services, please email us at [email protected], we will feedback with our assistance within 1 working day. Please also advise us by providing a statement of how the failure occurred and the details of the issue. Website: www.iallpowers.com





Note: we also can charge it via the front 0 5521 input port with a certificated third-party DC power adapter as long as the voltage and current(12-36V 7A Max) comply with the specifications of the Monster X. (Up to 200W input power, approx. 9-10 hours to fully charge.)














