COSA CX30-5B Ceiling Fan

Safety Precautions
- Installation and maintenance work should only be performed by qualified individuals who are familiar with local codes and regulations and experienced with this type of appliance.
- Field wiring must be installed in accordance with national wiring regulations.
- Ensure that the rated voltage of the unit corresponds to that of the nameplate before commencing wiring work according to the wiring diagram.
- The appliance must be permanently connected to the electricity supply through a double pole switch having a contact separation of at least 3mm in all poles.
- The unit must be grounded to prevent possible hazards due to insulation failure. The earth wire is approximately 60mm longer than the safety wire. This is to ensure that in the event that the suspension system fails, the (L) and (N) wires will break, leaving the fan to remain earthed to prevent electrocution.
- Tighten the blade firmly using a screwdriver. Blades that are detached from the unit during operation will cause serious injuries and property damage.
- This appliance is not intended for use by persons (including children) with reduced physical, sensory, or mental capabilities, or lack of experience and knowledge unless they have been given supervision or instruction concerning the use of the appliance by a person responsible for their safety.
- Children should be supervised to ensure that they do not play with the appliances.
- Confirm that the power supply has been switched off before installing or servicing the unit. Ensure that the blade is fully static before doing any maintenance work.
- STOP using the ceiling fan when any abnormality or failure occurs. If unusual oscillating movement is observed, immediately stop using the ceiling fan and contact the manufacturer, its service agent, or suitably qualified persons.
Usage Instructions
- Ensure that the ceiling fan is installed by a qualified person who is familiar with local codes and regulations.
- Confirm that the rated voltage of the unit corresponds to that of the nameplate before commencing wiring work according to the wiring diagram.
- Ensure that the appliance is permanently connected to the electricity supply through a double pole switch having a contact separation of at least 3mm in all poles.
- The unit must be grounded to prevent possible hazards due to insulation failure.
- Tighten the blade firmly using a screwdriver to avoid detachment during operation.
- Do not allow children to play with the appliance.
- Before servicing or installing the unit, confirm that the power supply has been switched off and that the blade is fully static.
- Stop using the ceiling fan when any abnormality or failure occurs. If unusual oscillating movement is observed, immediately stop using the ceiling fan and contact the manufacturer, its service agent, or suitably qualified persons.
Safety Precaution
STOP using the ceiling fan when any abnormality or failure occurs. If unusual oscillating movement is observed, immediately stop using the ceiling fan and contact the manufacturer, its service agent or suitably qualified persons.
CAUTION
Please take note of the following important points when installing.
- The fixing means for attachment to the ceiling such as hooks or other devices shall be fixed with sufficient strength to withstand 4 times the weight of the ceiling fan.
- The mounting of the suspension system shall be performed by the manufacturer, its service agent, or suitably qualified persons.
- The fan is to be installed so that the blades are more than 2.5m above the floor.
The safety cord should not be longer than the earthing conductor.
Should the failure of the suspension system occur, the support of the fan must not rely on the earthing conductor. The earthing terminal in the fan assembly should be such that should any part of the suspension system fall off, the body of the fan assembly shall be effectively earthed.
Ensure that the unit’s panel is closed after service or installation.
Unsecured panels will cause the unit to operate noisily.
Sharp edges and coil surfaces are potential locations that may cause injury hazards. Avoid from being in contact with these places.
Before turning off the power supply set the remote controller’s ON/OFF switch to the “OFF” position.
- If this is not done, the unit’s fans will start turning automatically when power resumes, posing a hazard to service personnel or the user.
- Do not operate any heating apparatus too close to the ceiling fan unit or use it in a room where mineral oil, oil vapor, or oil steam exists, this may cause the plastic part to melt or deform as a result of excessive heat or chemical reaction.
- Avoid the ceiling fan unit from exposing to direct sunlight, this may cause degradation of plastic material as a result of excessive heat and UV radiation.
- Ensure the color of the wires of the outdoor unit and the terminal markings are the same as the indoors respectively.
- Do not use joined and twisted wires for incoming power supply.
- Do not place any object in the path of the blades. Avoid raising objects or your arms near the ceiling fan.
- The fan suspension system and blade screw tightening shall be examined yearly.
- Replacement of parts of the safety suspension system device shall be performed by the manufacturer, its service agent, or suitably qualified persons.
- The torque value for screws/bolts for securing the primary suspension system for the motor is 2Nm.
Parts & Accessories


Installation Instructions
IMPORTANT: SWITCH OFF THE ELECTRICAL MAINS AT THE CIRCUIT BREAKER FUSE BOX.
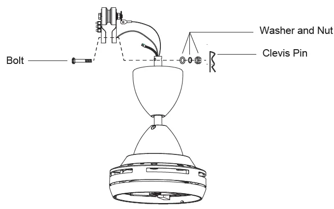
Step 1 – Fix the Rubber Pulley Assembly to the Downrod with Bolt, Washer, and Nut and tighten them firmly, then insert the Clevis Pin.

Step 2 – Remove the Bolt, Clevis Pin, Nut, Washer, and Rubber Pulley from the Downrod. Place the Rubber Pulley onto the ceiling hook and fix back the Bolt, Clevis Pin, Nut, and Washer.
IMPORTANT: Clevis Pin MUST be inserted to prevent the Nut from loosening.

Step 3 – Remove the Safety Wire screw and spring washer from the Downrod.
IMPORTANT: Clevis pin MUST be inserted to prevent the Nut from loosening.

Step 4 – Tie the Safety Wire across the hook as shown.

Step 5 – Firmly screw the Safety Wire with the spring washer onto the Downrod.

Step 6 – Connect the Connectors from Fan and Receiver. Connect the wires from the receiver to House’s Supply Wire. Connect Earth Wire to House Supply Earth Terminal.

Step 7 – Install the Blades on the Motor with Blade Screw and Washer. Install the Lamp Shade by twisting in.
IMPORTANT: Assemble the Fan Blades only after the ceiling fan is mounted on the hook.

Below shows a complete installation diagram.

Transmitter Learning Process
IMPORTANT: DO NOT CONNECT THIS REMOTE CONTROL CEILING FAN TO DIMMER SWITCH OR REGULATOR.
The receiver & transmitter is pre-programmed in the factory. If you wish to control 2 or more fans using 1 transmitter, the below steps are required.
DO NOT PRESS ANY OTHER BUTTON DURING THIS PROCESS
Step 1
- Insert the 2 pcs of batteries (provided) into the transmitter.
- Turn on the power supply (wall switch) to the fan.
- Within 10 sec, press and hold the “1” and “2” buttons for 3 sec. Once the receiver has detected the frequency, the transmitter will “Beep Beep” twice. The programming process is completed and the fan is ready to use.
If the fan is not responding to the transmitter, repeat Step 1b.
Transmitter
IMPORTANT: DO NOT CONNECT THIS REMOTE CONTROL CEILING FAN TO DIMMER SWITCH OR REGULATOR.
Function of Transmitter

- 1 to 5 – Fan speed control
- OFF – Off the fan
- 1H – Fan stops after 1hr
- 3H – Fan stops after 3hr
- 6H – Fan stops after 6hr
Light on/off & select LED color
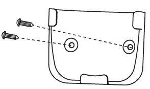
- Mount the remote control holder on the wall with the screws provided.

The transmitter & receiver is incorporated with the last memory function. This function stores your last setting in memory and the next time you turn on the fan, the fan will operate as the last setting.
Power Supply Connection

IMPORTANT: DO NOT CONNECT THIS REMOTE CONTROL CEILING FAN TO THE REGULATOR OR DIMMER SWITCH.

Circuit Diagram

Maintenance
Due to the fan’s natural movement, connections may get loose after a period of usage. To ensure proper and safe usage, it is highly recommended to inspect and tighten all connections every 6 months.
Cleaning
Cleaning your fan periodically will prolong its new appearance. Basic cleaning procedures are as follows:
- Use only water and mild soap. Do not use solvents, corrosive or acidic solutions.
- Damp the cloth lightly. Use only soft or lint-free cloth to clean the fan. Rough fabric will scratch the surface.
- Do not bend the blades while cleaning. In the event that blades are bent or damaged, order a new set of blades from the service center or dealer shop.
- There is no need to oil the fan.
Technical Specifications
- Model: CX30-5B/30 LED
- No. of Blades: 5
- Fan Width: 762mm (30”)
- Motor R.P.M: 106 – 262
- Voltage: 220V-240V~ 50Hz
- Motor Wattage: 10W – 60W
- LED Wattage: 24W
- Nett Weight: 4.9kg

Customer Service Centre
If you need any technical assistance or a faulty report, please contact our customer service centre at :
Alpha Home Appliances Sdn. Bhd. (390258-H)
- Head Office : 6, Jalan Sungai Kayu Ara 32/37, Berjaya Park, Section 32, 40460 Shah Alam, Selangor.
- Tel : 03-5740 6666 Fax : 03-5740 8220
- Website : www.alphamalaysia.com. Email : [email protected].
- Johor Bahru : 71, Jalan Molek 3/10, Taman Molek, 81100 Johor Bahru.
- Tel : 07-353 4833 / 4933 Fax : 07-355 4233
- Melaka : 19, 19-1 & 19-2, Jalan KSB 11, Taman Kota Syahbandar, 75200 Melaka.
- Tel : 06-292 6292 / 6293 Fax : 06-292 6296
- Ipoh : 16, Jalan Tasek Timur, Taman Tasek Indra, 31400 Ipoh, Perak.
- Tel : 05-545 2282 / 547 2282 Fax : 05-547 6282
- Penang : 28, Jalan Icon City, Icon City, 14000 Bukit Mentajam, Penang.
- Tel : 04-506 2366 / 2066 / 2566 Fax : 04-506 2966
- Pahang : A131, TK1, Jalan Wang Ah Jang, Taman Liza, 25100 Kuantan, Pahang.
- Tel : 09-516 5226 Fax : 09-513 9226



















