Makita XSU03 Cordless Garden Sprayer

Instructions
| 1 | Head switch cock | 2 | Extension nut | 3 | Handle | 4 | Measuring cup |
| 5 | Spray wand bracket | 6 | Shoulder strap | 7 | Battery cover | 8 | Adjustable spray head |
| 9 | Spray wand | 10 | Lever | 11 | Hose | 12 | 5L tank |
| 13 | Indicator lamps | 14 | On/off switch | 15 | Spray wand holder | 16 | Locking lever |
| 17 | Hook (for attaching the spray wand) | – | – | – | – | ||
SPECIFICATIONS
| Model | XSU03 | |
| Rated voltage | D.C. 18 V | |
| Tank capacity | 5 L (1.3 Gal.) | |
| Hose length | 1.7 m (67″) | |
| Total extendable length | 50 – 70 cm (19-3/4″ – 27-1/2″) | |
| Nozzle type | 2-Head (Switchable to 1 head) | |
| Max. working pressure | 0.3 MPa | |
| Working pressure with standard nozzle | Max. | Approx. 0.26 Mpa |
| Min. | Approx. 0.13 Mpa | |
| Flow rate with standard nozzle | Max. | Approx. 0.91 L/min (0.24 GPM) |
| Min. | Approx. 0.47 L/min (0.12 GPM) | |
| Nozzle fitting screw | G 1/4″ | |
| Dimensions (L × W × H) | 343 × 182 × 368 mm (13-1/2″ x 7-1/8″ x 14-1/2″) | |
| Net weight | 3.2 – 3.5 kg (7.1 – 7.7 lbs) | |
- Due to our continuing program of research and development, the specifications herein are subject to change without notice.
- Specifications may differ from country to country.
- The weight may differ depending on the attachment(s), including the battery cartridge. The lightest and heaviest combinations, according to EPTA-Procedure 01/2014, are shown in the table.
Applicable battery cartridge and charger
| Battery cartridge | BL1820B / BL1830 / BL1830B / BL1840B / BL1850B / BL1860B |
| Charger | DC18RC / DC18RD / DC18RE / DC18SD / DC18SE / DC18SF / DC18SH |
- Some of the battery cartridges and chargers listed above may not be available depending on your region of residence.
WARNING: Only use the battery cartridges and chargers listed above. Use of any other battery cartridges and chargers may cause injury and/or fire.
WARNING: Do not use a corded power supply such as battery adapter or portable power pack with this machine. The cable of such power supply may hinder the operation and result in personal injury.
Symbols
The followings are symbols used for the equipment. Be sure that you understand their meaning before use.
![]() | Wear ear protection. | ![]() | Warning |
![]() | Wear a breathing mask. | ![]() | Wear eye protection. |
![]() | Wear safety footwear. | ![]() | Wear protective gloves. |
![]() | Do not use in the rain or leave the sprayer outdoors while raining. | ||
![]() | Read instruction manual. | ||
![]() | volts | ||
![]() | direct current | ||
Important safety instructions
WARNING: When using electric gardening appliances, basic safety precautions should always be followed to reduce the risk of fire, electric shock, and personal injury, including the following.
READ ALL INSTRUCTIONS
- Avoid Dangerous Environment – Do not use appliances in damp or wet locations.
- Don’t Use In Rain.
- Keep Children Away – All visitors should be kept at a distance from work area.
- Dress Properly – Do not wear loose clothing or jewelry. They can be caught in moving parts. Use of rubber gloves and substantial footwear is rec-ommended when working outdoors. Wear protec-tive hair covering to contain long hair.
- Use Safety Glasses – Always use face or dust mask if operation is dusty.
- Use Right Appliance – Do not use appliance for any job except that for which it is intended.
- Avoid Unintentional Starting – Do not carry appliance with finger on switch. Be sure switch is off before inserting battery pack.
- Do not Force Appliance – It will do the job better and with less likelihood of a risk of injury at the rate for which it was designed.
- Do not Overreach – Keep proper footing and balance at all times.
- Stay Alert – Watch what you are doing. Use com-mon sense. Do not operate appliance when you are tired.
- Store Idle Appliances Indoors – When not in use, appliances should be stored indoors in dry, and high or locked-up place out of reach of children.
- Maintain Appliance With Care – Keep cutting edge sharp and clean for best performance and to reduce the risk of injury. Follow instructions for lubricating and changing accessories. Keep han-dles dry, clean, and free from oil and grease.
- Check Damaged Parts – Before further use of the appliance, a guard or other part that is damaged should be carefully checked to determine that it will operate properly and perform its intended function. Check for alignment of moving parts, binding of moving parts, breakage of parts, mounting, and any other condition that may affect its operation. A guard or other part that is damaged should be properly repaired or replaced by an authorized service center unless indicated elsewhere in this manual.
Cordless Garden Sprayer Safety Warnings
WARNING: Risk of fire or explosion. Do not spray flammable liquids such as gasoline. Look for this symbol reference on the container.
WARNING: Some spray created from products used with the sprayer contains chemicals known to cause cancer, birth defect of other reproductive harm. Some examples of these chemicals are:
- Compounds in fertilize
- Compounds in insecticides, herbicides, and pesticides;
- Arsenic and chromium from chemically treated lumber. Follow directions on containers of all such products. To reduce your exposure to these chemicals, wear approved safety equipment such as face masks that are specially designed to filter out sprays, gloves, and other appropriate protective equipment.
- Before using any pesticide or other spray mate-rials in this sprayer, read the label on its original container thoroughly and follow its directions. Some spray materials are dangerous and should not be used in this sprayer, as they can damage the sprayer and cause serious bodily injury or property damage.
- Electric shock hazard. Never spray toward electri-cal outlets.
- Do not use commercial grade chemicals or chemicals for commercial or industrial pur-poses. Use only consumer grade water-based lawn and garden chemicals.
- Do not pour hot or boiling liquids into the tank. These can weaken or damage the hose or tank.
- Spray area must be well ventilated.
- Avoid spraying on windy days. Spray can be accidentally blown onto plants or objects that should not be sprayed.
- Store the sprayer in a secure, well-ventilated indoor space with the fluid tank empty.
- Do not use caustic (alkali) self-heating or corrosive (acid) liquids in this sprayer. These can corrode metal parts or weaken the tank and hose.
- Know the contents of the chemical being sprayed. Read all Material Safety Data Sheets (MSDS) and container labels provided with the chemical. Follow the chemical manufacturer s safety instructions.
- Do not leave residue or spray material in the tank after using the sprayer. Clean after each use.
- Do not smoke while using the sprayer, or spray where spark or flame is present.
- Risk of injection. Do not discharge directly against skin.
- To reduce the risk of electric shock, do not put the sprayer into water or other liquid. Do not place or store the sprayer where it can fall or be pulled into a tub or sink.
- Maintain this product. Thoroughly inspect both the inside and outside of the sprayer and exam-ine the components before each use. Check for cracked and deteriorated hoses, leaks, clogged nozzles, and missing or damaged parts. If dam-aged, have the product repaired before use. Many accidents are caused by poorly maintained products.
- Disconnect the battery from the unit before draining, cleaning, or storing the sprayer. Such preventive safety measures reduce the risk of acci-dental starting.
- Always wear eye protection with side shields or goggles marked to comply with ANSI Z87.1. Failure to do so could result in fluids entering your eyes resulting in possible serious injury.
- Protect your lungs. Wear a face or dust mask when using the sprayer. Following this rule will reduce the risk of serious personal injury.
- Battery tools do not have to be plugged into an electrical outlet; therefore, they are always in operating condition. Be aware of possible hazards when not using your battery tool or when changing accessories. Remove battery pack when tool is not in use. Following this rule will reduce the risk of electric shock, fire, or serious personal injury.
- Do not place battery tools or their batteries near fire or heat. This will reduce the risk of explosion and possibly injury.
- Do not crush, drop or damage battery pack. Do not use a battery pack or charger that has been dropped or received a sharp blow. A damaged battery is subject to explosion. Properly dispose of a dropped or damaged battery immediately.
- Batteries can explode in the presence of a source of ignition, such as a pilot light. To reduce the risk of serious personal injury, never use any cordless product in the presence of open flame. An exploded battery can propel debris and chemicals. If exposed, flush with water immediately.
- Do not charge battery tool in a damp or wet location. Following this rule will reduce the risk of electric shock.
- For best results, your battery tool should be charged in a location where the temperature is more than 10 °C (50 °F) but less than 40 °C (104 °F). To reduce the risk of serious personal injury, do not store outside or in vehicles.
- Under extreme usage or temperature conditions, battery leakage may occur. If liquid comes in contact with your skin, wash immediately with soap and water. If liquid gets into your eyes, flush them with clean water for at least 10 min-utes, then seek immediate medical attention. Following this rule will reduce the risk of serious personal injury.
- Do not use battery-operated appliance in rain.
- Do not use battery-operated appliance in rain. Exercise care in handling batteries in order not to short the battery with conducting materials such as rings, bracelets, and keys. The battery or conductor may overheat and cause burns.
- Do not dispose of the battery(ies) in a fire. The cell may explode. Check with local codes for possi-ble special disposal instructions.
- Do not open or mutilate the battery(ies). Released electrolyte is corrosive and may cause damage to the eyes or skin. It may be toxic if swallowed.
- Avoid Dangerous Environment – Don’t use appli-ances in damp or wet locations.
- Use Right Appliance – Do not use appliance for any job except that for which it is intended.
- Don’ t Force Appliance – It will do the job better and with less likelihood of a risk of injury at the rate for which it was designed.
- Store Idle Appliances Indoors – When not in use, appliances should be stored indoors in dry, and high or locked-up place – out of reach of children.
- Maintain Appliance With Care – Keep clean for best performance and to reduce the risk of injury. Follow instructions for changing accessories. Inspect appliance cord, and if damaged, have it repaired by an authorized service facility. Keep handles dry, clean, and free from oil and grease.
- Check Damaged Parts – Before further use of the appliance, a guard or other part that is damaged should be carefully checked to determine that it will operate properly and perform its intended function. Check for alignment of moving parts, binding of moving parts, breakage of parts, mounting, and any other condition that may affect its operation. A guard or other part that is damaged should be properly repaired or replaced by an authorized service center unless indicated elsewhere in this manual.
Important safety instructions for battery cartridge
- Before using battery cartridge, read all instruc-tions and cautionary markings on (1) battery charger, (2) battery, and (3) product using battery.
- Do not disassemble or tamper the battery car-tridge. It may result in a fire, excessive heat, or explosion.
- If operating time has become excessively shorter, stop operating immediately. It may result in a risk of overheating, possible burns and even an explosion.
- If electrolyte gets into your eyes, rinse them out with clear water and seek medical atten-tion right away. It may result in loss of your eyesight.
- Do not short the battery cartridge:
- Do not touch the terminals with any con-ductive material.
- Avoid storing battery cartridge in a con-tainer with other metal objects such as nails, coins, etc.
- Do not expose battery cartridge to water or rain.
- A battery short can cause a large current flow, over-heating, possible burns and even a breakdown.
- Do not store and use the tool and battery car-tridge in locations where the temperature may reach or exceed 50 °C (122 °F).
- Do not incinerate the battery cartridge even if it is severely damaged or is completely worn out. The battery cartridge can explode in a fire.
- Do not nail, cut, crush, throw, drop the battery cartridge, or hit against a hard object to the battery cartridge. Such conduct may result in a fire, excessive heat, or explosion.
- Do not use a damaged battery.
- The contained lithium-ion batteries are subject to the Dangerous Goods Legislation require-ments. For commercial transports e.g. by third parties, for-warding agents, special requirement on packaging and labeling must be observed. For preparation of the item being shipped, consult-ing an expert for hazardous material is required. Please also observe possibly more detailed national regulations. Tape or mask off open contacts and pack up the battery in such a manner that it cannot move around in the packaging.
- When disposing the battery cartridge, remove it from the tool and dispose of it in a safe place. Follow your local regulations relating to dis-posal of battery.
- Use the batteries only with the products speci-fied by Makita. Installing the batteries to non-com-pliant products may result in a fire, excessive heat, explosion, or leak of electrolyte.
- If the tool is not used for a long period of time, the battery must be removed from the tool.
- During and after use, the battery cartridge may take on heat which can cause burns or low tem-perature burns. Pay attention to the handling of hot battery cartridges.
- Do not touch the terminal of the tool imme-diately after use as it may get hot enough to cause burns.
- Do not allow chips, dust, or soil stuck into the terminals, holes, and grooves of the battery cartridge. It may result in poor performance or breakdown of the tool or battery cartridge.
- Unless the tool supports the use near high-volt-age electrical power lines, do not use the battery cartridge near high-voltage electrical power lines. It may result in a malfunction or breakdown of the tool or battery cartridge.
- Keep the battery away from children.
SAVE THESE INSTRUCTIONS
CAUTION: Only use genuine Makita batteries. Use of non-genuine Makita batteries, or batteries that have been altered, may result in the battery bursting causing fires, personal injury and damage. It will also void the Makita warranty for the Makita tool and charger.
Tips for maintaining maximum battery life
- Charge the battery cartridge before completely discharged. Always stop tool operation and charge the battery cartridge when you notice less tool power.
- Never recharge a fully charged battery car-tridge. Overcharging shortens the battery ser-vice life.
- Charge the battery cartridge with room tempera-ture at 10 °C – 40 °C (50 °F – 104 °F). Let a hot battery cartridge cool down before charging it.
- When not using the battery cartridge, remove it from the tool or the charger.
- Charge the battery cartridge if you do not use it for a long period (more than six months).
CORDLESS GARDEN SPRAYER USE AND CARE
- The cordless garden sprayer can work by Makita lithium-ion battery cartridge. Use of any other batteries may create a risk of fire. Recharge batteries only with the specified charger. A charger that may be suitable for one type of battery may create a risk of fire when used with another battery.
- When inserting or removing the battery, always place the cordless garden sprayer on a flat and stable surface.
- Do not use any batteries, attachments or accessories not recommended by the manufacturer of this appliance. The use of batteries, attachments or accessories not recommended can result in serious personal injury.
ASSEMBLY
CAUTION:
Always be sure that the machine is switched off and the battery cartridge is removed before carrying out any work on the machine.
CAUTION:
Make sure that the all parts are securely assembled so that the liquid does not leak when operating the machine.
Assembly of the spray wand
- Remove the cap from the handle.
- Make sure the O-ring is in place, then thread the spray wand onto the handle and tighten it securely. Refer to Figure 1.
- Loosen the extension nut and pull out the spray wand to the desire length.
- Retighten the extension nut.

| 1 | Adjustable spray head | 2 | Extension nut |
| 3 | Spray wand | 4 | O-ring |
| 5 | Handle | ||
Shoulder strap
Attach the shoulder strap to the hangers of the machine as shown in the figure. Refer to Figure 2

FUNCTIONAL DESCRIPTION
CAUTION:
Always be sure that the machine is switched off and the battery cartridge is removed before adjusting or checking function on the machine.
Installing or removing the battery cartridge
CAUTION:
- Always switch off the machine before installing or removing of the battery cartridge.
- Hold the machine and the battery cartridge firmly when installing or removing battery cartridge. Failure to hold the machine and the battery cartridge firmly may cause them to slip off your hands and result in damage to the machine and battery cartridge and a personal injury.
- Do not use force when installing the battery cartridge. If the cartridge does not slide in easily, it is not being inserted correctly.
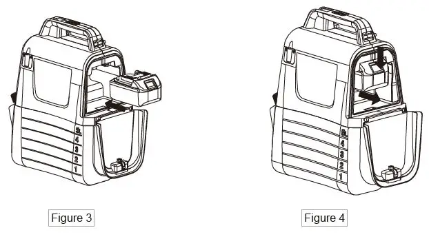
To install the battery cartridge, pull down the locking lever, and then open the battery cover. Align the tongue on the battery cartridge with the groove in the housing and slip it into place. Always insert it all the way until it locks in place with a little click. Refer to Figure 3. To remove the battery cartridge, slide it from the machine while pressing the button. Refer to Figure 4.

Indicating the residual battery capacity
Press the check button on the machine to indicate residual battery capacity. The indicator lamps light up for few seconds. Refer to Figure 5.
| Indicator lamps |
Residual battery capacity | |||
| Lighted | Off | |||
| 50 % to 100 % | ||||
| 30 % to 50 % | ||||
| 0 % to 30 % | ||||
NOTE:
- Depending on the conditions of use and the ambient temperature, the indication may differ slightly from the actual capacity.

Machine / battery protection system
The machine is equipped with the protection system. This system automatically cuts off power to the motor to extend machine and battery life. The machine will automatically stop during operation if the machine or battery is placed under one of the following conditions.
Overload protection:
When the machine is operated in a manner that causes it to draw an abnormally high current, the machine automatically stops without any indication. In this situation, turn the machine off and stop the applica-tion that caused the machine to become overloaded. Then turn the machine on to restart.
Overdischarge protection:
When the battery capacity becomes low, the machine stops automatically. If the machine does not operate even when the switches are operated, remove the battery cartridge from the machine and charge it.
Indicating the remaining battery capacity
Only for battery cartridges with the indicator

Press the check button on the battery cartridge to indicate the remaining battery capacity. The indicator lamps light up for a few seconds.
| Indicator lamps | Remaining capacity | ||||
| Lighted | Off | ||||
| 75 % to 100 % | |||||
| 50 % to 75 % | |||||
| 25 % to 50 % | |||||
| 0 % to 25 % | |||||
NOTE: Depending on the conditions of use and the ambient temperature, the indication may differ slightly from the actual capacity.
NOTE: The first (far left) indicator lamp will blink when the battery protection system works.
Mixture
WARNING! Always follow the chemical manufacturer’s instructions printed on their product labeling for use, cleaning, and storage. Clean thoroughly after each use, following the instructions in the Maintenance and cleaning section of this manual. Chemicals should be stored out of the reach of children. Failure to do so may result in serious personal injury.
WARNING! THE PRODUCT IS DESIGNED FOR SPRAYING CONSUMER-GRADE HOME AND GARDEN CHEMICALS SUCH AS WEED KILLERS, FUNGICIDES, INSECTICIDES, AND FERTILIZERS.
CAUTION: Be sure that no previously used chemical has been left in tank. If so, chemical reaction may occur generating harmful gas.
NOTICE: Do not over fill the tank. Doing so may damage the machine.
NOTICE: Liquids to be sprayed must be as thin as water. Thicker liquids will not spray properly.
- Remove the battery prior to adding chemical liquid to the tank.
- Hold the tank firmly and rotate it anti-clockwise so as to separate the motor housing from the tank. Refer to Figure 7.
- Unscrew and remove the measuring cup.
- Measure the recommended liquid. The cup can be used to measure up to 50 ml (2 oz) of liquid. Refer to Figure 8.
- Carefully pour the liquid into the tank with measuring cup through the filling opening of the tank. You can also dissolve chemical liquid in water completely in a separate container and then pour it into the tank. Make sure you always pour chemical liquid into the tank through the filling opening of the tank rather than small opening which is for measuring cup storage. Make sure that the tank filling strainer is in place. Refer to Figure 9.
- Rinse the measuring cup with clean water.
- Refit the cup, making sure it is tightened securely.
- Insert the hose into the depressed part of the tank filling strainer. Refer to Figure 10.
- Reattach the motor housing to the tank and rotate it clockwise to “Click”. Refer to Figure 11.
Container is not included.

OPERATION
WARNING! Risk of fire or explosion. Spray area must be well-ventilated and away from sparks or flames.
CAUTION: When operating the machine, be sure to put the shoulder belt on your shoulder firmly.
Turning the machine on/off
- Before operating the machine, put on safety goggles and other safety gear.
- Press the On/off switch to start the machine.
- Press and hold the lever down to start spraying. Refer to Figure 12.
- Release the lever to stop spraying.
Lock-on
The lock-on feature is convenient for continuous spray or when covering a large area.
- To lock-on, press the lever down and pull the lock button backwards, then release the lever. Refer to Figure 13.
- To release the lock-on, press the lever and push the lock button forward.
Note: Make sure the lever is not in locked position before inserting the battery pack into the machine.

Adjustment to one-head type
1. Turn the cock to the “lock” side to use the machine as one head type. Refer to Figure 14.

Adjusting spray
You can mist or jet the liquid using the adjustable spray head.
- Remove the battery pack from the machine.
- To mist the liquid, tighten the adjustable spray head.
- To jet the liquid, loosen the adjustable spray head.

Caution
- Do not overturn cock exceeding 180o. Disperse orifice may break.
- Do not touch nozzle lever by mistake when resting nozzle on nozzle stand to avoid erroneous spraying.
- Do not leave leftover chemical inside tank for a long period of time.
This would damage parts and shorten life of product.

Spraying
WARNING! Never set the unit on the ground during use. Avoid the machine and battery from getting wet at all times. Do not spray near or directly at the unit.
- Aim the sprayer nozzle directly at the plants or objects you wish to spray.
- Never point the spray end of the wand at yourself or others.
- Be aware of splash back, stand far enough from the object being sprayed to prevent the spray splashing back onto you.
- Never spray in the direction of people or animals; always spray downwind.
- Avoid spraying on windy days. Spray can be accidentally blown onto plants or objects that should not be sprayed.
MAINTENANCE AND CLEANING
CAUTION:
Always be sure that the machine is switched off and the battery cartridge is removed before attempting to perform inspection or maintenance.
To maintain product SAFETY and RELIABILITY, repairs, any other maintenance or adjustment should be performed by Makita Authorized or Factory Service Centers, always using Makita replacement parts.
MAINTENANCE
WARNING! To avoid serious personal injury, always remove the battery pack from the machine when cleaning or performing any maintenance.
WARNING! Always wear eye protection with side shields or goggles marked to comply with ANSI Z87.1. Failure to do so could result in fluids entering your eyes resulting in possible serious injury.
WARNING! When servicing, use only identical replacement parts. Use of any other parts may create a hazard or cause product damage.
WARNING! Do not at any time let brake fluids, gasoline, penetrating oils, etc., come in contact with plastic parts. Chemicals can damage, weaken, or destroy plastic which may result in serious personal injury.
NOTICE: Periodically inspect the entire product for damaged, missing, or loose parts such as screws, nuts, bolts, caps, etc. Tighten securely all fasteners and caps and do not operate this product until all missing or damaged parts are replaced. Please contact customer service or a qualified service center for assistance.
NOTICE:
Never use gasoline, benzine, thinner, alcohol or the like. Discoloration, deformation or cracks may result.
GENERAL MAINTENANCE: Avoid using solvents when cleaning plastic parts. Most plastics are susceptible to damage from various types of commercial solvents and may be damaged by their use. Use clean clothes to remove dirt, dust, oil, grease, etc.
CLEANING THE UNIT
WARNING! Always store and dispose of chemicals properly. Disposal of contaminated rinse water should be performed according to local ordinances and by-laws.
DRAINING THE TANK
If there is any liquid left in the tank after spraying, the tank should be drained before cleaning.
- Remove the battery pack.
- Remove the motor housing from the tank.
- Drain the contents through the fill area.
NOTE: Drain the liquid back into the original container. Do not store chemical liquid in the tank.
CLEANING THE TANK
- Fill the tank about one-third full with clean water. A small amount of mild household detergent may be added. NOTE: Never use flammable chemicals or abrasive cleaning agents to clean the tank.
- Wipe the outside of the tank with a clean, dry cloth.
- Reattach the motor housing to the tank.
- Reinstall the battery pack. Spray until the tank has been emptied. Make sure to direct the spray toward an area that will not be damaged by the spray solution.
- Refill and repeat the procedure with clean water. It may be necessary to rinse the tank more than once, then drain again as instructed above.
- Allow all parts to completely dry before reinstalling parts and storing the unit.
CLEANING THE NOZZLE
If the nozzle becomes plugged, use the steps below to clear.
- Remove the battery pack.
- Unscrew and remove the nozzle cap form adjustable spray head of the spray wand.
- Push a small wire through the exposed holes to clear any debris. Then flush with clean water. Refer to Figure 15.
- Wipe the adjustable spray head with a clean dry cloth, and reattach the nozzle cap to the adjustable spray head.
CLEANING THE PUMP
If the sprayer cannot draw the fluid from tank or it cannot spray out liquid at the first use or after long-term storage. Follow the procedures below to clean the pump:
- Switch off the machine and remove the battery.
- Remove the spray wand from handle.
- Drain any remaining liquid or store leftover liquid to another container to make sure the tank is empty.
- Separate the motor housing from the tank and turn it upside down. Refer to Figure 16.
- Unscrew the red cap to open water inlet hole, and then connect the hole to the water tap. Make sure the O-ring is placed inside the red cap.
- Open the water tap slowly and press down the lever at the same time to allow water flush away any debris adhered to the pump. Refer to Figure 17.
- Disconnect the water tap and re-tighten the red cap. Make sure that the O-ring inside the cap is in place.

OPTIONAL ACCESSORIES
CAUTION:
These accessories or attachments are recommended for use with your Makita product specified in this manual. The use of any other accessories or attachments might present a risk of injury to persons. Only use accessory or attachment for its stated purpose. If you need any assistance for more details regarding these accessories, ask your local Makita Service Center.
- Makita genuine battery and charger.
NOTE:
Some items in the list may be included in the product package as standard accessories. They may differ from country to country.
MAKITA LIMITED WARRANTY
Please refer to the annexed warranty sheet for the most current warranty terms applicable to this product. If annexed warranty sheet is not available, refer to the warranty details set forth at below website for your respective country. United States of America: www.makitatools.com
Canada: www.makita.ca
Other countries: www.makita.com












CLEANING THE PUMP
















