

NITRO 890 G2
GAMING CHAIR
| A x1
| B x1
| C x1
|
| D x1
| E x1
| F x1
|
| G x5
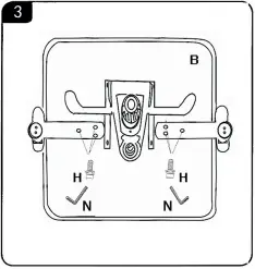
| H x10
| I x4
|
| J x1
| K x2
| L/M x2
|
| N x1
| O x4
| |






# GENESISGAMING
/GENESISGAMINGZONE
/GENESIS.ZONE
/GENESIS_ZONE


| A x1
| B x1
| C x1
|
| D x1
| E x1
| F x1
|
| G x5
| H x10
| I x4
|
| J x1
| K x2
| L/M x2
|
| N x1
| O x4
| |






# GENESISGAMING
/GENESISGAMINGZONE
/GENESIS.ZONE
/GENESIS_ZONE
Download manual
Here you can download full pdf version of manual, it may contain additional safety instructions, warranty information, FCC rules, etc.