BOSCH GDR, GDS Professional Cordless Impact Driver/Wrench

Safety Notes
General Power Tool Safety Warnings
WARNING
Read all safety warnings and all instructions. Failure to follow the warnings and instructions may result in electric shock, fire and/or serious injury.
Save all warnings and instructions for future reference.
The term “power tool” in the warnings refers to your mains-operated (corded) power tool or battery-operated (cordless) power tool.
Work area safety
- Keep work area clean and well lit. Cluttered or dark areas invite accidents.
- Do not operate power tools in explosive atmospheres, such as in the presence of flammable liquids, gases or dust. Power tools create sparks which may ignite the dust or fumes.
- Keep children and bystanders away while operating a power tool. Distractions can cause you to lose control.
Electrical safety
- Power tool plugs must match the outlet. Never modify the plug in any way. Do not use any adapter plugs with earthed (grounded) power tools. Unmodified plugs and matching outlets will reduce risk of electric shock.
- Avoid body contact with earthed or grounded surfaces, such as pipes, radiators, ranges and refrigerators. There is an increased risk of electric shock if your body is earthed or grounded.
- Do not expose power tools to rain or wet conditions. Water entering a power tool will increase the risk of electric shock.
- Do not abuse the cord. Never use the cord for carrying, pulling or unplugging the power tool. Keep cord away from heat, oil, sharp edges and moving parts. Damaged or entangled cords increase the risk of electric shock.
- When operating a power tool outdoors, use an extension cord suitable for outdoor use. Use of a cord suitable for outdoor use reduces the risk of electric shock.
- If operating a power tool in a damp location is unavoidable, use a residual current device (RCD) protected supply. Use of an RCD reduces the risk of electric shock.
Personal safety
- Stay alert, watch what you are doing and use common sense when operating a power tool. Do not use a power tool while you are tired or under the influence of drugs, alcohol or medication. A moment of inattention while operating power tools may result in serious personal injury.
- Use personal protective equipment. Always wear eye protection. Protective equipment such as dust mask, non-skid safety shoes, hard hat, or hearing protection used for appropriate conditions will reduce personal injuries.
- Prevent unintentional starting. Ensure the switch is in the off-position before connecting to power source and/or battery pack, picking up or carrying the tool. Carrying power tools with your finger on the switch or energizing power tools that have the switch on invites accidents.
- Remove any adjusting key or wrench before turning the power tool on. A wrench or a key left attached to a rotating part of the power tool may result in personal injury.
- Do not overreach. Keep proper footing and balance at all times. This enables better control of the power tool in unexpected situations.
- Dress properly. Do not wear loose clothing or jewellery. Keep your hair, clothing and gloves away from moving parts. Loose clothes, jewellery or long hair can be caught in moving parts.
- If devices are provided for the connection of dust ex-traction and collection facilities, ensure these are connected and properly used. Use of dust collection can re-duce dust-related hazards.
Power tool use and care
- Do not force the power tool. Use the correct power tool for your application. The correct power tool will do the job better and safer at the rate for which it was designed.
- Do not use the power tool if the switch does not turn it on and off. Any power tool that cannot be controlled with the switch is dangerous and must be repaired.
- Disconnect the plug from the power source and/or the battery pack from the power tool before making any adjustments, changing accessories, or storing power tools. Such preventive safety measures reduce the risk of starting the power tool accidentally.
- Store idle power tools out of the reach of children and do not allow persons unfamiliar with the power tool or these instructions to operate the power tool. Power tools are dangerous in the hands of untrained users.
- Maintain power tools. Check for misalignment or binding of moving parts, breakage of parts and any other condition that may affect the power tool’s operation. If damaged, have the power tool repaired before use. Many accidents are caused by poorly maintained power tools.
- Keep cutting tools sharp and clean. Properly maintained cutting tools with sharp cutting edges are less likely to bind and are easier to control.
- Use the power tool, accessories and tool bits etc. in accordance with these instructions, taking into account the working conditions and the work to be performed. Use of the power tool for operations different from those intended could result in a hazardous situation.
Battery tool use and care
- Recharge only with the charger specified by the manufacturer. A charger that is suitable for one type of battery pack may create a risk of fire when used with another battery pack.
- Use power tools only with specifically designated battery packs. Use of any other battery packs may create a risk of injury and fire.
- When battery pack is not in use, keep it away from other metal objects, like paper clips, coins, keys, nails, screws or other small metal objects, that can make a connection from one terminal to another. Shorting the battery terminals together may cause burns or a fire.
- Under abusive conditions, liquid may be ejected from the battery; avoid contact. If contact accidentally occurs, flush with water. If liquid contacts eyes, addition-ally seek medical help. Liquid ejected from the battery may cause irritation or burns.
Service
- Have your power tool serviced by a qualified repair per-son using only identical replacement parts. This will en-sure that the safety of the power tool is maintained.
Safety Warnings for Impact Wrenches
- Hold power tool by insulated gripping surfaces, when performing an operation where the fastener may con-tact hidden wiring. Fasteners contacting a “live” wire may make exposed metal parts of the power tool “live” and could give the operator an electric shock.
- Secure the workpiece. A workpiece clamped with clamp-ing devices or in a vice is held more secure than by hand.
- Always wait until the machine has come to a complete stop before placing it down. The tool insert can jam and lead to loss of control over the power tool.
- Do not open the battery. Danger of short-circuiting.
Protect the battery against heat, e. g., against continuous intense sunlight, fire, water, and moisture. Danger of explosion. - In case of damage and improper use of the battery, vapours may be emitted. Ventilate the area and seek medical help in case of complaints. The vapours can irritate the respiratory system.
- Use the battery only in conjunction with your Bosch product. This measure alone protects the battery against dangerous overload.
- The battery can be damaged by pointed objects such as nails or screwdrivers or by force applied externally. An internal short circuit can occur and the battery can burn, smoke, explode or overheat.
Product Description and Specifications
Read all safety warnings and all instructions. Failure to follow the warnings and instructions may result in electric shock, fire and/or serious injury.
While reading the operating instructions, unfold the graphics page for the machine and leave it open.
Intended Use
The machine is intended for driving in and loosening screws and bolts as well as for tightening and loosening nuts within the respective range of dimension.
The light of this power tool is intended to illuminate the power tool’s direct area of working operation and is not suitable for household room illumination.
Product Features
The numbering of the product features refers to the illustration of the machine on the graphics page.
- Tool holder
- Locking sleeve
- “PowerLight”
- “PowerLight” button
- Speed indication
- Button for electronic speed preselection 7 Battery unlocking button
- Battery pack
- Rotational direction switch
- On/Off switch
- Battery charge-control indicator
- Handle (insulated gripping surface)
- Double bit*
- Universal bit holder*
- Screwdriver bit*
- Application tool (e. g. an impact socket)*
- Belt clip*
- Colour clip*
*Accessories shown or described are not part of the standard de-livery scope of the product. A complete overview of accessories can be found in our accessories program.
Technical Data
| Technical Data | |||
| Cordless Impact Screwdriver | GDR 10,8 V-EC | GDS 10,8 V-EC | |
| Article number | 3 601 JE0 0.. | 3 601 JE0 1.. | |
| Rated voltage | V= | 10.8 | 10.8 |
| No-load speed | |||
| – Setting 1 | min–1 | 0 – 1200 | 0– 1200 |
| – Setting 2 | min–1 | 0 – 2600 | 0– 2600 |
| Impact rate | |||
| – Setting 1 | min–1 | 0 – 2700 | 0– 2700 |
| – Setting 2 | min–1 | 0 – 3100 | 0– 3100 |
| Maximum torque, hard Screwdriving application ac- cording to ISO 5393 | Nm | 110 | 115 |
| Bolt size | mm | M4 – M12 | M4 – M12 |
| Max. screw dia. | mm | 8 | 8 |
| Tool holder | ¼” hexagon socket | n 3/8″ | |
| Weight according to EPTA-Procedure 01/2003 | kg | 0.9 | 0.9 |
| Permitted ambient temperature | |||
| – during charging | °C | 0…+45 | 0…+45 |
| – during operation* and during storage | °C | –20…+50 | –20…+50 |
| Recommended batteries | GBA 10,8V … | GBA 10,8V … | |
| Recommended chargers | AL 11.. | AL 11.. | |
| * Limited performance at temperatures < 0 °C | |||
Noise/Vibration Information
Sound emission values determined according to
Typically the A-weighted noise levels of the product are: Sound pressure level 87 dB(A); Sound power level 98 dB(A). Uncertainty K =3 dB.
Wear hearing protection!
Vibration total values ah (trial vector sum) and uncertainty K determined according to EN 60745-2-2:
Impact tightening of fasteners of the maximum capacity of the
tool: ah=10.5 m/s2, K=1.5 m/s2.
The vibration level given in this information sheet has been measured in accordance with a standardized test given in EN 60745 and may be used to compare one tool with another. It may be used for a preliminary assessment of exposure. The declared vibration emission level represents the main applications of the tool. However if the tool is used for different applications, with different accessories or insertion tools or is poorly maintained, the vibration emission may differ. This may significantly increase the exposure level over the total working period.
An estimation of the level of exposure to vibration should also take into account the times when the tool is switched off or when it is running but not actually doing the job. This may significantly reduce the exposure level over the total working period.
Identify additional safety measures to protect the operator from the effects of vibration such as: maintain the tool and the accessories, keep the hands warm, organisation of work pat-terns.
Declaration of Conformity
We declare under our sole responsibility that the product de-scribed under “Technical Data” is in conformity with all rele-vant provisions of the directives 2009/125/EC (Regulation 1194/2012), 2011/65/EU, until 19 April 2016:
2004/108/EC, from 20 April 2016 on: 2014/30/EU, 2006/42/EC including their amendments and complies with the following standards: EN 60745-
- Technical file (2006/42/EC) at:
- Robert Bosch GmbH, PT/ETM9,
- 70764 GERMANY
- Henk Becker
- Executive Vice President
- Engineering
- Helmut
- Head of Product Certification
- PT/ETM9
Robert Bosch GmbH, Power Tools Division 70764 GERMANY 16.06.2015
Assembly
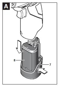
Removing the Battery (see figure A)

- Use only the battery chargers listed on the accessories page. Only these battery chargers are matched to the lithium-ion battery of your power tool.
Note: The battery supplied is partially charged. To ensure full capacity of the battery, completely charge the battery in the battery charger before using your power tool for the first time. The lithium-ion battery can be charged at any time without reducing its service life. Interrupting the charging procedure does not damage the battery.
The lithium-ion battery is protected against deep discharging by the “Electronic Cell Protection (ECP)”. When the battery is empty, the machine is switched off by means of a protective circuit: The inserted tool no longer rotates
- Do not continue to press the On/Off switch after the machine has been automatically switched off. The battery can be damaged. To remove the battery 8 press the unlocking buttons 7 and pull out the battery downwards. Do not exert any force. Observe the notes for disposal.
Changing the Tool - Before any work on the machine itself (e. g. maintenance, tool change, etc.) as well as during transport and storage, remove the battery from the power tool. There is danger of injury when unintentionally actuating the On/Off switch.
- Regularly clean the power tool’s air vents. The motor’s fan will draw the dust inside the housing and excessive ac-cumulation of powdered metal may cause electrical hazards.
GDR 10,8 V-EC:
Inserting (see figure B)
Pull the locking sleeve 2 forward, push the insert tool to the stop into the tool holder 1 and release the locking sleeve 2 to lock the insert tool.
Screwdriver bits 15 can be inserted using a universal bit hold-er with ball lock 14.
Removing
Pull the locking sleeve 2 forward and remove the insert tool.
GDS 10,8 V-EC: (see figure C)

- When working with an application tool, pay attention that the application tool is connected securely on the tool holder. When the application tool is not securely connected with the tool holder, it can come off during application.
Slide the application tool 16 onto the square drive of the tool holder 1.
With this system, there will be a slight amount of play around the application tool 16 after connecting securely to the tool holder 1; this has no influence on the function/safety.
Operation
Method of Operation
The tool holder 1 with the tool is driven by an electric motor via a gear and impact mechanism.
The working procedure is divided into two phases: Screwing in and tightening (impact mechanism in action).
The impact mechanism is activated as soon as the screwed connection runs tight and thus load is put on the motor. In this instance, the impact mechanism converts the power of the motor to steady rotary impacts. When loosening screws or nuts, the process is reversed.
Starting Operation
Inserting the battery
Set the rotational direction switch 9 to the centre position to protect the power tool against accidental starting. Insert the charged battery 8 from the front into the base of the power tool until the battery is securely locked. Reversing the rotational direction (see figure D)
The rotational direction switch 9 is used to reverse the rotational direction of the machine. However, this is not possible with the On/Off switch 10 actuated. Right rotation: For driving in screws and tightening nuts, press the rotational direction switch 9 through to the left stop. Left Rotation: For loosening and unscrewing screws and nuts, press the rotational direction switch 9 through to the right stop.
Switching On and Off
- To start the machine, press the On/Off switch 10 and keep it pressed.
- To switch off the machine, release the On/Off switch 10.
- To save energy, only switch the power tool on when using it.
Adjusting the Speed - The speed of the switched-on power tool can be variably adjusted, depending on how far the On/Off switch 10 is pressed.
- Light pressure on the On/Off switch 10 results in a low rotational speed. Further pressure on the switch results in an in-crease in speed.
Preselecting the Speed/Impact Rate - With the button 6 you can preselect the required speed/impact rate in 2 stages. Press the button 6 repeatedly until the desired setting appears in the speed indicator 5. The selected setting will be saved.
- The required speed/impact rate depends on the material and the working conditions, and can be determined through prac-tical testing.
Switching the “PowerLight” On/Off - To switch the “PowerLight” 3 on, press button 4. To switch the “PowerLight” 3 off, press button 4 again.
Battery Charge-control Indication - The battery charge-control indicator 11 consists of three green LEDs, and indicates the charge condition of the battery for a few seconds when the On/Off switch 10 is pressed half-way or fully.
LED Capacity
- Continuous lighting 3 x green ≥ 2/3
- Continuous lighting 2 x green ≥ 1/3
- Continuous lighting 1 x green < 1/3
- Flashing light 1 x green Reserve
Temperature Dependent Overload Protection
In normal conditions of use, the power tool cannot be over-loaded. If the power tool is overloaded or not kept within the permitted battery temperature range, the power output is reduced or the power tool is switched off. The power tool will not run at full power output again until the permitted battery temperature has been reached.
Reference Values for Maximum Screw/Bolt Tightening Torques
Calculated from the tensional cross-section; utilization of the yield point 90 % (with friction coefficient µtotal = 0.12). As a control measure, always check the tightening torque with a torque wrench.
| Property Classes accord- Standard Screws/Bolts Highstrength Boltsing to DIN 267 3.6 4.6 5.6 4.86.6 5.86.8 6.9 8.8 10.9 12.9 | |||||||||||
| M 6 | 2.71 | 3.61 | 4.52 | 4.8 | 5.42 | 6.02 | 7.22 | 8.13 | 9.7 | 13.6 | 16.2 |
| M 8 | 6.57 | 8.7 | 11 | 11.6 | 13.1 | 14.6 | 17.5 | 19.7 | 23 | 33 | 39 |
| M 10 | 13 | 17.5 | 22 | 23 | 26 | 29 | 35 | 39 | 47 | 65 | 78 |
| M 12 | 22.6 | 30 | 37.6 | 40 | 45 | 50 | 60 | 67 | 80 | 113 | 135 |
| M 14 | 36 | 48 | 60 | 65 | 72 | 79 | 95 | 107 | 130 | 180 | 215 |
| M 16 | 55 | 73 | 92 | 98 | 110 | 122 | 147 | 165 | 196 | 275 | 330 |
Working Advice
- Apply the power tool to the screw/nut only when it is switched off. Rotating tool inserts can slip off.
The torque depends on the impact duration. The maximum achieved torque results from the sum of all individual torques achieved through impact. The maximum torque is achieved after an impact duration of 6–10 seconds. After this dura-tion, the tightening torque is increased only minimally.
The impact duration is to be determined for each required tightening torque. The actually achieved tightening torque is always to be checked with a torque wrench.
Screw Applications with Hard, Spring-loaded or Soft Seat
A test in which the achieved torques in an impact series are measured and transferred to a diagram will produce the curve of a torque characteristic. The height of the curve corresponds with the maximum reachable torque, and the steep-ness indicates the duration in which this is achieved.
A torque gradient depends on the following factors:- Strength properties of the screws/nuts
- Type of backing (washer, disc spring, seal)
- Strength properties of the material being screwed/bolted together
- Lubrication conditions at the screw/bolt connection The following application cases result accordingly:
- A hard seat is given for metal-to-metal screw applications with the use of washers. After a relatively short impact du-ration, the maximum torque is reached (steep characteristic curve). Unnecessary long impact duration only causes damage to the machine.
- A spring-loaded seat is given for metal-to-metal screw ap-plications, however with the use of spring washers, disc springs, studs or screws/nuts with conical seat as well as when using extensions.
A soft seat is given for screw applications, e. g., metal on wood or when using lead washers or fiber washers as backing.
For a spring-loaded seat as well as for a soft seat, the maxi-mum tightening torque is lower than for a hard seat. Also, a clearly longer impact duration is required.
Tips
Before screwing larger, longer screws into hard materials, it is advisable to predrill a pilot hole with the core diameter of the thread to approx. 2/3 of the screw length.
Note: Pay attention that no metal particles enter the power tool.
Belt Clip (see figure E)
With the belt clip 17, the machine can be hung onto a belt. The user has both hands free and the machine is always at hand.
Colour clip (see figure F)
You can use the colour clip 18 to individually label the power tool.
Recommendations for Optimal Handling of the Battery
Protect the battery against moisture and water. Store the battery only within a temperature range between –20 °C and 50 °C. As an example, do not leave the battery in the car in summer. Occasionally clean the venting slots of the battery using a soft, clean and dry brush. A significantly reduced working period after charging indicates that the battery is used and must be replaced. Observe the notes for disposal.
Maintenance and Service
Maintenance and Cleaning
- Before any work on the machine itself (e. g. maintenance, tool change, etc.) as well as during transport and storage, remove the battery from the power tool. There is danger of injury when unintentionally actuating the On/Off switch.
- For safe and proper working, always keep the machine and ventilation slots clean.
After-sales Service and Application Service
Our after-sales service responds to your questions concerning maintenance and repair of your product as well as spare parts. Exploded views and information on spare parts can al-so be found under:
www.bosch-pt.com
Bosch’s application service team will gladly answer questions concerning our products and their accessories.
In all correspondence and spare parts orders, please always include the 10-digit article number given on the nameplate of the product.
Great Britain
- Robert Bosch Ltd. (B.S.C.)
- P.O. Box 98
- Broadwater Park
- North Orbital Road
- Denham
- Uxbridge
- UB 9 5HJ
- At www.bosch-pt.co.uk you can order spare parts or arrange the collection of a product in need of servicing or repair. Tel. Service: (0344) 7360109
- E-Mail: [email protected]
Ireland - Origo Ltd.
- Unit 23 Magna Drive
- Magna Business Park
- City West
- Dublin 24
- Tel. Service: (01) 4666700
- Fax: (01) 4666888
Australia, New Zealand and Pacific Islands - Robert Bosch Australia Pty. Ltd.
- Power Tools
- Locked Bag 66
- Clayton South VIC 3169
- Customer Contact Center
- Inside Australia:
- Phone: (01300) 307044
- Fax: (01300) 307045
- Inside New Zealand:
- Phone: (0800) 543353
- Fax: (0800) 428570
- Outside AU and NZ:
- Phone: +61 3 95415555
- www.bosch.com.au
- Republic of South Africa
- Customer service
- Hotline: (011) 6519600
- Gauteng – BSC Service Centre
- 35 Roper Street, New Centre
- Johannesburg
- Tel.: (011) 4939375
- Fax: (011) 4930126
- E-Mail: [email protected]
- KZN – BSC Service Centre
- Unit E, Almar Centre
- 143 Crompton Street
- Pinetown
- Tel.: (031) 7012120
- Fax: (031) 7012446
- E-Mail: [email protected]
- Western Cape – BSC Service Centre
- Democracy Way, Prosperity Park
- Milnerton
- Tel.: (021) 5512577
- Fax: (021) 5513223
- E-Mail: [email protected]
References
My Blog
dz.com
Welcome to nis.com
Bosch Power Tools | Bosch Power Tools
Select your country | Bosch Power Tools
Bosch Elektrowerkzeuge | Bosch Elektrowerkzeuge
Outillage électroportatif Bosch | Outillage électroportatif Bosch
Elettroutensili Bosch | Elettroutensili Bosch
Bosch-sähkötyökalut | Bosch-sähkötyökalut
Outillage électroportatif Bosch | Outillage électroportatif Bosch
Bosch elektromos kéziszerszámok | Bosch elektromos kéziszerszámok
bosch-pt.kz
Elektronarzędzia Bosch | Elektronarzędzia Bosch
bosch-pt.ru
Elektrické náradie Bosch | Elektrické náradie Bosch
Bosch România | Bosch în România
Начало | Бош в България
Invented for life | Bosch Global
Home | Bosch in Australia
Domovská stránka | Bosch Česká republika
Innostavia tuotteita ja palveluita | Bosch Suomessa
Strona główna | Bosch w Polsce
Domov | Bosch Slovensko
Loading...
Kärcher Center Keller Niš
















