
Important Notices
The LXNAV LX DAQ system is designed for VFR use only. All information is presented for reference only. It is ultimately the pilot’s responsibility to ensure the aircraft is being flown in accordance with the manufacturer’s aircraft flight manual. The LX DAQ must be installed in accordance with applicable airworthiness standards according to the country of registration of the aircraft.
Information in this document is subject to change without notice. LXNAV reserves the right to change or improve their products and to make changes in the content of this material without obligation to notify any person or organisation of such changes or improvements.
- A Yellow triangle is shown for parts of the manual which should be read carefully and are important for operating the LXNAV LXDAQ system.
- Notes with a red triangle describe procedures that are critical and may result in loss of data or any other critical situation.
- A bulb icon is shown when a useful hint is provided to the reader.
Limited Warranty
This LXNAV LXDAQ product is warranted to be free from defects in materials or workmanship for two years from the date of purchase. Within this period, LXNAV will, at its sole option, repair or replace any components that fail in normal use. Such repairs or replacement will be made at no charge to the customer for parts and labour, the customer shall be responsible for any transportation cost. This warranty does not cover failures due to abuse, misuse, accident, or unauthorised alterations or repairs.
THE WARRANTIES AND REMEDIES CONTAINED HEREIN ARE EXCLUSIVE AND IN LIEU OF ALLOTHER WARRANTIES EXPRESSED OR IMPLIED OR STATUTORY, INCLUDING ANY LIABILITY ARISING UNDER ANY WARRANTY OF MERCHANTABILITY OR FITNESS FOR A PARTICULAR PURPOSE, STATUTORY OR OTHERWISE. THIS WARRANTY GIVES YOU SPECIFIC LEGAL RIGHTS, WHICH MAY VARY FROM STATE TO STATE. IN NO EVENT SHALL LXNAV BE LIABLE FOR ANY INCIDENTAL, SPECIAL, INDIRECT OR CONSEQUENTIAL DAMAGES, WHETHER RESULTING FROM THE USE, MISUSE, OR INABILITY TO USE THIS PRODUCT OR FROM DEFECTS IN THE PRODUCT. Some states do not allow the exclusion of incidental or consequential damages, so the above limitations may not apply to you. LXNAV retains the exclusive right to repair or replace the unit or software, or to offer a full refund of the purchase price, at its sole discretion. SUCH REMEDY SHALL BE YOUR SOLE AND EXCLUSIVE REMEDY FOR ANY BREACH OF WARRANTY.
To obtain warranty service, contact your local LXNAV dealer or contact LXNAV directly.
Packing list
- 1x LX DAQ
- 1x Terminal block plug 10pin
Installation
Connecting LX DAQ
Wiring
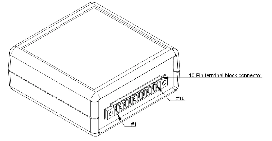
LX DAQ connects to RS485 BUS through D-Sub 9 connector to main instrument which also powers it.
External sensors are connected via 10pin terminal block connector located on opposite side from D-Sub 9 connector
Pin names (from left to right):
- +12V Supply for sensors (output)
- +12V Supply for sensors (output)
- GND
- Input 1 (AIN1- input)
- Input 2 (AIN2- input)
- Input 3 (AIN3- input)
- Input 4 (AIN4- input)
- GND
- Not in use (Do not connect)
- GND

Connecting sensors
- Maximum input voltage for analog input is 12.0V on any of four channels.
The following example illustrates how to connect sensors.
Oxygen bottle sensor concept with WIKA MH-2
Measuring ranges
Vacuum tightness
- Yes
Output signals
Load in Ω
- 4 .20 mA: (power supply- 10 V)/0.02 A
- DCO. 10V: 5k
- DC 1.5V: 2.5k
- DC 0.5..4.5 V: >4.5 k
Voltage supply
Power supply
The power supply depends on the selected output signal
- 4 .20 mA: DC 10…36 V
- DC O. 10 V: DC 14 … 366V
- DC 1 …5 V: DC 8.. 36V
- DC 0.5..4.5 V: DC4.5…5.5 V
Accuracy data
Accuracy at reference conditions
- Maximum: S +1 % of span
- Including non-linearity, hysteresis, zero offsets and end value deviation (corresponds to measured error per lEC 61298-2).
- Non-linearity (per IEC 61298-2)
- Maximum: s20.4 % of span BFSL
- Typical:+0.25 % of span BFSL
Temperature error at 0 … 80 °C
- Mean temperature coefficient of zero point: Typical s 0,15 % of span/10K
- Mean temperature coefficient of span: Typical s 0,15 % of span/10K
Settling time 2 ms
Long-term stability
Typical: s 0.2 % of span/year
Operating conditions
Ingress protection (per IEC 60529)
The ingress protection depends on the type of electrical connection.
- Circular connector M12 x 1 (4-pin): IP67
- Metro-Pack series 150 (3-pin): IP67
- AMP Superseal 1.5 (3-pin): IP67
- AMP Micro Quadlock (3-pin): IP67
- Deutsch DTO4-3P (3-pin): IP67
- Cable outlet: IP69K
The stated ingress protection only applies when plugged in using mating connectors that have the appropriate ingress protection.
Vibration resistance
20 g (per IEC 60068-2-6, under resonance)
Shock resistance
500 g (per IEC 60068-2-27, mechanical)
Temperatures
Permissible temperature ranges for:
- Ambient: -40… +100 °C
- Medium: -40.. +125 °C
- Storage: -40… +100 °C
Process connections
Sealings
The sealings listed under “Standard” are included in the delivery.
CDS system
All process connections are available with the CDS system. The diameter of the pressure channel is reduced in order to counteract pressure spikes and cavitation (see fig.1).
Materials
Wetted parts
Stainless steel
Non-wetted parts
Highly resistant glass-fiber reinforced plastic (PBT)
Snips has been taken from the Wika MH-2 datasheet (WIKA Alexander Wiegand SE & Co. KG)
Revision history
| Rev | Date | Comment |
| 1 | March 2018 | Initial release |
| 2 | January 2021 | Style update |
LXNAV d.o.o.
Kidriceva 24, S1-3000 Celje, Slovenia
T: +386 592 334 00 I F:+386 599 335 22 I [email protected]
www.lxnav.com




















