EFX Series Explosion-Proof Exhaust Fan
Instruction Manual
EFX Series Explosion-Proof Exhaust Fan

- Only available for Class I Group D, Class II Group F & G.
- Consult factory for motor availability.
FAN MAINTENANCE CHECKLIST
WARNING. Fan should only be serviced by qualified personnel with HVAC equipment experience. Disconnect fan from power supply before servicing fan. Lock the switch in the “OFF” (open) position and/or tag the switch to prevent unexpected power application.
A.1 Periodic (before and as required during heating season)
- Clean
- Fan
- Fan Guard
- Motor
- Backdraft Dampers
- Stormhood
NOTE: Remove dust using compressed air. Do not spray with water or solvents.
- Check
- Motor for smooth, quiet operation.
- Dampers for proper angle and tightness.
A.2 Annual (before heating season)
- Mechanical
- Check motor shaft bear play. Replace motor if play is excessive or motor does not run quietly and smoothly. Motor bearings are permanently lubricated.
- Check fan. Replace immediately if cracked or damaged.
- Check the tightness of all hardware. All nuts and bolts, including mounting hardware, must be tight.
- Turn fan on for a minimum of 15 minutes. Check for air exiting fan through dampers and smooth running of fan motor.
Electrical
- Check all terminal connections and condutors.
- Tighten loose connections. Conductors with damaged insulation must be replaced.
IMPORTANT NOTICES
WARNING. Read and adhere to the following installation instructions. Failure to do so may result in severe or fatal injury and/or possible voiding of the warranty.
- Read and follow the instructions in this manual.
- Fans are to be installed and serviced only by qualified personnel experienced in electrical and HVAC work.
- Installation and wiring of the fan must adhere to all applicable codes.
- It is essential that any fan, that will be used in a hazardous (classified) location, is equipped with an electric motor approved for such service.
- Do not operate fan in atmospheres which are corrosive to steel or aluminum, unless it has been coated with a factory approved protective coating.
- an must be kept clean. When operating in a dirty environment, regularly clean fan and fan guard. Follow the recommended maintenance procedures. Refer to Section A Fan Maintenance Checklist, page 3 for details.
- Use factory approved replacement parts only.
- If there are any questions or concerns regarding the fan, contact the factory. Refer to the last page of this manual for details.
- Heater is to be used only in atmospheres having an ignition temperature higher than the heater’s maximum rated operating temperature as shown on the heater data plate. Refer to applicable electrical codes for additional information.
- Installer to provide certified Ex “d” sealed fittings and stopping boxes for the same gas groups as the apparatus.
INSTALLATION
The installation instructions provide a general guideline for the installation and wiring of the exhaust fan. All applicable codes must be adhered to.
C.1 Location
- For optimum air exhaust, the fan(s) should be installed as follows:
1.1 There are no obstructions that may impede the fans air inlet or discharge.
1.2 The air discharge is directed away from building
1.3 The air discharge is not directed at a thermosta
1.4 For warehouses or large workshops it may be acceptable to use fewer, larger fans. - This unit can exhaust warm or cool air depending on customer conditions. Be aware of problems each can produce.
- For installation within a Hazardous Location, cable entries and conduit should be suitable for operations in hazardous locations and rated IP 54.
C.2 Mounting
- The Exhaust Fan is designed to be installed in an upright and level position.
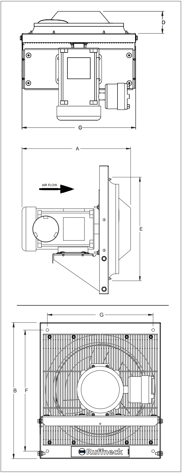
- Fan(s) are designed to be mounted from the rear using four 3/8″ holes. For fan dimensions, see Figure 1, page 5.
- The mounting structure must be strong enough to:
3.1 Support the fans weight (refer to Section E. General Specifications, page 7).
3.2 Provide sufficient stiffness to prevent excessive vibration.
3.3 Withstand abusive situations such as transportable installations.
3.4 If Exhaust Fan is installed on a wall thinner than 4″, customer will need to install shims to bring face of fan away from mounting surface. - Mounting Clearances
4.1 Leave at least 20″ (500 mm) clearance between the rear of the motor and the nearest obstruction.
4.2 Clearance equal to the height of the fan shroud above, or beneath is required for easy fan or motor replacement.
C.3 Temperature Control
If required, the fan output may be thermostatically controlled by a remotely mounted thermostat.
C.4 Final Inspection
- Before application of electrical power:
1.1 Check that all connections are secured and comply with the applicable wiring diagram and code requirements.
1.2 Confirm the power supply is compatible with the data plate rotating on motor.
1.3 Remove any foreign objects from fan.
1.4 Ensure all electrical covers are well secured.
1.5 Ensure the fan rotates freely counterclockwise when viewed from the rear of the fan and air exits through the dampers.

Table 1 – Dimensions
| Dim | EFX-12 | EFX-16 | EFX-20 | EFX-24 | EFX-30 | |
| A | mm | 392. | 378. | 410. | 394. | 397. |
| in | 15. | 15. | 16. | 16. | 16. | |
| B | mm | 462. | 588 | 688. | 788. | 942. |
| in | 182 | 232 | 27. | 31.0 | 37. | |
| C | mm | 410.0 | 513. | 615. | 715. | 863. |
| in | 16. | 202 | 24. | 28. | 34.0 | |
| D | mm | 79. | 57. | 92. | 76. | 89. |
| in | 3. | 22 | 4. | 3.0 | 4. | |
| E* | mm | 373. | 476. | 577. | 677. | 835. |
| in | 15. | 19. | 23. | 25. | 33. | |
| F | mm | 411. | 537. | 637. | 737. | 892. |
| in | 162 | 21. | 25. | 29.0 | 35. | |
| G | mm | 3592 | 462. | 564. | 664. | 812. |
| in | 14. | 182 | 222 | 26. | 32.0 | |
*This dimension is the minimum square opening size.
PARTS LIST
Table 2 – EFX Parts List
| Item | EFX-12 | EFX-16 | EFX-20 | EFX-24 | EFX-30 | Description | Qty |
| 1 | 10192 | 10193 | 10194 | 10195 | 10196 | Panel, shroud | 1 |
| 2 | *Provide motor voltage, phase, horsepower and service classification when ordering replacment motor. | Motor | 1 | ||||
| 3 | 5456 | 5457 | 5458 | 5459 | 5460 | Fan guard | 2 |
| 4 | 9671 | Grill connector | 2 | ||||
| 5 | 3785 | 3786 | 3787 | 5433 | 9639 | Channel, motor mount | 1 |
| 6 | 1176 | Label Ruffneck™ | 1 | ||||
| 7 | 3789 | 9638 | Bracket, motor mount, right | 1 | |||
| 8 | 3788 | 9637 | Bracket motor mount, left | 1 | |||
| 9 | 10204 | Label EFX | 1 | ||||
| 10 | 3258 | Washer #10 SAE Flat | 8 | ||||
| 11 | 3257 | Screw, 10-24, 5/8″ lg, cutting | 8 | ||||
| 12 | 1521 | Bolt, 5/16 NC, 3/4″ lg. | 8 | ||||
| 13 | 1518 | Washer, 5/16 SAE | 4 | ||||
| 14 | 3382 | Nut, 5/16 NC hex flange locking | 12 | ||||
| 15 | 1517 | Bolt, 5/16-18 UNC x 3/4″ lg. | 4 | ||||
| 16 | 1456 | Rivet 1/8 | 2 | ||||
| 17 | 11284 | 1378 | 1382 | 1389 | 1386 | Fan | 1 |
GENERAL SPECIFICATIONS
| 1. Hazardous | Class I, Div 1 & 2, Groups C, D |
| Location | Class II, Div 1 & 2, Groups E, F, G. |
| Classification | Temperature Code: T3B 165°C (329°F) EAC, Ex d IIB T3 Gb X |
| 2. Ambient Temperature | -20°C (4°F) to 40°C (104°F) |
| 3. Approvals | Motors are CSA approved and/or UL listed. |
| 4. Fan | Aluminum blade. Steel spider and hub with 5/8″ (15.875 mm) bore. Optional Heresite® coating for corrosive atmospheres. |
| 5. Fan Guard | Split design with close wire spacing, meets OSHA requirements. |
| 6. Motors | CSA approved and/or UL listed permanently lubricated ball bearing type with rigid base. Explosion-proof or totally enclosed construction. All standard voltages for 60 and 50 hertz are available. |
| 7. Frame Material | 16 ga. (0.060″ or 1.52 mm) epoxy-coated steel. Optional stainless steel or Heresite ® coating for corrosive atmospheres. |
| 8. Mounting | Four 3/8″ (9.5 mm) diameter holes. Must be mounted to a rigid structure. |
Table 3 – Specifications
| EFX-12 | EFX-16 | EFX-20 | EFX-24 | EFX-30 | |||
| Fan Diameter | in | 12 | 16 | 20 | 24 | 30 | |
| mm | 305 | 406 | 508 | 610 | 762 | ||
| Motor* | 1/2 HP, 60 Hz | ||||||
| 1/2 HP, 0.373 kW | |||||||
| Air Flow Rating @70°F (21°C) | CFM | 850 | 1825 | 3760 | 4180 | 4759 | |
| m/7hr | 1444 | 3101 | 6388 | 7102 | 8086 | ||
| Motor Speed | RPM | 1725 | 1140 | ||||
| Net Weight | lbs | 48.0 | 52.0 | 56.0 | 61.0 | 67.0 | |
| kg | 21.8 | 23.6 | 25.4 | 27.7 | 30.4 | ||
| Shipping Weight | lbs | 56.0 | 62.0 | 68.0 | 81.0 | 87.0 | |
| kg | 25.4 | 28.1 | 30.8 | 36.7 | 39.5 | ||
| Dimensions | Width | in | 16.1 | 20.2 | 24.2 | 28.1 | 34.0 |
| mm | 410 | 513 | 615 | 715 | 863 | ||
| Height | in | 18.2 | 23.1 | 27.1 | 31.0 | 37.1 | |
| mm | 462 | 588 | 688 | 788 | 942 | ||
| Depth | in | 15.4 | 14.9 | 16.1 | 15.5 | 15.6 | |
| mm | 392 | 378 | 410 | 394 | 397 | ||
*50 Hz units also available.
WARNING. Fan should only be serviced by qualified personnel with HVAC equipment experience. Disconnect fan from power supply before servicing fan. Lock the switch in the “OFF” (open) position and/or tag the switch to prevent unexpected power applications.
- After repairing any component:
1.1 Check that electrical connections are correct and secure.
1.2 Remove any foreign material from enclosures.
1.3 Install and secure all covers.
1.4 Ensure that all fasteners are tight.
1.5 Remove all foreign objects from fan.
1.6 Ensure air exits through dampers and fan rotates counterclockwise when viewed from rear of fan (see Figure 2, page 8).

- Remove the (8) screws and washers that are holding the fan grills to the shroud (see Figure 3, page 8).
- Remove the (4) bolts and nuts that are holding the motor to the motor mount (see Figure 4,page 9).
- Remove the motor, fan and grills from the frame by lifting the motor (see Figure 5, page 9).
- Before removing the fan, measure and record the location of the fan hub on the motor shaft (see Figure 6, page 9). If fan is difficult to remove, use a gear puller on the fan hub.
- To reassemble, place grills with grill clips onto motor (see Figure 6, page 9) then position fan on motor shaft and tighten set screws.
- Place motor assembly onto motor mount and fasten the fan guard to cabinet.
- Center fan in shroud opening. Leave approximately 1/16″ to 3/16″ (1.6 mm to 4.8 mm) gap between the motor and fan guard. (see Figure 7, page 9).
- Bolt motor to motor mount. Manually spin the fan blade to ensure it rotates freely before applying power.
- Air must exit through dampers and fan must rotate counter clockwise when viewing from the rear of the fan (see Figure 3, page 8).

PLEASE ADHERE TO INSTRUCTIONS IN THIS MANUAL
Failure to do so may be dangerous and may void certain provisions of your warranty.
For further assistance, please call 24hr hotline: 1-800-661-8529 (U.S.A. and Canada) Please have model and serial numbers available before calling.
WARRANTY: Under normal use the Company warrants to the purchaser that defects in material or workmanship will be repaired or replaced without charge for a period of 18 months from date of shipment, or 12 months from the start date of operation, whichever expires first. Any claim for warranty must be reported to the sales office where the product was purchased for authorized repair or replacement within the terms of this warranty. Subject to State or Provincial law to the contrary, the Company will not be responsible for any expense for installation, removal from service, transportation, or damages of any type whatsoever, including damages arising from lack of use, business interruptions, or incidental or consequential damages.
The Company cannot anticipate or control the conditions of product usage and therefore accepts no responsibility for the safe application and suitability of its products when
used alone or in combination with other products. Tests for the safe application and suitability of the products are the sole responsibility of the user.
This warranty will be void if, in the judgment of the Company, the damage, failure or defect is the result of:
- Vibration, radiation, erosion, corrosion, process contamination, abnormal process conditions, temperature and pressures, unusual surges or pulsation, fouling, ordinary wear and tear, lack of maintenance, incorrectly applied utilities such as voltage, air, gas, water, and others or any combination of the aforementioned causes not specifically allowed for in the design conditions or,
- Any act or omission by the Purchaser, its agents, servants or independent contractors which for greater certainty, but not so as to limit the generality of the foregoing, includes physical, chemical or mechanical abuse, accident, improper installation of the product, improper storage and handling of the product, improper application or the misalignment of parts.
No warranty applies to paint finishes except for manufacturing defects apparent within 30 days from the date of installation.
The Company neither assumes nor authorizes any person to assume for it any other obligation or liability in connection with the product(s).
The Purchaser agrees that all warranty work required after the initial commissioning of the product will be provided only if the Company has been paid by the Purchaser in full accordance with the terms and conditions of the contract. The Purchaser agrees that the Company makes no warranty or guarantee, express, implied or statutory, including any warranty of merchantability or warranty of fitness for a particular purpose) written or oral, of the Article or incidental labour, except as is expressed or contained in the agreement herein.
LIABILITY: Technical data contained in the catalog or on the website is subject to change without notice. The Company reserves the right to make dimensional and other design changes as required. The Purchaser acknowledges the Company shall not be obligated to modify those articles manufactured before the formulation of the changes in design or improvements of the products by the Company. The Company shall not be liable to compensate or indemnify the Purchaser, end user or any other party against any actions, claims, liabilities, injury, loss, loss of use, loss of business, damages, indirect or consequential damages, demands, penalties, fines, expenses (including legal xpenses), costs, obligations and causes of action of any kind arising wholly or partly from negligence or omission of the user or the misuse, incorrect application, unsafe application, incorrect storage and handling, incorrect installation, lack of maintenance, improper maintenance or improper operation of products furnished by the Company.
Ruffneck™ is a key brand of Thermon
Copyright © 2023. All rights reserved.
Visit www.thermon.com to contact a Thermon representative near you.
HEAD OFFICE: 7171 SOUTHWEST PKWY BUILDING 300 SUITE 200 AUSTIN, TX 78735 UNITED STATES
RUFFNECK: 5918 ROPER ROAD EDMONTON, ABT6B-3E1 CANADA


















