
3 in 1 Bluetooth Audio
Transmitter/Receiver Adapter
Model: ZF-360A
User Manual
Dear friends, thanks for choosing our products.
In order to better use the functions of this product, please read this user manual before use.

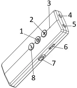
- Power ON / OFF (Press & hold >3s) Pause / Resume music (Press)
- Next track(Press) volume + (Press & hold)
- Indicator light (Blue: RX; Red: TX)
- AUX for TX
- AUX for RX
- Micro USB charging port
- RX / TX Mode switching
- Previous track(Press) volume – (Press & hold)
What’s Included
1x Bluetooth Transceiver
1x Micro USB Data Cable
1x 3.5mm Audio Cable
1x User Manual
Transmitter Mode
1,Turn on / off

- Red indicator light
- Long press for 3 seconds
- Toggle to TX
If there is no device access after turning on, the transceiver will automatically shut down in 5 minutes.
2,Pairing with your Bluetooth device

- Turn on the Bluetooth headset
For wireless headsets: Make sure that the headset is waiting for pairing (refer to the manual of the headset for details).
* For AirPods: Put AirPods in the charging compartment. Open the cover, then press and hold the button on the back of the charging compartment until the indicator light flashes white.

- Red light flashes slowly (reconnecting state)
Red light flashes quickly (searching status)
Red light is always on (pairing is successful)
After power on, the transceiver will automatically connect to the last connected device. If the connection is unsuccessful, it will enter the searching status.
Connecting to another device, please turn off the Bluetooth of the connected device first, or press and hold “+” “-” buttons at the same time to enter the searching status. The transceiver will search for a new pairing.
Can’t connect? Long press the power button for 8 seconds to clear the pairing record of the transceiver. Restart and make sure that the distance between the transceiver and the Bluetooth device is not more than 1 meter before trying to pair.
3,Connect with audio source devices
1) With the 3.5mm audio cable

- Projector
- MP3
- TV
- Radio
- Bluetooth Headset
- Bluetooth Speaker
Plug one end of the 3.5mm audio cable into the audio interface (marked TX) on the transceiver, and the other end into the AUX interface on the TV or other equipment.
2)With the data cable

- Computer
- Game console
- NS Dock
- Bluetooth Headset
- Bluetooth Speaker
Plug one end of the data cable into the charging port of the transceiver, the other end into PC, PS4, Switch dock and other devices that support USB audio output.(Some USB ports only support charging, Not for audio transmission.)
Receiver mode
1,Turn on / off

- Blue indicator light
- Long press for 3 seconds
- Toggle to RX
If there is no device access after turning on, the transceiver will automatically shut down in 5 minutes.
2,Pairing with your Bluetooth device

Turn on the Bluetooth of the mobile phone or other Bluetooth device, searching for the device named “ZF-360” to connect.

- Blue light flashes slowly (reconnecting state)
Blue light flashes quickly (searching status)
Blue light is always on (pairing is successful)
After power on, the transceiver will automatically connect to the last connected device. If the connection is unsuccessful, it will enter the searching status.
Connecting to another device, please turn off the Bluetooth of the connected device first, or press and hold “+” “-” buttons at the same time to enter the searching status. The transceiver will search for a new pairing.
Can’t connect? Long press the power button for 8 seconds to clear the pairing record of the transceiver. Restart and make sure that the distance between the transceiver and the Bluetooth device is not more than 1 meter before trying to pair
3,Connect with audio devices

- Mobile phone
- MP4
- Smart TV
- Tablet
- Notebook
- Wired Earphone
- Stereo
- Computer Speaker
- Wired Headphone
Plug the 3.5mm audio cable of the wired headset or wired speaker into the audio interface (marked RX) on the Bluetooth transceiver.
Button “+”: Previous/Press once; Volume up/Long press
Button “-“: Next/Press once; Volume down/Long press
Button “
” : Play or Pause/Press once (only for music player)
*Note: The “+” “-” button cannot control the volume of the computer system.
Charging

- Red light is always on (charging)
Red light is off (full charge)
FCC Warning Statement
Changes or modifications not expressly approved by the party responsible for compliance could void the user’s authority to operate the equipment. This equipment has been tested and found to comply with the limits for a Class B digital device, pursuant to Part 15 of the FCC Rules. These limits are designed to provide reasonable protection against harmful interference in a residential installation. This equipment generates uses and can radiate radio frequency energy and, if not installed and used in accordance with the instructions, may cause harmful interference to radio communications. However, there is no guarantee that interference will not occur in a particular installation. If this equipment does cause harmful interference to radio or television reception, which can be determined by turning the equipment off and on, the user is encouraged to try to correct the interference by one or more of the following measures:
‐‐ Reorient or relocate the receiving antenna.
‐‐ Increase the separation between the equipment and receiver.
‐‐ Connect the equipment into an outlet on a circuit different from that to which the receiver is connected.
‐‐ Consult the dealer or an experienced radio/TV technician for help.
FCC Radiation Exposure Statement
The device has been evaluated to meet general RF exposure requirement. The device can be used in portable exposure condition without restriction.
This device complies with Part 15 of the FCC Rules.
Operation is subject to the following two conditions:
(1)This device may not cause harmful interference, and
(2)This device must accept any interference received, including interference that may cause undesired operation.



















