
Contents hide
KB300 & KB301
Shock Replacement Instructions
P/N 300-6-KIT
Tools Needed

Phillips Head Screwdriver Flat Head Screwdriver
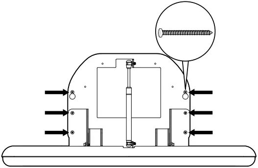
Hardware Provided
![]()
Shock Quantity: 1
Fig. 1

Step 1:
- Unlock the plastic liner dispenser with the included key and remove the four screws securing the liner dispenser to the frame. Fig. 1 Remove liner dispenser from wall.
Fig. 2

Step 2:
- There should be six screws holding the metal mounting frame to the wall. Fig. 2 Remove the four lower mounting screws. Keep all screws to remount the unit.
- Loosen the upper two mounting screws, but do not remove them. You should be able to lift the unit off the upper mounting screws using the keyhole slots.
Step 3:
- Once the unit is removed from the wall, allow the unit to close and lay it flat on a non-abrasive table or countertop with the frame side facing up.
- Place a piece of cardboard, towel or similar between the frame and the bed surface to protect the bed surface from the exposed frame.
Fig. 3

Step 4:
- Using a flat head screwdriver, release the tension on the “C” clip, which holds the bottom of the shock to the ball stud, by sliding the screwdriver between the “C” clip and the head of the shock. Once the tension is released pull the head of the shock off the ball stud. Repeat this for the other end of the shock. Fig. 3
Fig. 4

Step 5:
- Take the new shock and attach the thick end to the ball stud closest to the bottom of the frame by pushing it until you hear it click into place. Fig. 4 Twist the head back and forth to ensure it is secure.
Fig. 5

Step 6:
- Take the other end of the shock in one hand and the wall portion of the frame in the other. Close the frame against the bed surface. Slightly push down on the frame until the head of the shock lines up with the ball stud. Fig. 5 Push the shock onto the ball stud until it clicks into place. Twist the head back and forth to ensure it is secure.
Step 7:
- Remount the unit using the keyhole slots and the screws that were left in the wall. Replace the four lower mounting screws that were removed. Tighten all six screws to ensure the unit is secured to the wall.
Fig. 6

Step 8:
- Reattach the liner dispenser to the frame using the four screws you removed earlier. Fig. 6 Close and lock the liner dispenser with the included key.
Step 9:
- Open and close the unit several times to ensure the shock is working correctly. Clean the unit and work area.
Koala Kare Products
A Division of Bobrick
6982 South Quentin Street, Centennial, CO 80112-3945
Main: 303.539.8300 | Toll Free: 888.733.3456 | Fax: 303.539.8399
Website: koalabear.com | Email: [email protected]
©2021 Koala Kare Products, P/N 300-9 October 2021


















