
GENIUS
THE INGENIOUS ENERGY-SAVING
CONTROLLER
GENIUS BLE100
INSTALLATION & OPERATION GUIDE

Eurotronic Technology GmbH
Südweg 1 | 36396 Steinau-Ulmbach | Germany
www.eurotronic.org
The following operating instructions will guide you during commissioning and use of your GENIUS BLE 100 and answer all essential questions. Please read these operating instructions carefully before using your GENIUS BLE 100.
SCOPE OF DELIVERY
1x GENIUS BLE100
1x Quick Start Guide
2x AA LR6 batteries
3x Adapters (Danfoss RA / RAV / RAVL)
1x Screw for Adapter
HINWEIS: The following figures are for illustrative purposes only and can differ from the real product.

NOTE: Please check the delivery scope for completeness.
INTENDED USE
The Genius BLE 100 is a programmable electric remote control thermostat for controlling radiators. Only operate the device indoors. Any use other than that described in this operating manual is not intended and will result in the exclusion of warranty and liability. This also applies to conversions and/or modifications. Read the operating instructions carefully and keep them in a safe place. Only pass the product on to third parties together with the operating instructions.
WARNING / SAFETY
SAFETY INSTRUCTIONS
– GENIUS BLE100 is designed for use in buildings.
– Operate GENIUS BLE100 only as described in the user manual
– GENIUS BLE100 should only be put to use in a dry and dust-free place, away from direct sunlight.
– Do not keep using the device when ther is obvious damage.
– GENIUS BLE100 may not be rebuilt, modified or opened
WARNING! RISK OF EXPLOSION!
Improper handling of batteries can lead to an explosion.
– Do not heat batteries and do not throw batteries into an open fire.
– Do not place batteries in direct sunlight.
– Protect batteries from excessive heat.
– Do not short-circuit the batteries.
– Never attempt to charge non-rechargeable batteries.
– Never disassemble batteries.
– Do not use new and used batteries together.
– Observe the correct polarity (+/-) when inserting the batteries.
– Before inserting the batteries, clean the batteries and the contacts in the thermostat.
WARNING! RISK OF ACID BURNS!
Leaking battery acid can lead to burns.
– Avoid contact of battery acid with skin, eyes, and mucous membranes.
– In case of contact with battery acid, rinse the affected areas immediately with plenty of clear water and consult a doctor.
WARNING! RISK OF INJURY!
When children play with the thermostat or packaging, they might swallow small parts and suffocate.
– Do not let children play with the thermostat or packaging.
– Keep batteries away from children. Seek medical attention immediately if batteries are swallowed.
INTRODUCTION GENIUS BLE100
Thank you for purchasing a product from Eurotronic Technology GmbH. This device is designed to adjust the temperature in your rooms comfortably and completely according to your needs while helping you to reduce your heating costs effectively. All development and production are 100% „Made in Germany“, guaranteeing the highest quality and technology standards. These operating instructions will help you to put your device into operation quickly and easily.
The GENIUS BLE 100 energy-saving controller is an intelligent radiator controller for modern and simple operation, which can be conveniently programmed and controlled via Bluetooth (from home) with the free app.

CONTROLS AND DISPLAY ELEMENTS
To enter the menu, press the MENU button. Use the PLUS/MINUS buttons to navigate through the menu.
In normal mode, you can set the temperature with PLUS and MINUS.

Manual Operation:
Use PLUS/MINUS to manually change the room temperature at any time. In AUTO mode, this manually set temperature remains until the next set point. GENIUS BLE100 then switches back to the set heating program.
INSTALLATION AND START-UP
INSERTING/CHANGING BATTERIES
- Remove the battery cover by pulling it upwards at the notch (Fig. 1).
- Now insert the batteries. Pay attention to the correct polarity! Do not use rechargeable batteries.
- Place the battery cover back on the GENIUS BLE 100 (Fig. 2) by pressing until it clicks.
The GENIUS BLE 100 is only in menu mode after you have inserted the batteries during initial commissioning and after resetting to the factory settings. The menu item Assembly/Disassembly
flashes.
– When the batteries are changed, this stage is skipped and the adaptation run is carried out automatically.
– The configuration is retained if the battery is changed later. Please note:
– The key lock is deactivated.
– The target temperature is set to 16°.

BATTERY:
If the batteries are weak, the battery LED
will flash continuously until the batteries are changed.
INSTALLATION AT THE RADIATOR
GENIUS BLE 100 can easily be mounted on all known valve bodies (see adapter list at: https://eurotronic.org/service/faq/).
- Unscrew the old thermostatic head completely, loosen the fastening and pull it off the valve (Fig. 3)
- If necessary, select a suitable adapter and mount it on the valve (Fig. 4)
- Screw the thermostat onto the valve or adapter by turning the union nut clockwise (Fig.5).
CAUTION:
Make sure that the device is in the installation mode even if it is installed/removed later.
Only assemble/disassemble in this position.

ADAPTERS

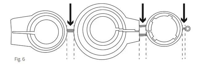
NOTE:
Remove the connectors of the plastic adapters completely (Fig. 6) before using one of the included adapters! For Danfoss RA/RAV, use the enclosed screw and nut.
For the following valves no adapter is required:
Heimeier; Junkers Landys+Gyr; MNG; Honeywell; Braukmann, as these have a thread of M30 x 1,5 mm. The adapters for Danfoss RAV (pin must be plugged on the valve tappet) Danfoss RA and Danfoss RAVL are included.
For the following valves you need an adapter:
Herz M28 x 1,5 mm; Comap M28 x 1,5 mm; Vaillant 30,5 mm; Oventrop M30 x 1,0 mm; Meges M38 x 1,5 mm; Ondal M38 x 1,5 mm; Giacomini 22,6 mm; Rossweiner M33 x 2,0 mm; Markaryd M28 x 1,0 mm; Ista M32 x 1,0 mm; Vama M28 x 1,0 mm; Pettinaroli M28 x 1,5 mm; T+A M28 x 1,5 mm; Gampper 1/2/6; Danfoss RA/RAV/RAVL.
For additional adapters, please visit: http://shop.eurotronic.org
If you are not sure which valve you have, please visit: www.eurotronic.org/service/faq/ and check the adapter list.

ADAPTATION
After installation, GENIUS BLE 100 can start adapting. The LED for Assembly/Disassembly
is already flashing, confirm the adaptation by pressing and holding the OK/SET button (3 seconds). The adaptation starts after confirmation. The device now adapts to the stroke of your valve body. To do this, the valve is now opened and closed several times to learn the respective endpoints. A running light is indicated by the LEDs. After successful adaptation, the GENIUS BLE 100 switches to normal operation and the LEDs indicate the setpoint temperature.
After approx. 5 seconds the thermostat switches to standby mode.
- If a new adaptation is necessary, e.g. if your radiator does not become cold in the OFF position, please select Assembly/Disassembly
in the menu. Confirm with OK/SET (3 seconds) and start the adaptation again - When the Assembly/Disassembly LED
flashes again, place the GENIUS BLE 100 on the radiator valve and then briefly remove the batteries to reset.
DISASSEMBLY
To remove GENIUS BLE 100, press the MENU button on your controller. USE PLUS/MINUS to navigate to the menu item for Assembly/Disassembly
and confirm with OK/SET. A running light is indicated by the LEDs. Wait briefly until the setting LED flashes. Now turn the union nut counterclockwise and remove the GENIUS BLE 100 from the valve (Fig. 7).

TEMPERATURE SETTING
The temperature can be set as desired using the PLUS and MINUS buttons. The temperature is always increased or decreased in 1.5° steps.
All 6 LEDs on: > 28° = heating ON (valve fully open, no regulation)
LED 1 to 5 on, 6 flashes: 28°
LED 1 to 5 on: 26,5 °
LED 1 to 4 on, 5 flashes: 25°
LED 1 to 4 on: 23,5°
LED 1 to 3 on, 4 flashes: 22°
LED 1 to 3 on: 20,5°
LED 1 and 2 on, 3 flashes: 19°
LED 1 and 2 on: 17,5°
LED 1 on, 2 flashes: 16°
LED 1 on: 14,5
LED 1 flashes: 13°
no LED on: < 8° = heating OFF (anti-freeze function active)
GENIUS APP
To enable data exchange between the GENIUS BLE 100 and your smartphone or tablet, the following steps must be followed:
- Make sure your smartphone has Bluetooth enabled (requires the availability of Bluetooth 4.2).
- Download the free Eurotronic GENIUS app from the Google Play Store or App Store. Alternatively, scan the QR code with your smartphone.

https://play.google.com/store/apps/details?id=org.eurotronic.geniusble
https://itunes.apple.com/de/app/eurotronic-genius/id1445429256?mt=8
When the app is installed, the operating system (Android) asks for permission to access the current location. This query must be answered with „YES“ to avoid errors during the Bluetooth connection.
NOTE: The information „current location“ is not required by the Eurotronic Genius app, but by the operating system for the Bluetooth connection.
NOTES:
- The following description refers to the Android app as an example. Minor deviations may occur during the operation of the iOS app.
- Please always use the latest version of the app from the Google Play Store or App Store. Some descriptions in this manual may differ with newer versions of the app.
- During operation, a Bluetooth connection must first be established to the device before an action can be performed.
You will therefore notice a delayed response to your controls.

NOTE: If you want to use several devices, but the devices are into operation one after the other in order to be able to make an unambiguous assignment of the devices.
DEVICES (APP)

NOTE: The device takes the date and time of your smartphone.
TEMPERATURE (APP)
You can set your comfort temperature under the menu item „Temperature“.

NOTE: When the batteries are charged, the target temperature is set to 16°.
HEATING PROFILE (APP)
In the menu item „Heating profile“ you can create individual heating profiles.
NOTE:
Make sure that the distance between the energy-saving controller and the mobile device is not exceeded when entering new data. The communication distance may be shortened by the construction of the building or other obstacles.
After entering new heating times, confirm with the button „Transmit heating times“ that the old data will be overwritten.
HOLIDAY FUNCTION (APP)
The menu item „Holiday“ allows you to create a holiday profile for the time of your absence.

SETTINGS (APP)
Under the menu item „Setting“ you can set the window-open-detection and activate the key lock.
SUPPORT (APP)

FURTHER FUNCTIONS
Window-open-detection: The GENIUS BLE100 automatically closes the heating valve to save energy if you open a window and the temperature thereby drops significantly. If window-open detection is active, the window-open detection LED lights up. The LED lights up until the set time has elapsed and the thermostat returns to normal mode.
Key lock: Please select the menu item Keylock in the menu. To do this, use PLUS/MINUS to navigate through the menu until the Keylock LED
lights up. Now confirm with OK/SET. Manual operation on the controller is now disabled.
To unlock the key lock, press and hold the MENU and OK/SET buttons simultaneously for about 10 seconds.
NOTE:
While the key lock is active, the LED next to the key lock icon
lights up when an attempt is made to make changes to the thermostat.
When the key lock is unlocked, the Key Lock
LED turns on and off briefly. The current temperature is then displayed via the illuminated LEDs.
When the batteries are charged, the key lock is deactivated.
Anti-freeze and anti-scale function: The anti-freeze and anti-scale functions are automatically active.
Anti-freeze function: If the temperature drops below 8°C, GENIUS BLE 100 opens the valve until the temperature rises above 8°C again. This prevents the radiators from freezing.
Anti-scale function: To prevent the radiator valves from scaling, GENIUS BLE 100 regularly carries out a scaling protection run.
Resetting: If you wish to reset the radiator controller to the factory settings, press and hold the PLUS/MINUS buttons simultaneously for at least 10 seconds. A running light is indicated by the LEDs. After a successful reset, the LED for Assembly/Disassembly
starts flashing.
The procedure is now the same as for initial commissioning. Now proceed as for the initial commissioning.
CLEANING AND STORAGE
RISK OF DAMAGE! Improper handling of the thermostat can lead to damage.
- Do not immerse the thermostat in water or other liquids.
- Do not use aggressive cleaning agents, brushes with metal or nylon bristles or sharp or metallic cleaning objects such as knives, hard spatulas and the like. These can damage the surface.
- Clean the thermostat with a soft, dry cloth. Do not exert pressure on the display.
Switch off the device and remove the batteries if you will not be using the device for a long time. Store the device in a dry, dust-free place.
ERROR MESSAGES AND HELP
| Error | Cause | Solution |
| The LED for battery flashes continuously. ![]() | Battery low | Insert new batteries. |
| Radiator does not warm up. | Boiler water temperature OK? Valve does not open after the summer heating break – is it scaled? | Correct boiler water temperature, remove GENIUS BLE 100. Move the valve tappet back and forth several times by hand/tool. |
| Radiator does not get cold. | Valve does not close completely. The the closing point of your valve seal may have shifted. | Perform new adaptation (see „Adaptation“) Move the valve tappet several times by hand – adaptation may not be possible because the valve may have scaled or the seal no longer fulfills its function. |
Thrust piece falls out.![]() | An endless thread can cause the thrust piece located on the underside to fall out if the controller has not been applied to the valve. | Insert thrust piece. Press the OK button or perform an adaptation of the device by removing and reinserting the batteries. The endless thread now turns and tightens the thrust piece again. Attach to the radiator and perform adaptation again. |
| The LED for Assembly/Disassembly flashes. ![]() | Assembly error, no adaptation possible • GENIUS BLE 100 is not mounted on the radiator • Valve stroke too short • no valve movement possible | Mount the device correctly on the radiator. If required, use a suitable adapter from the included accessories or other adapters from our webshop at www.eurotronic.org. |
TECHNICAL SPECIFICATIONS
| Name of device | GENIUS BLE 100 |
| EAN | 4.26E+12 |
| Article Number | 700071 |
| Supply Voltage | 2 x 1,5V LR6/Mignon/AA |
| Connection | M30 x 1,5mm |
| Method of operation | Type 1 |
| Dimensions (w x h x d) | 56 x 68 x 89 mm |
| Weight | 149,7 g (incl. batteries) |
| Degree of protection | IP20 |
| Degree of pollution | 2 |
Technical modifications are subject to change. All descriptions for compatibility are without engagement.
SUPPORT AND CONTACT
For technical support for the Eurotronic products, please contact Eurotronic via e-mail or telephone:
Customer Service: Eurotronic Technology GmbH
Südweg 1
36396 Steinau-Ulmbach
Germany
telephone: +49 (0) 6667 91847- 0
e-mail: [email protected]
ENVIRONMENTAL INFORMATION
From the date of transposition of the European Directives 2012/19/EU into national law, the following shall apply:
Electrical and electronic devices, as well as batteries, must not be disposed of with household waste.
The consumer is legally obliged to return electrical and electronic equipment and batteries at the end of their service life to the public collection points set up for this purpose or to the point of sale. Details are regulated by the respective national law.
Batteries and rechargeable batteries must not be disposed of with household waste!
As a consumer, you are legally obliged to dispose of all batteries and rechargeable batteries, no matter whether they contain harmful substances* or not, at a collection point in your municipality/city district or in the respective stores, so that they can be disposed of in an environmentally friendly manner.
Dispose of Packaging:
Dispose of the packaging sorted by type. Add paperboard and cardboard to the waste paper, foils to the recyclables collection. Dispose of the packaging sorted by type. Add paperboard and cardboard to the waste paper, foils to the recyclables collection.
The symbols on the product, the instruction manual or the packaging refer to these regulations. By recycling, material utilization or other forms of utilization of old devices/batteries, you make an important contribution to the protection of our environment.
Eurotronic Technology GmbH hereby declares that the GENIUS LED 100 radiator thermostat complies with all applicable European Economic Area regulations of Directive 2014/53/EU. The full text of the EU Declaration of Conformity is available at the following Internet address: https://eurotronic.org/service/downloads.
The Bluetooth® word mark and logos are registered trademarks owned by Bluetooth SIG, Inc. and any use of such marks by Eurotronic Technology GmbH is under license. Other trademarks and trade names are those of their respective owners.
The Apple Logo, iPad and iPhone are brands of Apple Inc., which are registered in the USA and other countries. App Store is a service brand of Apple Inc. Google Play, Android, and other brands are brands of Google Inc.
Google Play, Android und andere Marken sind Marken von Google Inc.
WARRANTY
The two-year warranty begins on the day of purchase. Please keep the receipt as evidence of purchase in the future. During the guarantee period, defective radiator thermostats may be sent to the service address below. Please ensure sufficient postage is paid.
A new or repaired device will then be sent to you free of charge. There is no new warranty period starting when repairing or replacing the device. Please note that we only grant a warranty on the function of the device. We will not grant a warranty for the interaction between the thermostat and the bottom part of the valve. The technical data is only valid for the use of the following valves: Heimeier, Junkers Landys+Gyr, MNG, Honeywell Braukmann (a measure of thread M30x1,5), Oventrop (M30x1,5) Danfoss RA, RAV und RAVL.
Please see the combinations of the devices on our website (www.eurotronic.org/service/faq/)
Following the expiry of the warranty, you may still send the defective device to the address below for repairs. Please ensure sufficient postage is paid. Repairs carried out after the guarantee are subject to a charge. Your legal rights are not affected by this guarantee.
Eurotronic Technology GmbH
Südweg 1 | 36396 Steinau-Ulmbach | Germany
www.eurotronic.org






















