Hisense DH5023KP 50 Pint Dehumidifier

Product Information
The ITM/ART 2575321 50-Pint Dehumidifier is an electronic appliance that helps in removing excess moisture from the air. The dehumidifier has a capacity of removing up to 50 pints of moisture in a day, making it ideal for use in large rooms or spaces. The product comes with safety features to prevent electrical shock, fire hazards, and injury.
Safety Information
All safety messages will tell you what the potential hazard is and tell you how to reduce the change of injury.
DANGER: A hazard that If not avoided will result In death or serious injury.
WARNING: A hazard that if not avoided could result In death or serious Injury.
CAUTION: A hazard that if not avoided may result in minor or moderate injury.
Your safety and the safety of others are very important, we have provided many important safety messages in this manual and on your appliance. Please always read and obey all safety messages. To reduce the risk of fire, electrical shock or injury when using your dehumidifier, please follow these basic precautions.
- Plug into a grounded 3-prong outlet.
- Do not remove ground prong.
- Never attempt to operate this appliance if it is damaged, malfunctioning, partially disassembled, or has missing or broken parts, including a damaged cord or plug.
- Do not use an electrical adapter or multiple-outlet adaptors with this dehumidifier.
- Do not use an extension cord.
- Unplug the dehumidifier before servicing.
- Do not drink water collected in the water bucket.
- The appliance is not intended for use by young children or impaired persons without supervision. Young children should be supervised to ensure that they do not play with the appliance.
- Keep packing materials out of the reach of children. Packaging material can be dangerous for children. There is a risk of suffocation.
- Do not use the appliance in standing water or allow the product to be directly splashed by water during use.
- Store and install the appliance where it will not be exposed to temperatures below freezing or exposed to outdoor weather conditions.
- Call an authorized service technician to repair or immediately replace all power cords that have become damaged. Do not use a cord that shows cracks or abrasion damage along its length or at either end.
- Do not use the product if the outlet is damaged or loose.
- In the event of a gas leak (propane gas, LP gas, etc.) do not operate this or any other appliance. Open a window or door to ventilate the area immediately.
- Do not disassemble, repair or modify the product.
- Do not store or use flammable gases or materials near the dehumidifier.
OPERATION
Read all instructions before using the appliance and save these instructions.
- Do not tamper with controls.
- Push the power plug all the way into the wall outlet so that it is not loose.
- Do not grasp the power cord or touch the appliance controls with wet hands.
- Do not modify or extend the power cord.
- If the product makes a strange noise or emits a smell or smoke, pull the power plug out and contact customer service.
- Avoid placing the dehumidifier or other heavy objects on top of the power cord.
- Do not use water to clean the dehumidifier.
- Keep the air inlet and outlet free from obstructions.
- Do not cover the power cord with a rug or carpeting. Placing heavy objects on top of the cord could damage it.
- Keep the product away from fire and high heat.
- Do not use the product in places where it could be splashed by water.
- Do not insert fingers, sticks etc. into the air inlet or outlet. The fan is running at high speeds and could cause personal injuries.
- Do not repair or replace any part of the appliance. All repairs and servicing must be performed by qualified service personnel un-less specifically recommended in this owner’s manual. Use only authorized factory parts. Connect to a properly rated, protected, and sized power circuit to avoid electrical overload.
- Do not use the product for preserving animals/plants, precision instruments, art works, etc.
- Do not place any objects on top of the dehumidifier.
- Turnoff the dehumidifier and empty the water bucket before mov-ing the dehumidifier.
- Pull out the power plug if you will not be using the product for an extended period.
- Do not use the product in a very small space such as a closet. Poor ventilation could result in overheating.
- Do not use wax, thinner or a strong detergent when cleaning. Wipe the product using a soft cloth.
- Do not use the product in direct sunlight or rain.
- Do not touch the product with wet hands.
- Position the product on a firm, stable surface.
- Remove cable ties and extend power cord before use.
- Do not spray foreign substances or water on the product.
INSTALLATION
- Use this appliance only for its intended purpose. This product is not designed for preserving precision instruments, tableware or art works.
- Never unplug the appliance by pulling on the power cord. Always grip the plug firmly and pull straight out from the outlet.
- Do not use the product in places where chemicals are used. Chemicals and solvents dissolved in the air could cause product deforma-tion and leaking.
- Turn off the dehumidifier and pull out the power plug before cleaning. Wait for the fan to stop moving.
- Do not operate the dehumidifier without a filter.
- Using the product without a filter could result in a reduced product lifespan, electric shock or injury.
STORAGE AND DISPOSING OF THE UNIT
- Dispose of this appliance in accordance with Federal and Local regulations. Refrigerants must be evacuated before disposal.
- Please recycle or dispose of the packaging material for product in an environmentally responsible manner.
- Never store or ship the appliance upside down or sideways to avoid damage to the compressor.
Pre-Installation
PACKAGE CONTENTS

| Part | Description |
| A | Control panel |
| B | Handle |
| C | Hose cover |
| D | Bucket |
| E | Bucket handle |
| F | Air filter |
| G | Power plug |
| H | Quick connect hose (for pump function model only) |
| I | User manual |
ELECTRICAL REQUIREMENTS
Specific electrical requirements are listed in the chart below. Follow the requirements for the type of plug on the power supply cord.
WARNING:
- Plug into a grounded 3-prong outlet.
- Do not remove ground prong.
- Do not use an adapter.
- Do not use an extension cord.
- Failure to follow these instructions can result in death, fire, or electrical shock.
Recommended Grounding Method
This dehumidifuer must be grounded. This dehumidifier is equipped with a power supply cord with a three-prong grounding plug. The cord must be plugged into a properly grounded three-prong outlet, grounded in accordance with all local codes and ordinances. If a properly grounded outlet is not available, it is the customer’s responsibility to have a properly grounded three-prong outlet installed by a qualified electrician.
Customer’s Responsibility
- To contact a qualified electrician.
- To assure that the electrical installation is adequate and conforms to the national electrical code. ANSI/NFPA 70-last edition, and all local codes and ordinances.
Copies of the standards listed may be obtained from: National Fire Protection Association
1 Batterymarch Park
Quincy, MA 02169-7471
www.nfpa.org
Wiring Requirement
LOCATION REQUIREMENTS
WARNING: To reduce the risk of injury to persons, malfunction, or damage to the product or property when using this appliance, follow basic safety precautions, including the following:
- Do not locate outdoors. This dehumidifier is intended for indoor, residential use only. This dehumidifier is not recommended for commercial use.
- Allow at least 12 in. to 18 in, (30.5 cm to 45.7 cm) of space on the rear and sides of the dehumidifier for models with back louver and above the dehumidifier for models with top louvers.

- You will need a surface strong enough to support the dehumidifier when its bucket is full of water.
- You will need a surface level enough to keep the water from spilling when the bucket is full of water.
- Do not block the louvers of the unit.
- Never operate this dehumidifier in an area that is likely to accumulate standing water. If this condition develops, for your safety disconnect the power supply before stepping into the water.
Operation
- Before turning on the dehumidifier, be sure that the bucket is empty and fits all the way into the dehumidifier.
- Each time you unplug the dehumidifier or power is interrupted, the controls will return to the previous settings when power is restored.
- Humidity displayed is between 30% and 90% relative humidity.
- Humidity can be set between 30% and 80% relative humidity.
- It’s important to set the desired humidity level to an achievable setting. To ensure energy-efficient operation, only use the dehumidifier in a closed space, with no open windows or other sources of moist air (to avoid continuous running).
- Operating temperature is between 38°F to 90°F (3.2°C to 32.2°C). At temperatures of 38°F (3.2°C) or less, water freezes inside the product. At temperatures over 90°F (32.2°C), the internal temperature of the product trips a protective device which deactivates the product to avoid product damage.
- The compressor has a 3-minute delay before restarting. If the product is stopped and immediately restarted, to protect the compressor there is a 3-minute delay until the compressor restarts.
- When the dehumidifier is operating, the indoor temperature will rise. The dehumidifier does not have a cooling/heating function. Heat is generated during operation, so the room temperature may be increased by about 6°F (3°C) depending on the usage conditions (indoor temperature, size of the room).
Using the Control Panel
POWER ON OR OFF
Press POWER to turn on or off the dehumidifier.
DESIRED HUMIDITY MODE- Press and release MODE until you see the symbol for the desired humidity setting. Operating modes are Auto Dry, Continuous or Manual Set.
Auto Dry – The dehumidifier will operate in dry mode only. The fan speed is set automatically. The desired humidity is set to 50% automatically.
Continuous – The dehumidifier will operate continuously. The fan speed can be adjusted. The desired humidity can not be adjusted.
Manual Set – The dehumidifier will operate at the selected fan speed to the set humidity level. If the humidity level of the room is higher than the desired humidity setting, the compressor will turn on. If the humidity level of the room is lower than the desired humidity setting, the compressor will turn off, as well as the fan.
EMPTY BUCKET LIGHT
If this light is on, the fan and the compressor will stop running. This light indicates that you need to check:- If the bucket is full, empty and re-install bucket. If the bucket is not in position, remove the bucket and re-install it. Make sure the bucket fits all the way into the dehumidifier and the bucket light is off, or dehumidifier will not run.
FAN SPEED- Press FAN to select fan speed.
- Choose LOW, HIGH or AUTO.
- LOW-Reach the desired humidity setting with lower sound level.
- HIGH-Will more quickly reach the desired humidity setting.
- AUTO-Achieves set humidity at normal speed.
HUMIDITY LEVEL- Press the Plus or Minus button to set the desired humidity level. Desired humidity in the digital display will flash for 5 seconds after operation.
- Actual room humidity will be displayed after 5 seconds of flashing the desired humidity.
DIGITAL DISPLAY
Display shows relative humidity or time (depending on setting).- When the dehumidifier operates in Manual Set mode, the display shows the relative humidity of the room.
- When the timer is selected, the display shows the time when the dehumidifier will turn on or turn off operates, depending on the setting.
TIMER
To set Timer for a 30-minute to 24-hour delay before the dehumidifier is turned off (the dehumidifier must be On):- Press TIMER. Timer indicator light will come on, and the display will flash. The display will show remaining time before the dehumidifier wiII turn off.
- Press the Plus or Minus button to change the delay time, from 30 minutes to 24 hours. To set Timer to turn on the dehumidifier, with previous setting:
- Turn off the dehumidifier.
- Press TIMER. Timer indicator light will flash. The display will show remaining time before the dehumidifier will turn on.
- Press the Plus or Minus button to change the delay time, from 30 minutes to 24 hours.
To clear the Timer delay program: - Press TIMER once after it has been programmed. Display will show remaining time. While the display is showing the remaining time, press TIMER again. Timer indicator light will turn off.
CLEAN FILTER- When the Clean Filter indicator light is on,remove, clean and replace the air filter. See “Cleaning the Air Filter”.
- Press the Clean Filter button to reset the filter monitor.
PUMP (for pump function model only)
This feature pumps water horizontally or vertically. Pump water to a drain, out a window or anywhere you think suitable.- Press PUMP to activate the pump system for active drainage.
- Once the pump button is pressed, the pump light will switch on.
NOTE:
- If the pump light flashes, it means that the pump is not functioning properly.
- If the drain hose is not correctly connected to the unit or is bent, the pump light will flash and the pump system will not work. See ‘’Trouble shooting” for direction.

Normal Sounds
When your dehumidifier is operating normally, you may hear sounds such as:
- Air movement from the fan.
- Clicks from the thermostat cycling.
- A high-pitched hum or pulsating noise caused by the high-efficiency compressor cycling on and off.
Care and Cleaning
Draining the Dehumidifier – Bucket Draining
WARNING: Sickness Hazard Do not drink water collected in water bucket. Doing so can result in sickness.
If a floor drain is not available, or you do not plan to run your dehumidifier continuously, you may want to simply empty the bucket.
- Grasp the bucket (E) sides to slide out bucket.

- Lift the bucket (E) up by the handle (D).

- Pour water into a sink or tub.

- Fold down the handle (D) and reinstall the bucket (E).
IMPORTANT: If the Empty Bucket light comes on, the dehumidifier will not operate. The bucket may need to be emptied or re-installed.
NOTE:
- If the water bucket is removed immediately after turning off the dehumidifier, the water remaining in the heat exchanger may drip inside the water bucket storage area. Remove the water with a soft cloth.
- While cleaning, do not touch the water level float.
- Clean the water bucket once a week during use.
- If the ambient temperature is low, there is less moisture in the air for the product to remove.
- Unplug the product before removing the water bucket. If the bucket is removed while the product is operating, the compressor will stop.
Care and Cleaning
Gravity Draining
If you plan to run your dehumidifier continuously, you can choose direct draining by attaching a garden hose to the unit.
- Models without a pump:
- Turn off the dehumidifier and unplug the power supply cord.
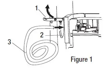
- Uncover the connector cover on the side of the unit (1). (Figure1)

- Remove bucket.
- Attach a garden hose (2) to the drain hose connector (3) on the inside of the dehumidifier. Securely attach the hose to be sure there is no water leak. (Figure 2)

- Reinstall bucket.
- Models with a pump:
- Turn off the dehumidifier and unplug the power supply cord.
- Uncover the connector cover on the back of the unit (4).
- Attach a garden hose (5) to the drain hose connector (6) on the back of the dehumidifier. Securely attach the hose to be sure there is no water leak. (Figure 3)

- For both models:
- Place the other end of garden hose into a floor drain. Check to see that the hose lies flat and is in the drain (8). Make sure all the parts of the hose is on a lower level (7) than the hose connector on the dehumidifier. (Figure 4)
Also, the outlet of the hose should be at least 5.5 in. lower than the hose connector. The hose should not be kinked or pinched.(Figure 5)
- Place the other end of garden hose into a floor drain. Check to see that the hose lies flat and is in the drain (8). Make sure all the parts of the hose is on a lower level (7) than the hose connector on the dehumidifier. (Figure 4)
NOTE:
- Garden hose sold separately.
- The drain hose inner diameter should greater than 1/2 in.
- The connector is designed for North American garden hoses only.
- To use the bucket without the garden hose, simply remove the garden hose, then reinstall bucket.
- For models with pump ,you may also cover the connector cover after remove the garden hose.
- The bucket must be installed and properly aligned for the dehumidifier to operate.
IMPORTANT: In North America the garden hose connectors are 3/4 in. diameter straight (non-tapered) thread with a pitch of 11.5 threads per inch (male part has an outer diameter of 1-1/16 in. (26.99 mm).
WARNING: Do not injure hands while connecting the hose.
Pump Draining (models with a pump)
This feature can help to pump water horizontally or vertically with a 16 ft. (487.68 cm) hose included. You can also pump water to a floor drain, out a window or anywhere you think suitable.
NOTE: You must connect the drain hose to drain hose connector before pressing Pump button. If the pump does not function properly, see “Troubleshooting” for direction.
- To connect the drain hose to the unit, uncover the connector cover (1) on the side of the unit, and pass the hose (3) through the side hole (2). (Figure 1)

- Insert the drain hose (3) into the drain hose connector (4) and ensure the hose is plugged to the bottom of the connector. (Figure 2)

To disconnect the drain hose.
- Method 1: Push the “PUSH” button on the connector through the side hole (do not release). In the meantime pull the drain hose out, and cover the connector cover. (Figure 3)

- Method 2: Slide out the bucket, pinch the “PUSH” button by the finger (do not release) as the image shows. In the meantime pull the drain hose out, cover the connector cover, and reinstall the bucket. (Figure 4)

NOTE: To make sure there is no leakage, it is recommended a 1 in. short piece of the drain hose should be cut off after 3 times disconnection.
Cleaning the Water Filter (pump models only)
- Unplug the unit before cleaning it. After every 3 months of usage, the water filter needs to be cleaned for smooth water pump running.
- Remove the air filter (1), and slowly lean the unit backward with a small angle (<5°). Prepare a container (3) to catch the water, and unscrew the connector cover (2) on the back of the unit. (Figure 1)

- When the water comes out from the nozzle, please use a container to catch the water. (Figure 2)

- Pull out the water filters (4). (Figure 3)

- Clean the water filters with soft brush. (Figure 4)

- If the filter is very dirty, wash it in water and a neutral detergent.
- Clean the water filter every 3 m onths.
- Re-install the water filters (4) and make sure they are installed in the right position. (Figure 5)

- Re-install the air filter.
NOTE: There are two different water filters: the one mark “L” is on the left side and the one mark “R” on the right side. Make sure they are correctly installed.
WARNING: Do not injure hands while disassembleing and re-installing the water filter parts.
IMPORTANT: The water filter needs to be cleaned every three months on models with an internal pump.
NOTE: If the unit will not be used for a certain period of time, please clean the water filter, and drain the dehumidfier completely. Re-install the water filter parts.
Cleaning the Filter
The air filter is removable for easy cleaning. A clean filter helps remove dust, lint, and other particles from the air and is important for best operating efficiency. Check the filter every two weeks to see whether it needs cleaning.
- Turn off the dehumidifier.
- Remove the air filter.
- Use a vacuum cleaner to clean the air filter if the air filter is dirty, or wash it in warm water with a mild detergent.
- Reinstall the air filter.
- Turn on the dehumidifier.
NOTE: Do not wash air filter in the dishwasher or use any chemical cleaner. Air dry filter completely before reinstalling to ensure maximum operating efficiency.
Cleaning the Exterior
- Turn off the dehumidifier and unplug the power supply cord.
- Dust the surface of the unit with a soft cloth or the dusting attachment of your vaccum cleaner.
Cleaning the Water Bucket
Every few weeks, rinse the inside of the water bucket with a mild detergent to avoid growth of mold, mildew and bacteria.
Water level float
The dehumidifier has a EMPTY BUCKET light and a water float (1). The bucket (2) must be properly aligned for the water level float and the EMPTY BUCKET light to work.
Troubleshooting
| Problem | Solution |
| Dehumidifier will not operate | DANGER: ELECTRICAL SHOCK HAZARD □Plug into a grounded 3-prong outlet. □Do not remove ground prong. □Do not use an adapter. □Do not use an extension cord. □Failure to follow these instructions can result in death, fire, or electrical shock. □The dehumidifier is turned off. Turn on the dehumidifier. □The power supply cord is unplugged. Plug into a grounded 3-prong outlet. See “Pre-Installation” on page 5. □A household fuse has blown, or a circuit breaker has tripped. Replace the fuse, or rest the circuit breaker. See “Electrical Requirements” on page 4. □The bucket is not installed correctly. Reinstall the bucket so that it fits all the way into the dehumidifier. □The bucket needs to be emptied. Empty the bucket. □The water level float is not in place. Remove the bucket. Make sure the float is snapped in place. Reinstall the bucket. □The dehumidifier suddenly stopped operating and won’t turn on. Confirm the power is connected, and the bucket is in place. If the unit still doesn’t operate, call Home Depot for Warranty service. |
| Dehumidifier runs but does not dehumidify | □All models have an automatic de-icing function that will shut off the compressor and allow the fan to run. When the de- icing function senses the correct operating temperature, the compressor will cycle back on. □The filter is dirty or obstructed with debris. Clean the filter. |
| Air coming from the dehumidifier is warm | □ Dehumidifier will put out warm air under normal operating conditions. |
| Dehumidifier displays error codes | □ If the dehumidifier displays an error code, please contact customer service. |
| No water comes out from the Quick connect hose (pump function model) | □The pump function is not activated. Press the Pump button to activate the pump function. The light will turn on. □The drain hose is not connected correctly. Ensure the hose is plugged to the bottom of the connector. See Pump Draining □The drain hose is bent or blocked. Ensure the hose is not bent or blocked □The water filter has not been cleaned. Clean the water filter. |
Company Information
Operating hours: Monday- Friday: from9 a.m. to 9 p.m. EST,
Saturday- Sunday: from 9 a.m. to 6 p.m. EST
Language: English and Spanish
Made in Thailand
Imported by:
Hisense USA Corp.
105 Satellite Blvd NW Suwanee, GA
30024 USA1-877-465-3566
www.hisense-usa.com

DESIRED HUMIDITY MODE
DIGITAL DISPLAY
CLEAN FILTER






Also, the outlet of the hose should be at least 5.5 in. lower than the hose connector. The hose should not be kinked or pinched.(Figure 5)



























