way Icebox 3.0 NA RFID Module
User Manual
Scope
This document is applied to the ST25R3911B, a highly integrated NFC Initiator / HF reader IC, of the manufacturer STMicroelectronics.
Description
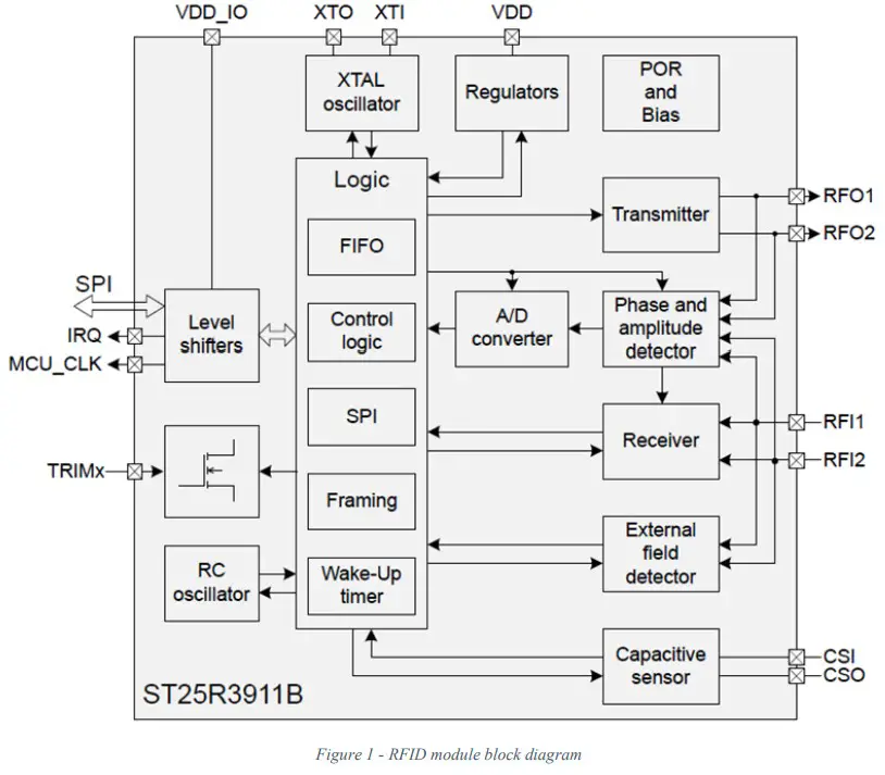
The ST25R3911B is a highly integrated NFC Initiator / HF reader IC, including the analog front end (AFE) and a highly integrated data framing system for ISO 18092 (NFCIP-1) initiator, ISO 18092 (NFCIP-1) active target, ISO 14443A and B reader (including high bit rates), ISO 15693 reader and FeliCa™ reader.
The ST25R3911B is designed to operate from a wide (2.4 V to 5.5 V) power supply range; peripheral interface IO pins support power supply range from 1.65 V to 5.5 V.
The module is mounted on the RFID Board of the Juice Box 3.0 NA.
Diagrams

– Controller: ST25R3911B
– Communication bus with MCU: SPI
– Crystal Fo: 27,12 MHz
– Controller and antenna lay on the same PCB

Pictures

Dimensions
The ST25R3911B is available in a 32-pin QFN (5 x 5 mm) package. Dimensioning and tolerances conform to ASME Y14.5M-1994. Coplanarity applies to the exposed heat slug as well as to the terminal. Radius on terminal is optional. N is the total number of terminals. All dimensions are in mm. All angles are in degrees.


Pin Layout


Electrical characteristics

Figure 10 – Electrical parameters

Figure 11 – Temperature ranges and storage conditions

Figure 12 – Operating conditions
Frequency bands
- Fo: 13,56 MHz
- Bandwidth: 2,26 kHz
Construction information
- Coil realized on PCB
- Internal
- Gain: N/A
- RFID board external dimensions: 79mm x 50mm
- Antenna external dimensions: 47mm x 34mm
- Four turns antenna
Antenna check
The concrete contents of a check are the following two points:
- It is the same type as the antenna type of antenna specifications
- Confirm the same size as the Gerber file.
Radio Certification Information
| Enel X Way FCC ID: | 2A5OV-ST25 |
| Enel X Way ISED ID: | 28561-ST25 |
This device complies with part 15 of the FCC Rules. Operation is subject to the following two conditions: (1) This device may not cause harmful interference, and (2) this device must accept any interference received, including interference that may cause undesired operation.
FCC CAUTION
Changes or modifications not expressly approved by the party responsible for compliance could void the user’s authority to operate the equipment.
This transmitter must not be co-located or operated in conjunction with any other antenna or transmitter.
This equipment complies with FCC radiation exposure limits set forth for an uncontrolled environment and meets the FCC radio frequency (RF) Exposure Guidelines. This equipment should be installed and operated keeping the radiator at least 20cm or more away from person’s body.
The module is only for integration in Enel X Way products and will not be sold to the general public. KDB 996369 D04 will be considered for new hosts. The following conditions will also need to be met when installing the module in a new host:
1)The antenna must be installed such that 20 cm is maintained between the antenna and users 2)The transmitter module may not be co-located with any other transmitter or antenna.
As long as 2 conditions above are met, further transmitter test will not be required; a C2PC is required to change any of these conditions.
Industry Canada (IC) compliance statements
This device complies with Industry Canada’s license-exempt RSSs. Operation is subject to the following two conditions:
- This device may not cause interference;
- This device must accept any interference, including interference that may cause undesired operation of the device.
This equipment complies with IC radiation exposure limits set forth for an uncontrolled environment and meets RSS-102 of the IC radio frequency (RF) Exposure rules. This equipment should be installed and operated keeping the radiator at least 20cm or more away from person’s body.
The module is only for integration in Enel X Way products and will not be sold to the general public. KDB 996369 D04 will be considered for new hosts. The following conditions will also need to be met when installing the module in a new host:
- The antenna must be installed such that 20 cm is maintained between the antenna and users,
- The transmitter module may not be co-located with any other transmitter or antenna.
As long as 2 conditions above are met, further transmitter test will not be required; a C2PC is required to change any of these conditions.
INTEGRATION INSTRUCTIONS
2.1 General
Sections 2.2 through 2.12 describe the items provided in the integration instructions to use when integrating a module in a host product.
2.2 List of applicable FCC rules
See the following chapters:
- “Radio Certification Information”
- “Federal Communications Commission (FCC) compliance statements”
- “Industry Canada (IC) compliance statements”
- “APPENDIX”
2.3 Summarize the specific operational use conditions
The Juice Box 3.0 NA and the RFID module are designed for indoor and outdoor use, according to the Installation Manual of the Juice Box 3.0 NA.
2.4 Limited module procedures
N.A.
2.5 Trace antenna designs
The layout of the RFID board (i.e., RFID module, antenna, traces, etc.) follows the guidelines provided by the Manufacturer STMicroelectronics.
2.6 RF exposure considerations
See the following chapters:
- “Federal Communications Commission (FCC) compliance statements”
- “Industry Canada (IC) compliance statements”
- “APPENDIX”
2.7 Antennas
See the chapter “Construction information” and the document “Antenna Specifications”.
2.8 Label and compliance information
See the documents describing the RFID and JuiceBox3.0NA label.
2.9 Information on test modes and additional testing requirements
See the documents “FCC Modular request” and “IC Modular request”.
2.10 Additional testing, Part 15 Subpart B disclaimer
See the chapter “FCC Compliance Statement/Part 15”.
2.11 Note EMI Considerations N.A.
2.12 How to make changes
The module manufacture will provide contact information and some guidance to host providers in the integration instructions if the module will be used differently than granted.
APPENDIX
Federal Communications Commission (FCC) and
Industry Canada (IC) compliance statements of Juice Box 3.0 NA
FCC Compliance Statement
Part 15
This device complies with part 15 of the FCC Rules. Operation is subject to the following two conditions: (1) This device may not cause harmful interference, and (2) this device must accept any interference received, including interference that may cause undesired operation.
This equipment has been tested and found to comply with the limits for a Class B digital device, pursuant to part 15 of the FCC Rules. These limits are designed to provide reasonable protection against harmful interference in a residential installation. This equipment generates, uses and can radiate radio frequency energy and, if not installed and used in accordance with the instructions, may cause harmful interference to radio communications. However, there is no guarantee that interference will not occur in a particular installation. If this equipment does cause harmful interference to radio or television reception, which can be determined by turning the equipment off and on, the user is encouraged to try to correct the interference by one or more of the following measures:
- Reorient or relocate the receiving antenna.
- Increase the separation between the equipment and receiver.
- Connect the equipment into an outlet on a circuit different from that to which the receiver is connected.
- Consult the dealer or an experienced radio/TV technician for help.
Changes or modifications not expressly approved by Enel X Way could void the user’s authority to operate the equipment.
FCC ID
The equipment contains the FCC IDs 2A5OV-ST25, 2A5OV-LB1DX, RI7-LE910CXNF.
Formal notices required by the Industry Canada (“IC”)
Compliance Statement
This device contains license-exempt transmitter(s)/receiver(s) that comply with Innovation, Science and Economic Development Canada’s licensee-exempt RSS(s). Operation is subject to the following two conditions:
- This device may not cause interference.
- This device must accept any interference, including interference that may cause undesired operation of the device.
IC ID
The equipment contains the ICs 28561-ST25, 28561-LB1DX, 5131A-LE910CXNF
Mobile Devices
To ensure compliance with FCC and ISED RF exposure requirements this device must be installed to provide a minimum of 20cm between the device and people.




















