Flood Light Security Camera
Installation Guide
MODEL SEC3000/CAM
IMPORTANT, RETAIN FOR
FUTURE REFERENCE: READ CAREFULLY
This device complies with part 15 of the FCC Rules. Operation is subject to the following two conditions: (1) This device may not cause harmful interference, and (2) this device must accept any interference received, including interference that may cause undesired operation.
Note: This equipment has been tested and found to comply with the limits for a Class B digital device, pursuant to Part 15 of the FCC Rules. These limits are designed to provide reasonable protection against harmful interference in a residential installation. This equipment generates, uses, and can radiate radio frequency energy and, if not installed and used in accordance with the instructions, may cause harmful interference to radio communications.
However, there is no guarantee that interference will not occur in a particular installation. If this equipment does cause harmful interference to radio or television reception, which can be determined by turning the equipment off and on, the user is encouraged to try to correct the interference by one or more of the following measures: Reorient or relocate the receiving antenna. Increase the separation between the equipment and receiver. Connect the equipment into an outlet on a circuit different from that to which the receiver is connected. Consult the dealer or an experienced radio/TV technician for help.
Warning: Changes or modifications to this unit not expressly approved by the party responsible for compliance could void the user’s authority to operate the equipment.
FCC Radiation Exposure Statement
The device has been evaluated to meet general RF exposure requirements.
The device can be used in portable exposure conditions without restriction.
FCC Radiation Exposure Statement
The device has been evaluated to meet general RF exposure requirements.
The device can be used in mobile (min 7.87 in.) exposure conditions without restriction.
LIMITED WARRANTY
This product is warranted to be free from defects in workmanship and materials for up to one year from the date of purchase. If the product fails within the warranty period, please contact Feit Electric at [email protected], visit feit.com/contact-us or call 1-866-326-BULB (2852) for instructions on replacement or refund. REPLACEMENT OR REFUND IS YOUR SOLE REMEDY. EXCEPT TO THE EXTENT PROHIBITED BY APPLICABLE LAW, ANY IMPLIED WARRANTIES ARE LIMITED IN DURATION TO THE DURATION OF THIS WARRANTY. LIABILITY FOR INCIDENTAL OR CONSEQUENTIAL DAMAGES IS HEREBY EXPRESSLY EXCLUDED. Some states and provinces do not allow the exclusion of incidental or consequential damages, so the above limitation or exclusion may not apply to you. This warranty gives you specific legal rights, and you may also have other rights which vary from state to state or province to province.
SD™, microSD™, and SDHC™ are trademarks or registered trademarks of SD-3C, LLC in the United States, other countries, or both.

WARNING:
This product may represent a possible shock or fire hazard if improperly installed or attached in any way. The product should be installed in accordance with the owner’s manual, current electrical codes, and/or the current National Electric Code (NEC).
RISK OF ELECTRIC SHOCK:
TURN OFF THE MAIN POWER AT THE CIRCUIT BREAKER BEFORE INSTALLING.
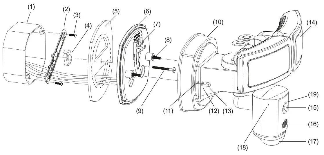
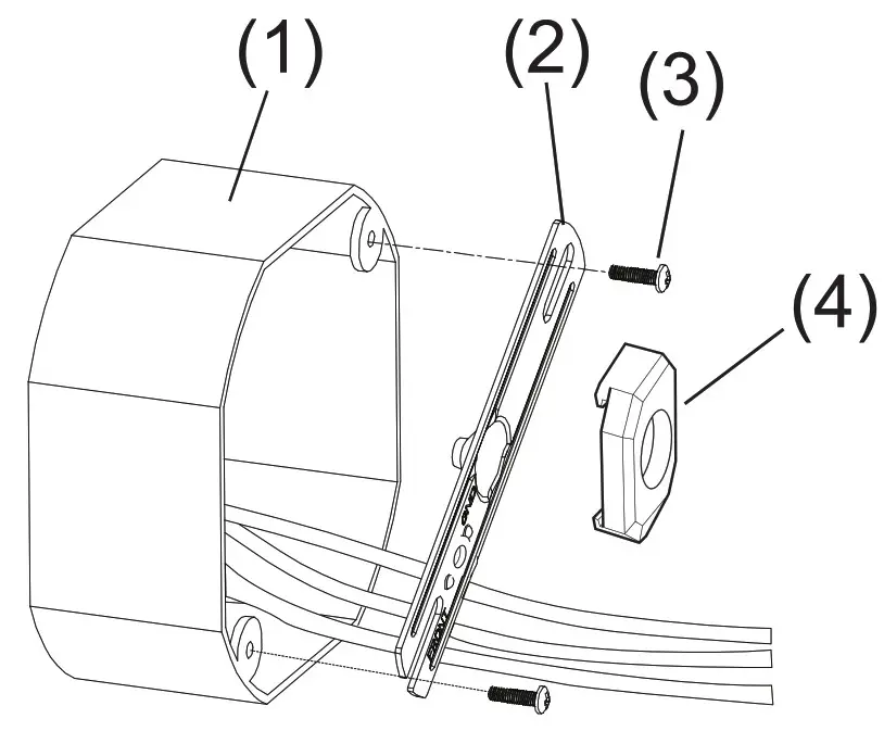
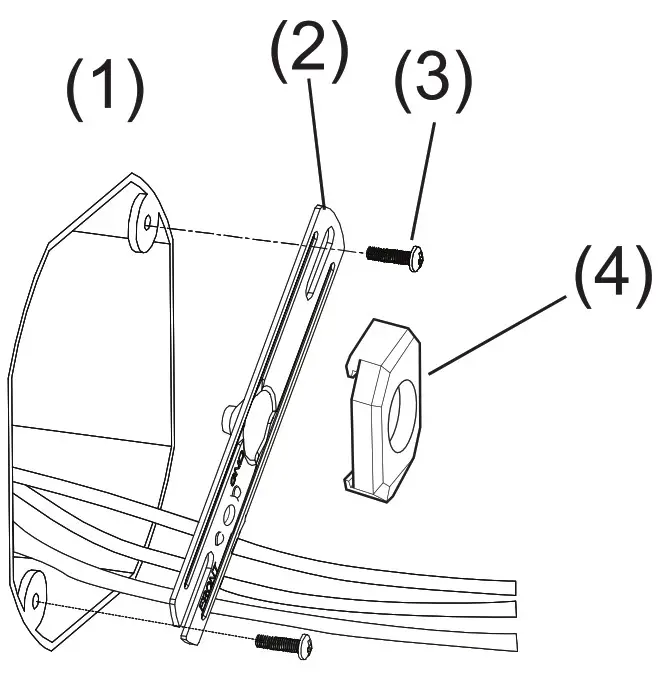
- J-Box (not included)
- Mounting Bar
- 1-Box Screws (2 pieces)
- Spacers (2 pieces)
- Mounting Gasket
- Mounting Plate
- Terminal Block
- Mounting Plate Screws (2 pieces)
- Mounting Bar Screw (1 piece)
- Fixture Body
- Mounting Holes
- Rubber Washers (2 pieces)
- Decorative Nuts (2 pieces)
- LED Flood Lights
- Camera Lens and Photocell Sensor
- Speaker
- Motion Sensor
- Mic
- Indicator Light
PART INCLUDED (not drawn to scale)

RESETTING UNIT & ACCESSING SD CARD
To access Reset Button and microSD'” card, remove cover using a small screwdriver (included).
To reset the unit, (unit must be connected to power) press the Reset Button for 15 seconds or until you hear an audible tone. To remove microSD card, push card in with your finger and release. Card will eject halfway.
ADJUSTING FIXTURE

PRE-INSTALLATION
Remove the Mounting Plate (6) by unscrewing and removing the Decorative Nuts (13) and Rubber Washers (12).

EXTERNAL J- BOX INSTALLATION
- Turn main power Off at circuit breaker or fuse box.
- Install Mounting Bar (2) to an External J-Box (1) using provided J-Box Screws (3). Add Spacer (4) to eliminate gap between Mounting Bar and Mounting Plate.
NOTE: Spacer (4) may or may not be needed.
- Extend and feed J-Box wires through openings on Mounting Gasket (5) and Mounting Plate (6).
NOTE: Tear away at perforation on Mounting Gasket (5)
- Secure Mounting Gasket (5) and Mounting Plate (6) to Mounting Bar (2) using Mounting Bar Screw (9). Do not over-tighten.

- Connect power supply wires directly to Terminal Block (7). Secure wires to Terminal Block by using a small flat-head screwdriver. See detail.
CONNECT: Black wire tot” input. Ground wire to”GND” input. White wire to “N” input.
- Position and align the Mounting Holes (11) on Fixture Body (10) to the Mounting Plate Screws (8). Secure Fixture Body (10) to Mounting Plate (6) using Rubber Washers (12) and Decorative Nuts (13).

- Turn power On at circuit breaker or fuse box. Turn On wall switch if connected to one. Ensure lights work before proceeding to step 8
- Once fixture is tightly secured to J-Box, apply silicone sealant around the base of the fixture to prevent moisture from reaching the connections.
FLUSH J- BOX INSTALLATION
- Turn main power Off at circuit breaker or fuse box.
- Install Mounting Bar (2) to a Flush J-Box (1) using provided J-Box Screws (3). Add Spacer (4) to eliminate gap between Mounting Bar and Mounting Plate.
NOTE: Spacer (4) only needed if J-Box is recessed too deep.
- Extend and feed 1-Box wires through openings on Mounting Gasket (5) and Mounting Plate (6).
NOTE: Do not tear away at perforation on Mounting Gasket (5)
- Secure Mounting Gasket (5) and Mounting Plate (6) to Mounting Bar (2) using Mounting Bar Screw (9). Do not over-tighten.

- Connect power supply wires directly to Terminal Block (7). Secure wires to Terminal Block by using a small flat-head screwdriver. See detail.
CONNECT: Black wire tot” input. Ground wire to”GND” input. White wire to “N” input. - Position and align the Mounting Holes (11) on Fixture Body (10) to the Mounting Plate Screws (8). Secure Fixture Body (10) to Mounting Plate (6) using Rubber Washers (12) and Decorative Nuts (13).

- Turn power On at circuit breaker or fuse box. Turn On-wall switch if connected to one. Ensure lights work before proceeding to step 8
- Once the fixture is tightly secured to J-Box, apply silicone sealant around the base of the fixture to prevent moisture from reaching the connections.
INSTALLATION CONTINUED
9. POSITION MOTION SENSOR AND CAMERA For optimal performance, the base of the motion sensor should be placed parallel and 9 feet above the ground. The camera can be angled in a different direction than lights.

10. APP SETUP
Download and install the Feit Electric app.
Search for the Feit Electric app in the App Store or Google Play Store. Download and install the Feit Electric app on your smart device.
Set up the floodlight camera using the Felt Electric app
- Check to be sure the floodlight camera is in pairing mode. The BLUE indicator light must be blinking rapidly to connect. If not already blinking, press and hold the Reset Button until you hear an audible tone. Use the Feit Electric app to complete the setup.
- Tap Add Device or the + sign, then select Flood Light Camera and confirm. You will be prompted to enter your Wi-Fi network and password.
Be sure to connect to a 2.4 GHz Wi-Fi network that covers your installation location.
Optional – Connect to Google Assistant or Alexa using the in-app guide
Optional – See App User Guide to setup Sid Shortcuts
Need Help?
FAQs and the latest versions of user guides can be found at feit.com/help and feit.com/smart
To reach customer support please visit feit.com/contact-us
TROUBLESHOOTING TIPS-Q & A
The camera will not connect to my Wi-Fi network
- Make sure the LED is blinking blue. If the LED is blinking red, you will need to press and hold the Reset Button located behind the cover on the side of the camera
(see the Resetting Unit & Accessing SD Card section). - Make sure the Wi-Fi network is a 2AGHz network, the device will not connect to a 5GHz network.
- Test your Wi-Fi network with other devices such as your phone or computer to make sure it is operating properly.
- The Wi-Fi connection may be out of range during pairing. Use your phone to check range, it is recommended to have at least 2 signal bars showing for proper connection.
- Your Wi-Fi network password is case sensitive, make sure you are entering it correctly.
The camera is off-line
- There could be a temporary issue with your internet connection (e.g., service disruption). Please try again in a few minutes.
- Make sure your Wi-Fi router is turned On.
- The camera may not have power to it, make sure the wall switch and breaker are in the On position.
- Cycle the power Off and On. You will hear an audible tone and the status LED should blink red then to a solid blue in about 1 minute. If it does not turn blue after a minute, please go through the setup process again to reconnect to your Wi-Fi signal.
- Make sure the camera is getting a good signal from your Wi-Fi router. Use your phone to check range, it is recommended to have at least 2 signal bars showing for proper connection.
- The camera may have been disconnected from your Wi-Fi network, press and hold Reset Button (see the Resetting Unit & Accessing SD Card section) until you see a blinking blue LED and hear an audible tone.
What do the blinking LEDs mean?
- Blinking BLUE = Pairing Mode
- Blinking RED = No Wi-Fi Connection
- Solid RED = Rebooting
- Solid BLUE = Connected to the Internet
Live video stream is slow to load
Camera streaming issues may be caused by any of the following:
- Your phone’s cellular connection, which is reliant on mobile coverage and signal reception is slow.
- Limited internet bandwidth at home, for example, other video streaming services running at the same time on your network can cause congestion slowing down the internet upload and download speeds.
- Wi-Fi reception may not be stable or work reliably if the camera’s Wi-Fi signal strength is less than 2 signal bars. You may need to install a Wi-Fi repeater or extender to boost the Wi-A signal.
How to reset the camera to reenter pairing mode?
- Press and hold reset button located behind the cover on the side of the camera (see the Resetting Unit & Accessing SD Card section) until you see a blinking blue LED and hear an audible tone.
The camera is not recording?
- Make sure Record Switch is turned On in-app, under SD Card Settings. This is located in the Settings menu on the upper right corner in the control panel.
- Make sure that the microSD card is installed correctly. To confirm the camera is recognizing the micro so card, go to the SD Card Settings in the Settings menu and make sure the microSD Card Capacity menu shows Total Capacity, Used, and Free Space. If this does not appear you may consider reformatting the microSD card. WARNING: Reformatting the microSD card will delete all videos stored on the card. Please go through the troubleshooting section before doing so or contact our Customer Support Team.
How do I set the camera to Event or Continuous Recording?
- In the Settings menu under SD, Card Settings make sure Record Switch is turned On and then select Event Recording or Continuous Recording.
How can I check the available space on the SD Card?
In the Settings menu under SD Card Settings, you will see Used Space and Free Space. Note: The camera will not support mkroSD cards greater than 128G8.
What happens when the microSD card reaches full capacity?
You will get a notification if storage is almost full. Once the microSD card reaches full capacity, new videos will start rewriting (deleting) over the oldest videos.
Can I use a new microSD card if I do not want to record over existing videos?
Yes, you can use a new microSD card if you do not want to record over existing videos by removing the side cover on the camera and replacing the exiting microSD card with a new one as long as it does not exceed 128GB. Once this is completed you will need to format the microSD card by going to the SD Card Settings in the Settings menu and pressing Format SD Card then Confirm.
WARNING: Reformatting microSD card will delete all content stored on card.



























