volkano HD 720P USB Webcam Instruction Manual
THE HIGHLIGHTS
- USB 2.0 (UVC) Plug and Play Interface.
- Optical Lens.
- External Microphone.
- Built-in Flash.
- Compatible with: Windows®, Mac OS®, LinuxTH and AndroidTH
PACKAGE CONTENTS
- Zoom Series 700p USB Webcam
- Adjustable Mounting Arm
- Instruction Manual
SPECIFICATIONS
- • Imaging:
- Sensor: CMOS
- Lens: FHD Optical Wide-Angle Lens
- Resolution: 1280 x 720p
- Frame Rate: up to 30 FPS
- Field of View: 90°
- Image Format: MJPEG / YUV2 (YUYV)
- Distortion: ≤1%
- Automatic Absolute Exposure Control (AEC).
- Automatic Exposure Bracketing (AEB).
- External Microphone:
- High Sensitivity Microphone
- Dynamic Range: 72 dB
- Automatic Gain Control
- Interface: USB 2.0, High Speed (UVC) + 3.5mm AUX
- Power Input: USB Powered, DC 5 V
- Power Consumption: ≤ I20 mA
- Supported Operating Systems: Windows®, Mac OS®, AndroidTH, LinuxTH with UVC.
Identifying Parts

- Built-In Flash
- Manual Focus Adjuster
- Camera Lens
- Microphone
- Adjustable Mounting Bracket
SETUP AND INSTALLATION
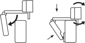
MOUNTING YOUR WEBCAM

- Unfold the Adjustable Mounting Bracket and position on top of the display, pointing towards the user.
- Hold the top half of the bracket firmly on the top of the display while pressing the bottom half onto the back of the screen to secure the Webcam in position.
- Tilt the Webcam up or down to achieve desired angle of view.
INSTALLATION
The Webcam utilizes the UVC (USB Video Class) drivers that are built into Windows, Mac OS and Linux to stream HD video and records audio via the 3.5 mm Aux Connector.
- Connect the USB Cable to your Desktop PC / Laptop USB Input.
- Connect the 3.5 mm Aux Connector to your Desktop PC / Laptop
- For Desktop PC’s: Connect the 3.5 mm Connector to the Microphone Input (pink Aux Input) usually located on the audio and USB input panel on the back of the system unit or on the front audio and USB input panel.
- For Laptops: Connect the 3.5 mm Aux Connector to the Aux Socket (for single Aux socket).
- If your Laptop has more than one Aux socket, connect the 3.5 mm Aux Connector to the Aux socket labeled MIC.
- When your device successfully recognizes the camera, your device will register the Webcam as an imaging device and microphone identified as “Integrated Camera”.
- Select “Integrated Camera” as default camera and microphone and configure required settings in your software / application of choice.
BUILT-IN FLASH
- Slide the switch located on the back of the Webcam to turn the Flash on and off.
MANUAL FOCUS ADJUSTMENT
- Rotate the Focus Adjuster to manually adjust the focus on your webcam to achieve the desired focus.
SAFETY PRECAUTIONS
- The product should only be used with the parts provided by the manufacturer.
- This product is intended for indoor use only.
- Never use your Webcam near water or in areas where it can come into contact with water. Never handle the Webcam if it has been dropped in water or any other liquid. If the product comes into contact with water while still plugged in, this is a safety hazard.
- Always make sure your hands are dry before touching the USB Cable or power connections.
- Do not operate the Webcam with a damaged cable, after it malfunctions, has been dropped or damaged in any manner.
- The Webcam is intended for personal use only. Commercial use invalidates the warranty and the supplier cannot be held responsible for injury or damage caused when using the device for any other purpose than that which it was intended for.
- The Webcam is not intended for use by children, persons with reduced physical, sensory or mental capabilities, or lack of experience and knowledge, unless they have been given supervision instructions concerning use of the device by a person responsible for their safety. Extreme caution must be exercised.
- Children should be supervised to ensure that they do not play with the Webcam. Packaging must never be left within reach of children since it is potentially dangerous.
CLEANING AND CARE INSTRUCTIONS
- Before cleaning: Ensure that your Webcam is not charging before cleaning or maintaining it.
- Cleaning: Wipe down the surface of your Webcam using a soft, slightly damp cloth. Only use a lens cleaner to clean the lens of the Webcam.
- Do not use any harsh or abrasive cleaning chemicals or materials on your Webcam as doing so may damage or scratch the surface finish.
- Do not expose your Webcam to direct sunlight or high temperatures for extended periods of time.
- Do not store in temperatures over 140 °F (60 °C).
ENVIRONMENTALLY FRIENDLY DISPOSAL
ENVIRONMENTALLY FRIENDLY DISPOSALIMPORTANT INFORMATION FOR CORRECT DISPOSAL OF THE PRODUCT IN ACCORDANCE WITH THE EUROPEAN DIRECTIVE ON WASTE ELECTRICAL AND ELECTRONIC EQUIPMENT.
At the end of its working life, the product must not be disposed of as urban waste. It must be taken to a special local authority differentiated waste collection center or a dealer providing this service. Disposing of a household appliance separately avoids possible negative consequences for the environment and health deriving from inappropriate disposal and enables the constituent materials to be recovered to obtain significant savings in energy and resources. As a reminder of the need to dispose of household appliances separately, the product is marked with a crossed out wheeled dustbin.
- Never dispose of used electronics with ordinary solid wastes, since they contain toxic substances.
- Always dispose of used electronics in accordance with the prevailing community regulations that apply to the disposal of electronics. If there are no local regulations concerning electronics disposal, please dispose of the device in a waste bin for electronic devices.
WARNING
This product can expose you to chemicals including polyvinyl chloride. which is known to the State of California to cause cancer and reproductive harm. For more information. go to www.P65Warnings.ca.gov.

DISCLAIMER
All product and company names are trademarksTH or registered trademarks of their respective holders. Use of them does not imply any affiliation with or endorsement by them.
WARRANTY
This VolkanoTH Zoom 700 Series USB Webcam comes with a standard 12-month limited warranty against manufacturing defects and faults. Should your product be unboxed with any faulty parts, poor finishing or visible damage, or fail to perform due to a manufacturing defect or poor workmanship, please return it with your proof of purchase (till slip or invoice) to the store of purchase for an exchange, or repair, depending on the store’s returns policy.
This warranty commences from the date of purchase.
Kindly retain your proof of purchase as well as the packaging for your warranty period.
NOTE: The Warranty does not apply to a product that:
- Has failed due to excessive wear and tear beyond what is considered to be reasonable.
- Has been misused or neglected.
- Has been damaged accidentally or by Force Majeure including fire and flooding.
- Has been used or operated contrary to operating or maintenance instructions outlined in this manual.
The Store of Purchase / Seller cannot accept any returned products that have not been returned in accordance with this warranty or which do not follow their own Returns Policy. Please refer to the Store of Purchase / Sellers Returns Policy for details.
Should you require any further assistance or have any questions on your warranty, please contact the store of purchase.



















