Saje Natural Wellness Aroma Glow Diffuser
BENEFITS OF DIFFUSING
Diffusing is an easy, heat-free way to enjoy Saje’s 100% natural diffuser blends. This ultrasonic technology, combined with water and a diffuser blend, produces negative ions and aromas that elevate your well-being. When used with your favorite Saje diffuser blend, the ultrasonic diffuser’s refreshing mist brings nature’s goodness into your space, supporting balance and harmony. Transform your surroundings with revitalizing air that’s reminiscent of fresh mist off a waterfall. Add the Saje diffuser blend of your choice and enjoy fresh, inviting aromas any time.
PRODUCT FEATURES
- Uses an ultrasonic, heat-free system to disperse essential oil molecules into the air.
- Gently humidifies your space.
- Whisper-quiet operation and auto shut-off.
- Continuous and intermittent mist settings.
- Optional LED light feature.
SPECIFICATIONS

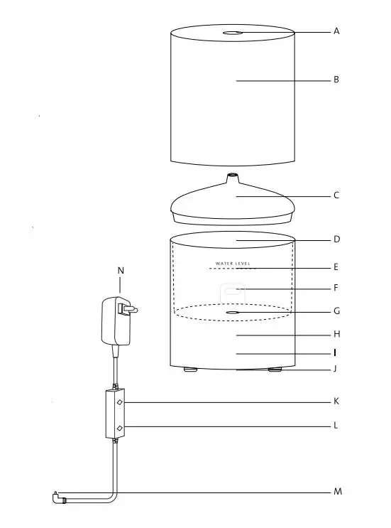
DIAGRAM OF PARTS
- MIST oUTLET
- POLYRESIN COVER
- WATER TANK cOVER
- WATER TANK
- MAXIMUM WATER LEVEL LINE
- VENTILATION HOLE
- CERAMIC DISC
- BASE
- LIGHT
- UNIT BOTTOM
- MIST POWER BUTTON
- LIGHT POWER BUTTON
- DC PoWER JACK
- POWER ADAPTER F
OPERATING INSTRUCTIONS
- Remove the cover from the unit to expose water tank.
- Connect power adapter to DC power jack underneath unit.
- Fill water tank with room temperature tap water to no higher than max. water level line (6.8 fl oz | 200 ml) by bringing water to the unit.
- Add 10-15 drops (depending on preference) of your favorite Saje diffuser blend to the water. Tilting the unit can cause water to run into the diffuser’s ven- tilation system and out the bottom – to ensure correct usage, always bring water to your ultrasonic diffuser and not the other way around.

- Replace the cover andensure that it fits properly onto unit.
- Plug power adapter into electrical outlet.
- Press the mist powerbutton to turn the unit on. Press once to mist continuously, twice for intermittent and a third time to turn the unit off.
MIST BUTTON INDICATORS:- PRESS ONCE: Continuous mist
- PRESS A SECOND TIME: Intermittent mist
- PRESS A THIRD TIME: Off
LIGHT BUTTON INDICATORS: - PRESS ONCE: On at full brightness
- PRESS A SECOND TIME: On at dimmed brightness
- PRESS A THIRD TIME: Off
- Unit will shut off automatically after 6 hours on continuous, or 12 hours on intermittent. Note that the water level remaining in the tank after shut-off will vary. For next use, fill up water level to the max. water level line with new water supply.
- A filled unit should never be moved. Always wait until water reaches minimum levels to change diffuser’s location; this will deter water from entering the ventilation system.
- Use only Saje diffuser blends; other oils may contain fragrances, base oils or synthetics that could result in malfunction. Some single note essential oils are also too thick or heavy for use in the ultrasonic diffuser. See FAQs for more information.
PLEASE NOTE: RUN TIMES AND AMOUNT OF WATER LEFT IN THE TANK AFTER AUTO SHUT-OFF WILL VARY DUE TO CLIMATE, ENVIRONMENT AND OTHER FACTORS.
FOR OPTIMAL OPERATION, ENSURE MIST IS UNOBSTRUCTED BY OVERHANGING OBJECTS.
CARE & MAINTENANCE
- If the unit is knocked over while in operation, water could leak into the internal mechanism of the unit; if this occurs, unplug from power, empty the water, and let the unit dry out in the well-ventilated area for at least three days.
- Turn off unit and unplug from the power adapter prior to cleaning.
- Remove cover and empty water from the water tank, carefully avoiding the air outlet
- If required, use a clean, soft, damp cloth to wipe down exterior of unit. If oils are spilled on the diffuser’s surface, clean immediately to prevent surface damage
- Frequency of cleaning is dependent upon usage and types of diffuser blends used (i.e. how thick the essential oils are in the diffuser blend).
- To clean inside water tank, pour a few drops of Tubbing alcohol into tank and wipe with a clean, soft cloth.
- To clean the disc, pour a few drops of Tubbing alcoho onto a clean cotton swab and wipe the disc. The diso can be accessed by inserting the swab in the hole at the center/bottom of the water tank. Repeat this process with a new cotton swab until the cotton swab comes out clean.
- The ceramic disc should be kept clean of mineral deposits and other debris for optimal misting. Never use any sharp objects to clean the ceramic disc as this will damage the disc permanently.
- For optimum results, clean the water tank before changing diffuser blends.
- Do not disassemble or attempt to repair unit; in the event of a problem, please contact 1-877-ASK-SAJE.
CAUTIONS
- Only use the power adapter supplied with the device. Never operate the device if the power adapter is damaged.
- Do not attempt to use the device if any part is damaged or broken.
- To reduce the risk of electric shock: do not attempt to service the device in any way other than as described in the “Care & Maintenance” section of this manual; do not plug the unit into the wall socket with wet hands. In case of smoke, unusual aromas, noises or other malfunctions, unplug the unit immediately and discontinue use.
- Do not place unit directly below or beside electrical outlets or other electrical devices that are susceptible to water damage.
- Do not place the unit on carpet or fabric surfaces that may obstruct the fan on the bottom of the unit, causing overheating.
- To prevent mist from settling on the top of the diffuser, ensure the unit is placed in an appropriately-sized space with good airflow.
- When moving the device, hold securely by the base. Always place the unit on a stable, level surface. Do not tilt, move or attempt to empty or refill unit while in use.
- Do not touch the highly sensitive ceramic disc with bare fingers when the ultrasonic diffuser is in use or plugged in. To prevent clogging or damaging the ceramic disc when operating, use clean tap water at room temperature.
- Do not fill water tank directly from tap as water could spill into the internal mechanism and cause damage. Fill only to the water level line and do not overfill or immerse the unit in water.
- Do not pour water or other liquid into the air outlet. Ensure that no essential oils or water leak into the air outlets on either side of the water tank. After each use, remove any liquid left in the water tank.
- Always turn off and unplug the device during maintenance or when not in use. Ensure that the power adapter is not covered or blocked when plugged in; it must be able to dissipate the heat properly.
- Use only Saje diffuser blends in device: other oils may contain fragrances, base oils or synthetics that could result in malfunction. Some single note essential oils are also too thick or heavy for use in theultrasonic diffuser. See FAQs for more information.
- Always keep unit out of reach of small children and pets.
FCC & IC STATEMENTS
This device complies with Part 15 of the FCC rules.Operation is subject to the following two conditions: 1) This device may not cause harmful interference,and 2) This device must accept any interference
received, including interference that may cause undesired operation. This equipment has been tested and found to comply with the limits for a Class B digital device, pursuant to part 15 of the FCC Rules. These limits are designed
to provide reasonable protection against harmful interference in a residential installation. This equipment generates, uses and can radiate radio frequency energy and, if not installed and used in accordance with the instructions, may cause harmful interference to radio communications. However, there is no guarantee that interference will not occur in a particular installation. If this equipment does cause harmful interference to radio or television reception, which can be determined by turning the equipment off and on, the user is encouraged to try to correct the interference by one or more of the following measures:
- Reorient or relocate the receiving antenna.
- Increase the separation between the equipment and receiver.
- Connect the equipment into an outlet on a circuit different from that to which the receiver is connected.
- Consult the dealer or an experienced radio/TV technician for help.
Changes or modifications not expressly approved by Saje Natural Wellness Canada could void the user’s authority to operate this equipment. This device complies with Part 18 of the FCC Rules and ICES O01. Although this product is tested and complies with FCC, it may interfere with other devices. If this product is found to interfere with another device, separate the other device and this product. Conduct only the user maintenance found in this instruction manual. Other maintenance and servicing may cause harmful interference and can void the required FCC compliance.
FAQs
- Q: WHAT IF MY UNIT DOES NOT TURN ON?
Power adapter may not be properly plugged in; ensure that the power adapter is properly plugged into the DC power jack and the electrical source. - Q: WHAT IF MY UNIT DOES NOT MIST OR THERE IS ALMOST NO MIST?
A. There may not be enough water in the water tank; ensure that the water tank is filled to the maximum water level line.
B. The water level may be too high (higher than the maximum water level line); turn off unit, pour out excess water and try again.
C. The ceramic disc may require cleaning. Please see “Care & Maintenance” instructions. - Q:WHATTYPE OF WATER SHOULD GO INTO MY ULTRASONIC DIFFUSER?
To prevent clogging or damage to the unit or disc, it’s rec- ommended to use clean tap water at room temperature. - Q: WHAT CAN I PUT IN MY ULTRASONIC DIFFUSER?
We recommend using 100% natural Saje diffuser blends, as they have been carefully blended for safe and easy use in your ultrasonic diffuser. Other blends and oils may contain fragrances, base oils or synthetics that have a thick and heavy consistency and could result in your unit’s malfunction. All Saje 100% Pure Single Note Essential Oils may be diffused, except the following:- Ylang Ylang
- Patchouli
- Sandalwood
- Jasmine
- Rose
Saje Natural Wellness Aroma Glow Diffuser
























