SmartCode 5 Touchpad Electronic Lever GED1450
Installation and User Guide


1. Prepare the door and check dimensions
If drilling a new door, use the supplied template and the complete door drilling instructions available at www.weiserlock.com/doorprep.
A. Measure to confirm that the hole in the door is 2-1/8″ (54 mm).

*If you are installing this lever below an existing lock or you plan to install a lock above this lever, make sure that the distance between holes is at least 6-1/2″ (165 mm).
B. Measure to confirm that the backset is either 2-3/8″ or 2-3/4″ (60 or 70 mm).

C. Measure to confirm that the hole in the door edge is 1″ (25 mm).

D. Measure to confirm that the door is between 1-3/8″ and 1-3/4″ (35 mm and 44 mm) thick.

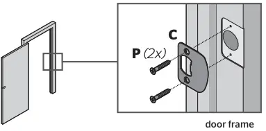
2. Install the latch and strike

A. Hold the latch in front of the door hole, with the latch face flush against the door edge.

B. Are the latch holes centered in the door hole?

C. Adjust the latch face (if needed).

D. Is the door edge chiseled?

E. Install strike on the door frame.

3. Install the exterior keypad, mounting plate, and spindle

A. Install exterior keypad.

B. Route cable through mounting plate.

C. Secure mounting plate with supplied screws.

D. Install spindle.

4. Install interior assembly

A. Remove battery cover and battery pack from interior assembly.

B. Install interior assembly onto mounting plate.

5. Install levers
A. Install interior lever.

B. Secure interior lever.

C. Install exterior lever.

D. Secure exterior lever.

6. Test latch operation
Close door, test latch operation and make adjustments as needed:
The small bolt of the latch should not enter the strike hole. If it enters the strike hole, reposition strike.

If latch is loose in the strike, adjust the strike tab so it grips the latch bolt better when the door is closed.

7. Add user codes (8 max)
Programming Timeout
If no button is pressed for five seconds, the system will time out and you will need to restart the procedure.
A. Make sure the door is open. Press the Program button the number of times that corresponds to the user code position being programmed.

B. Enter user code. A total of 8 user codes may be programmed.

C. Press Lock button once.

D. What lights and sounds does the lock produce?

*Beeping sound will only be heard if switch #3 (on the lock interior) is in the on positon. See “Switches and Status LED Colors” on page 4.
Mastercode
For enhanced security, a mastercode may be used when adding and deleting user codes. For more information about the mastercode, download the Programming and Troubleshooting Guide on the SmartCode 5 Lever page at www.weiserlock.com.
8. Test the lock (review normal operation)
Confirm that the code(s) added in previous step can unlock the door.
Locking the Door

Unlocking the Door

9. Re-key the lock (if needed) and install the battery cover

A. Re-key the lock (if needed).

B. Install the battery cover.

Reference Guide
SmartCode at a Glance

System Alerts

*Beeping sound will only be heard if switch #3 is on.
Switches and Status LED colors

Deleting a user code
In order to delete a user code, you must override the code by adding a different user code in the same position. For example, if you want to delete the third code, add a different user code in position three.
Test the old user code to make sure it can no longer unlock the door.
Troubleshooting
A complete Programming and Troubleshooting Guide is available on the SmartCode 5 Lever page at www.weiserlock.com.
Battery Replacement
If another lock is installed above the lever, remove the interior assembly when battery replacement is required.

Factory Reset
A factory reset will delete all codes associated with the lock.

Important Safeguards
- Read all instructions in their entirety.
- Familiarize yourself with all warning and caution statements.
- Remind all family members of safety precautions.
- Protect your user codes and mastercode.
- Dispose of used batteries according to local laws and regulations.
CAUTION: Prevent unauthorized entry. Since anyone with access to the back panel can change the user codes, you must restrict access to the back panel and routinely check the user codes to ensure they have not been altered without your knowledge. The use of a mastercode can help protect your system’s settings.
WARNING: This Manufacturer advises that no lock can provide complete security by itself. This lock may be defeated by forcible or technical means, or evaded by entry elsewhere on the property. No lock can substitute for caution, awareness of your environment, and common sense. Builder’s hardware is available in multiple performance grades to suit the application. In order to enhance security and reduce risk, you should consult a qualified locksmith or other security professional.
SmartCode 5 Touchpad Electronic Lever GED1450 User Manual – Optimized PDF
SmartCode 5 Touchpad Electronic Lever GED1450 User Manual – Original PDF


















