SONY MDR-DS6500 Digital Wireless 3D Surround Headphones
MDR-DS6500 is composed of the following models
| Wireless stereo headphones | MDR-RF6500 |
| Processor | DP-RF6500 |
SPECIFICATIONS

SECTION 1 DISASSEMBLY
- This set can be disassembled in the order shown below.

Note: Follow the disassembly procedure in the numerical order given.
FRONT R SUB ASSY PLATE
RX MAINBOARD
Note: When the complete RX MAIN board on wireless stereo headphones (MDR-RF6500) is replaced, the pairing is necessary. Refer to “ABOUT PAIRING WHEN REPLACING THE BOARDS” on page 3.
FRONT L SUB ASSY PLATE
RX POWER BOARD
UPPER CABINET
TX TERMINAL BOARD, TX MAINBOARD

Note: When the complete TX MAIN board on the processor (DP-RF6500) is replaced, the pairing is necessary. Refer to “ABOUT PAIRING WHEN REPLACING THE BOARDS” on page 3.
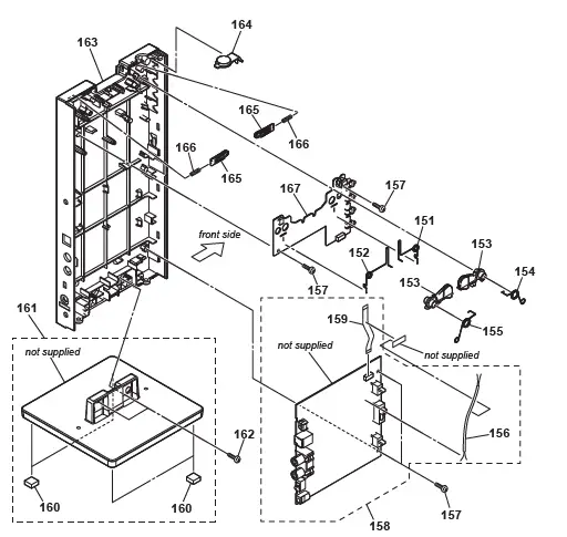
SECTION 3 EXPLODED VIEWS
Note:
- Items marked “*” are not stocked since they are seldom required for routine service. Some delay should be anticipated when ordering these items.
- The mechanical parts with no reference number in the exploded views are not supplied.
- Color Indication of Appearance Parts Example:
KNOB, BALANCE (WHITE) . . . (RED)
Parts Color Cabinet’s Color
HOUSING (L) SECTION
HOUSING (R) SECTION, HEADBAND SECTION
PROCESSOR SECTION (1)
PROCESSOR SECTION (2)





















