Nuova Rade Toilet

Toilet Installation Options
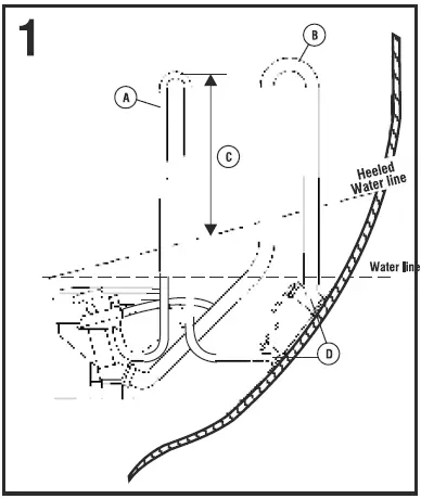
- Below the waterline direct overboard discharge
When the toilet is to be installed below the waterline (including the waterline when the boat is heeled) the use of suitable antisiphone loops, on both seawater intake hose(19mm – 3/4″) and on discharge hose (38mm -11/2″) is required. This will prevent water from being siphoned back into the boat after the use of the toilet. In addition Toilet is equipped with a locking handle, for avoiding waste backflow.- A. Intake hose antisiphone loop
- B. Discharge hose antisiphone loop
- C. Height above the waterline (at all angles of heel) at least 25cm
- D. Seacocks for intake and discharge hose

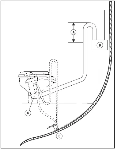
- Above the waterline direct overboard discharge.
When the toilet is to be installed above the waterline (including the waterline when the boat is heeled) it is recommended that the discharge hose (38mm -1 1/2″) fonms a loop raising it approximately 30cm above the discharge elbow.- A. Height above the discharge elbow at least 30cm
- B. Discharge hose
- C. Intake hose
- D. Seacocks

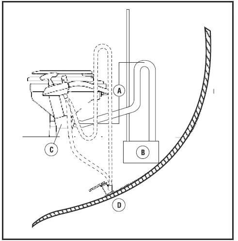
- Discharge into holding tank below the discharge elbow
When the toilet is to be installed to discharge into holding tank below the discharge elbow, the discharge hose should be raised above the discharge elbow at one point by at least 30cm. For the installation of the intake hose, follow the relative instructions as per above or below waterline installations (Options 1 and 2).- A. Height above the discharge elbow at least 30cm
- B. Holding tank
- C. Discharge elbow
- D. Intake hose

- Discharge into holding tank above the discharge elbow
When the toilet is to be installed to discharge into a holding tank above the discharge elbow, the discharge hose should be raised above the holding tank at one point, by at least 20cm. For the installation of the intake hose follow the relative as per above
or below waterline installations (Options 1 and 2).- A. Height above the top of holding tank at least 20cm
- B. Holding tank
- C. Discharge Elbow
- D. Intake hose

General
Avoid sharp bends on the inlet and discharge hose
Always use marine grade spiral reinforced hose with a smooth internal bore of the recommended size
It is recommended that the inlet and outlet seacocks should be closed when the toilet is not in use
Always turn the flush control lever to the right (dry bowl) following the use of the toilet
After use turn handle to lock, for avoiding waste backflow. 





















