
CRV2 + CRV2- 80,
90, 100,110, 120
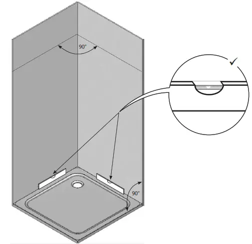
INSTALLATION INSTRUCTIONS
CRV2-100 Shower Cabin
![]() | ![]() |

| TYP | Al | A2 | B1 | B2 | C | D1 | D2 |
| CRV2-80×80 | 780-800 | 780-800 | 800 | 800 | 635 | 770 | 770 |
| CRV2-90×90 | 880-900 | 880-900 | 900 | 900 | 635 | 870 | 870 |
| CRV2-100×100 | 980-1000 | 980-1000 | 1000 | 1000 | 635 | 970 | 970 |
| CRV2-80×100 | 780-800 | 980-1000 | 800 | 1000 | 635 | 770 | 970 |
| CRV2-80×110 | 780-800 | 1080-1100 | 800 | 1100 | 710 | 770 | 1070 |
| CRV2-80×120 | 780-800 | 1180-1200 | 800 | 1200 | 710 | 770 | 1170 |
| CRV2-90×120 | 880-900 | 1180-1200 | 900 | 1200 | 710 | 870 | 1170 |
![]() | ![]() |
![]() | ![]() |
![]() | ![]() |
![]() | ![]() |
![]() | ![]() |
![]() | ![]() |
![]() | ![]() |
![]() | ![]() |
![]() | ![]() |
Maintenance
clean the plastic parts with a cloth and mild detergent. never use any abrasive pastes, dissolvents, acetone or detergents, and disinfectants, that contain chlorine. the manufacturer accepts no liability for any type of use or care other than those contained in these instructions. The manufacturer reserves the right to introduce technical changes without notice. The guarantee is 24 months from the date of sale. For further information about assembly, use, and care contact your local dealer.
The manufacturer recommends: RAVAK CLEANER – works to remove old and dried-on debris from glass surfaces, shower frames, enamel and acrylic bathtubs, washbasins, and water taps; RAVAK DISINFECTANT – is a special preparation with considerable anti-bacterial and anti-fungal effects. RAVAK ANTI CALC CONDITIONER – To be used for perfect maintenance of the protective Anticalc glass layer

RAVAK a.s., Representative Office in Ukraine, 21 Dniprovska Naberezhna str., 2nd floor, 02081, Kyiv, Ukraine tel.: 00380 44 2203232, 00380 44 3605200, fax: 00380 44 2204343, e-mail: [email protected], web: www.ravak.ua

https://tm.by
RAVAK a.s., Obecnická 285, 261 01 Příbram I
tel.: +420 318 427 200, 318 427 111 fax: +420 318 427 269
e-mail: [email protected], www.ravak.com
![]() |
| RAVAK a.s. Obecnicka 285, 261 01 Pribram I Czech republic |
| V.001 |
| 13 EN 14428+A1 CA – IR – DA osobní hygiena CHROME |
Version: 11022016
References
RAVAK a.s. - Acrylic Bathtubs and Shower Enclosures
Koupelny, koupelna a koupelnové vybavení | RAVAK
RAVAK GESELLSCHAFT für Sanitärprodukte mbH - Das Badeerlebnis in Ihrem Badezimmer
RAVAK Hungary Kft. - ha fürdőszoba akkor RAVAK
Ravak Polska S.A. - dożywotnia gwarancja na wszystkie wanny. Kompleksowe wyposażenie łazienek.
OOO RAVAK ru - ванны и душевые уголки
Kúpeľňa a zariadenie kúpeľne | RAVAK
RAVAK ua - ЕСЛИ ВАННАЯ КОМНАТА, ТО RAVAK (ванны, душевые уголки, умывальники, гидромассаж )








































