halo design Bubbles 18 Pendant Amber Instruction Manual
INSTRUCTION

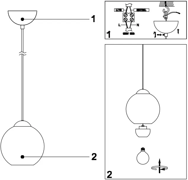
- Follow the instruction sketch.
- Make sure power is OFF on the outlet, before beginning the installation.
- Insert the light bulb.
- Go through point 1 to 2 before connecting the lamp to the power.
Class II: The lamp is double-insulated and does not need to be connected to the yellow/green earth wire.
: The lamp should only be installed in areas where direct contact with water cannot occur.
Do not exceed the maximum wattage.
The lamp is only suitable for connecting directly to the mains.
The mounting instruction must not be discarded.

















