

Stealth 600 Gen 2 Max Wireless Multiplatform Gaming Headset
User Guide
IMPORTANT READ BEFORE USING
Any questions?
turtlebeach.com/support
Modest. StealthTM 600 Gen 2 MAX for Xbox
IMPORTANT
PLEASE MAKE SURE YOUR HEADSET IS UPDATED WITH THE LATEST FIRMWARE.
Connect to the Turtle Beach Audio Hub for Windows or Mac to update firmware
turtlebeach.com/audiohub
CONTENTS

HEADSET CONTROLS


Use Superhuman Hearing Mode to pinpoint quiet audio cues like enemy footsteps and weapon reloads. During gameplay, you can activate and deactivate Superhuman Hearing'” by pressing the POWER button once, quickly.
Microphone Mute Flip up the mic to mute. There is an audible tone when the mic is muted or unmuted.
EQ PRESETS
Signature Sound
Bass Boost
Bass + Treble Boost
Vocal Boost
SETUP FOR BOX
- Put the transmitter into “XBOX” mode.

- Connect the transmitter to the USB port.

- Power on the headset.

- Wait for the headset & transmitter to pair.

SURROUND SOUND FOR X8OX (ONLY AVAILABLE ON XBOX
- Go to General>Voturne >Audio Output
- Set Headset Format to Windows Sonic for Headphones
For updated setup instructions visit: turtlebeach.com/sonic
CHARGING
The StealthTM 600 Gen 2 MAX gives you 48+ hours of rechargeable battery life. Make sure to charge it regularly before storing it.

Headset Storage
Always charges your headset before storing it for any extended period of time (greater than 3 months). Never store the unit in temperatures above 113°F/45°C.
USB TRANSMITTER COMPATIBILITY
The USB-A transmitter is equipped with a switch that allows you to change compatibility modes.
| XBOX MODE | USB MODE |
| Xbox Series XIS | PS5’m & PS4TM |
| Xbox One | Windows PC/Mac® I |
| Nintendo SwitchTM* I |
*Nintendo Switch’s wireless compatibility is supported while in docked mode only. Chat is available for games that support in-game chat capabilities.
SETUP FOR US8 MODE
- Put the transmitter into “USB” mode. Mettre l’emetteur en mode “USB”.

- Put the transmitter into your platform’s USB-A port.

- power on the headset.

- Wait for the headset & transmitter to pair.

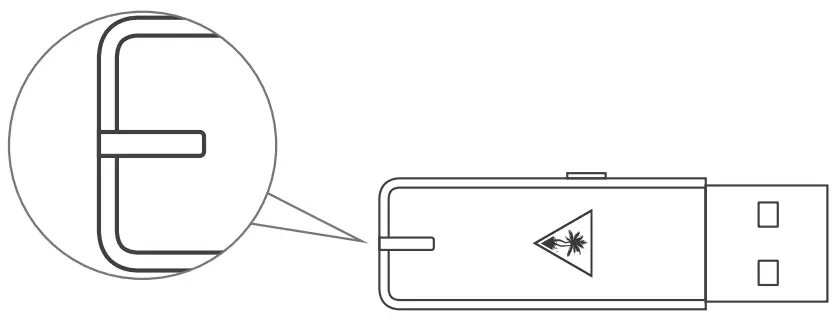
LED BEHAVIORS

| HEADSET LED | MEANING |
| Solid Green | Headset and Transmitter Paired |
| Breathing Green | (While Charging & On) Battery Full |
| Double-Blink Green | Not Paired |
| Solid Red | While Charging) Battery Charging |
| Breathing Red | Battery Low LED turns off when the battery is fully charged if a headset is oft |

| TRANSMITTER LED INDICATION | MEANING |
| Solid Green | Headset and Transmitter Paired |
| Double-Blink Green | Not Paired |
| Breathing Red | Mic Muted |
RE-PAIRING

- From OFF, press and hold the POWER button on the headset until the LED starts flashing rapidly.
- Insert the transmitter into the console.
- Press and hold the pin-hole button on the side of the transmitter until the LED starts flashing rapidly.
- After a few moments, the headset and transmitter LEDs will become solid, indicating a successful pairing.
Regulatory Compliance Statements for the EAR FORCE StealthTM 600X Gen 2 MAX
Modest Stealth600X-MAX-RX & Stealth600X-MAX-TX
Local Restrictions on Radio Usage
Caution: Due to the fact that the frequencies used by wireless devices may not yet be harmonized in all countries, these radio products are designed for use only in specific countries, and are not allowed to be operated in countries other than those of designated use. As a user of these products, you are responsible for ensuring that the products are used only in the countries for which they were intended and for verifying that they are configured with the correct selection of frequency and channel for the country of use. Any deviation from the permissible power and frequency settings for the country of use is an infringement of national law and may be punished as such. To determine whether you are allowed to use your wireless network device in a specific country, please check to see if the radio type number that is printed on the identification label of your device is listed in the manufacturer’s OEM Regulatory Guidance document at the following http://www.turtlebeach.comThomologation or contact Turtle Beach directly. Federal Communications Commission (FCC) Compliance Notices
This section includes the following FCC statements for the Stealth600X-MAX-RX & Stealth600X-MAX-TX:
- FCC ID: XGB-2362-RX & XGB-2362-TX
- Class B Interference Statement
- RF Radiation Exposure & Hazard Warning
- Non-Modification Statement
Class B Interference Statement
This equipment has been tested and found to comply with the limits for a Class B digital device, pursuant to Part 15 of the FCC Rules. These limits are designed to provide reasonable protection against harmful interference in a residential installation. This equipment generates, uses, and can radiate radio frequency energy and, if not installed and used in accordance with the instructions, may cause harmful interference to radio communications. However, there is no guarantee that interference will not occur in a particular installation. If this equipment does cause harmful interference to radio or television reception, which can be determined by turning the equipment off and on, the user is encouraged to try to correct the interference by one or more of the following measures:
- Reorient or relocate the receiving antenna.
- Increase the separation between the equipment and receiver.
- Connect the equipment into an outlet on a circuit different from that to which the receiver is connected.
- Consult the dealer or an experienced radio/1V technician for help.
FCC Caution:
This device complies with Part 15 of the FCC Rules. Operation is subject to the following two conditions: (1) This device may not cause harmful interference, and (2) this device must accept any interference received, including interference that may cause undesired operation.
RF Radiation Exposure & Hazard Statement
To ensure compliance with FCC RF exposure requirements, this device must be installed in a location such that the antenna of the device will be greater than 2 cm (0.8 in.) from all persons. Using higher gain antennas and types of antennas not covered under the FCC certification of this product is not allowed. Installers of the radio and end users of the product must adhere to the installation instructions provided in this manual. This transmitter must not be co-located or operated in conjunction with any other antenna or transmitter.
Non-Modification Statement
Use only the supplied internal antenna. Unauthorized antennas, modifications, or attachments could damage the Stealth600X-MAX-RX & Stealth600X-MAX-TXand violate FCC regulations
Any changes or modifications not expressly approved by the party responsible for compliance could void the user’s authority to operate this equipment. Please contact Turtle Beach for a list of approved 2.4 GHz antennas.
This product is compliant with the Consumer Product Safety Improvement Act of 2008, Public Law 110414 (CPSIA)
Canadian ICES Statements
IC: 3879A-2362-RX & 3879A-2362-TX (Stealth600X-MAX-RX & Stealth600X-MAX-TX) This device complies with ICES-003 and RSS-247 of Industry Canada. Operation is subject to the following two conditions:
- This device may not cause interference, and
- This device must accept any interference, including interference that may cause undesired operation of the device.
To prevent radio interference to the licensed service (i.e. co-channel Mobile Satellite systems) this device is intended to be operated indoors and away from windows to provide maximum shielding. Equipment (or its transmit antenna) that is installed outdoors is subject to licensing and not supported by Stealth600X-MAX-RX & Stealth600X-MAX-TX.
RF Radiation Exposure & Hazard Statement
To ensure compliance with RSS-102 RF exposure requirements, this device must be installed in a location such that the antenna of the device will be greater than 2 cm (0.8 in.) away from all persons. Using higher gain antennas and types of antennas not covered under the IC certification of this product is not allowed. Installers of the radio and end users of the product must adhere to the installation instructions provided in this manual This transmitter must not be co-located or operated in conjunction with any other antenna or transmitter.
European Union and European Fair Trade Association Regulatory Compliance
This equipment may be operated in the countries that comprise the member countries of the European Union and the European Fair Trade Association. These countries, listed below, are referred to as The European Community throughout this document:
AUSTRIA, BELGIUM, BULGARIA, CYPRUS, CZECH REPUBLIC, DENMARK, ESTONIA, FINLAND, FRANCE, GERMANY, GREECE, HUNGARY, IRELAND, ITALY, LATVIA, LITHUANIA, LUXEMBOURG, MALTA, NETHERLANDS, POLAND, PORTUGAL ROMANIA, SLOVAKIA, SLOVENIA, SPAIN, SWEDEN, UNITED KINGDOM, ICELAND, LICHTENSTEIN, NORWAY, SWITZERLAND
Declaration of Conformity
Marking by this symbol: indicates compliance with the Essential Requirements of the Radio Equipment Directive LRED) of the European Union 12014/53/EUL This equipment meets the following conformance standards:
Safety: EN 62368-1: 2014 + All (T-Mark License), EC 62368-1: 2014 (CB Scheme Certificate), EN 50332-1: 2013, EN 50332-2: 2013, EN 71-3: 2013 Additional licenses issued for specific countries available on request
EMC: EN 55032: 2015, CISPR 32: 2015, EN 301 489-1 V2.1.1 (2017-02), EN 301 489-17 V3.1.1 (2016-111 EN 61000-4-2:2009, EN 61000-4-3: 2006 + Al: 2008 + A2: 2010, EN 61000-4-8: 2010
The products are licensed, as required, for additional country-specific standards for the International Marketplace. Additional issued licenses are available upon request.
Radio: EN 300 328v2.1.2 (2019-07)
SAR: EN 62311: 2008
Environmental RoHS 2015/863 amending Annex II to 2011/65/EU, WEEE 2012/19/EU, REACH 2006/1907/EC, Packaging 94/62/EC, Battery 2006/66/EC, Toys Safety Directive 2009/48/EC
Please visit the following URL for a complete copy of the Declaration of Conformity: http://www.turtlebeach.comMornologation
Warning! This is a Class B product. In a domestic environment, this product may cause radio interference, in which case, the user may be required to take appropriate measures.
This symbol on the product or its packaging indicates that this product must not be disposed of with your other household waste. Instead, it is your responsibility to dispose of your waste equipment by handing it over to a designated collection point for the recycling of waste electrical and electronic equipment. The separate collection and recycling of your waste equipment at the time of disposal will help conserve natural resources and ensure that it is recycled in a manner that protects human health and the environment. For more information about where you can drop off your waste for recycling, please contact your local authority, or where you purchased your product.
Turtle Beach Europe Ltd is obligated as a producer with a main activity of selling under The Producer Responsibility Obligations (Packaging Waste) Regulations 2007. To fulfill our obligation we are registered with Comply Direct and their Recycling Room. Here you will find advice and information on packaging waste management, recycling symbols, and the waste hierarchy principles of reducing, reusing and recycling. https://www.complydirect.cornithe-recycling-roorni
To access the rating Label:
1. Remove the left ear pad by pulling the ear pad straight up using your thumb.
2. Once you’ve released the cloth from the lip on top, pull the ear pad straight back and it should slip right off.
To replace the ear pad, follow the same process in reverse.
Noting what you’re looking for here?
Visit turtle each.com/support for the latest Tech Support information
PKG DESIGN DEPT
Designer, Brent Oliver
Product: Stealth 600X Gen 2 MAX
Project, OSG
Date, 12/14/21
Scale: 100% a
COMMENTS
Please do not print this layer!!!
- 100% actual size
- Refer to the video on how to fold
SPECIFICATIONS
Printing information
BLK + WHT
OSG Paper Weight 180g
Foldout Folding Line
CHANGES
Orig Arena It 426-231-005-005
New Arena I: 426-231-005-005 RA
Date / Initiators 10/1B/211<brent Oliver)
1. DVT
10-20-21 – Implemented 2iflow changes.
11-22-21 – Switch name from MP to MAX.
11-23-21 – PVT & Implemented Zitlow changes
New Arena N. 426-231-005-005 RB
Date / Initiator! 12/14/21 I Taylor Swanson
1. Updated Regulatory per View / Mickey S. <hal
2. MP
New Arena #, APO did not change [(gins ()paled
Date/Initiators 12-16-21 / changes per PGM
1. Updated regulatory per Tim























