BORMANN BPG9200 Paint gun electric 1200 watt

Safety instructions
It is important for you to read and understand this manual. The information it contains relates to protecting YOUR SAFETY and PREVENTING PROBLEMS. The symbols below are used to help you recognize this information.
Danger! Indicates an imminently hazardous situation which, if not avoided, will result in death or serious injury.
Warning! Indicates a potentially hazardous situation which, if not avoided, could result in death or serious injury.
Caution! Indicates a potentially hazardous situation which, if not avoided, may result in minor or moderate injury.
Notice! Used without the safety alert symbol indicates a potentially hazardous situation which, if not avoided, may result in property damage. The following are explanations of important safety hazard pictorials in this manual.
The following are explanations of important safety hazard pictograms in this manual.
Read and understand the instruction manual.
Fire hazard.
Explosion hazard.
Respiratory hazard.
Electric shock hazard.
SAVE THESE INSTRUCTIONS
To reduce the risks of fire or explosion, electrical shock and the injury to persons, read and understand all instructions included in this manual. Be familiar with the controls and the proper usage of the equipment.
This product is intended for household use only.
Warning! Fire or explosion hazard. Solvent and spray material fumes can explode or ignite.
Severe injury or property damage can occur.
To avoid these risks, take the following preventions:
- Exhaust and fresh air introduction must be provided to keep the air within the spray area free rom accumulation of flammable vapors.
- Avoid all ignition sources such as static electricity sparks, open flames, pilot lights, hot objects, lit tobacco products, and sparks from connecting and disconnecting power cords or working light switches.
- Fire extinguisher equipment shall be present and working.
- Keep area clean and free of paint or solvent containers, rags, and other flammable materials.
- Follow the material and solvent manufacturer’s safety precautions and warnings.
- Do not spray flammable or combustible materials near an open flame or sources of ignition such as lit tobacco products, motors, and electrical equipment.
- Know the contents of the spray materials and their cleaning solvents. Read all Material Safety Data Sheets (MSDS) and container labels provided with the
spray materials and solvents. Follow the spray material and solvent manufacturer’s safety instructions. - Dont’ use materials with a flashpoint higher than 60ºC (140ºF). Flashpoint is the temperature is the temperature that a fluid can produce enough vapors to ignite (see coating supplies).
Warning! Explosion hazard due to incompatible materials. Severe injury or property damage can occur.
To avoid these risks, take the following preventions:
- Do not use bleach.
- Do not use halogenated hydrocarbon solvents such as methylene chloride and 1,1,1 – trichloroethane. They are not compatible with aluminium and may cause an explosion. If you are unsure of a material’s compatibility with aluminium, contact your coating supplier.
Warning! Hazardous vapours. Spray materials, solvents, and other materials can be harmful if inhaled or come in contact with the body. Vapours can cause severe nausea, fainting, or poisoning.
To avoid these risks, take the following preventions: - Use a respirator or mask if vapours can be inhaled.
Read all instructions supplied with the mask to be sure it will provide the necessary protection. - Wear protective eye-wear.
- Wear protective clothing as required by coating manufacturer.
Warning! Electric shock hazard. May cause severe injury.
To avoid these risks, take the following preventions
• Keep electrical cord plug and sprayer trigger free from spray material and other liquids. Never hold cord at plug connections to support cord.
Failure to observe may result in an electrical shock.
• Never immerse electrical parts in water or any other liquid. Wipe the exterior of the sprayer with
a damp cloth for cleaning. Always make sure the sprayer is unplugged before taking it apart for cleaning.
• Do not expose unit to rain or wet conditions.
• Do not abuse the cord. Never use the cord to carry the unit or pull the plug from an outlet. Keep cord away from heat, oil, sharp edges or moving parts.
Replace damaged cords immediately.
General safety warnings
Warning! General. To Reduce the risk of severe injury or property damage.
To avoid these risks, take the following preventions:
- Do not aim the gun at, or spray any person, including self, or animal.
- Do not spray outdoors on windy days
- Wear protective clothing to keep spray material off skin and hair.
- Hose may become hot and cause skin burn.
- Follow all appropriate local, state, and national codes governing ventilation, fire prevention and operation.
- Always use appropriate gloves, eye protection and a respirator or mask when spraying, thinning, mixing, pouring, or cleaning.
- Do not operate or spray near children. Keep children away from equipment at all times. Keep sprayer out of the reach of children.
- Do not overreach or stand on an unstable support. Keep effective footing and balance at all times.
- Stay alert and watch what you are doing.
- Do not operate the unit when fatigued or under the influence of drugs or alcohol.
- Read all instructions and safety precautions for equipment and spray material before operating any equipment.
- Hearing protection is recommended for extended use.
Electrical safety
This tool is double insulated; therefore no earth wire is required. Always check that the power supply corresponds to the voltage on the rating plate.
- If the supply cord is damaged, it must be replaced by the manufacturer or an authorised Service Centre in order to avoid a hazard.
- When using the tool outdoors, only use extension cables intended for outdoor use. A suitable rated extension cable of up to 30m can be used without loss of power.
- Electric safety can be further improved by using a high sensitivity.
Extension cord 3-blade grounding plug and a 3-slot receptacle that will accept the plug on the product. Make sure your extension cord is in good condition.
When using an extension cord, be sure to use one heavy enough to carry the current your product will draw. An undersized cord will cause a drop in line voltage
resulting in loss of power and overheating. If an extension cord is to be used outdoors, it must be marked with the suffix W-A after the cord type designation.
For example, a designation of SJTW-A would indicate that the cord would be appropriate for outdoor use. For proper size cords see chart.
Guide for extension cord usage
| TYPE OF CABLE | UP TO 5 METRES | FROM 5 TO 10 METRES |
| PARALLEL | 2x 1.0 mm2 | 2x 1.5 mm2 |
Warning! Some spray materials contain chemicals known to the State of California to cause cancer, birth defects or other reproductive harm. To reduce your exposure wear appropriate safety equipment such as face masks, gloves, and other appropriate protective equipment.
Please review and follow the safety precautions on the paint container.
Description of main parts (Fig. A, Fig. A1, Fig. A2 )


- Sprayer
- Power unit
- Smart nozzle selector
- Tip collar
- Air cap
- Nozzle (Φ2.0mm/Φ2.5mm/Φ3.0mm)
- Y-type seal ring
- Spray width lever
- Spray tip
- Spray unit housing
- Spray gun handle
- Quick refill lid
- Sealing liner
- O-ring
- Pickup tube
- Check valve assembly
- Check valve sleeve 1
- Check valve
- Spring
- Check valve sleeve 2
- Valve extension
- Canister
- Trigger
- Flow control knob
- Quick release lock
- Telescopic tube handle grip
- Telescopic tube lock on/off
- Sprayer dock
- Filter cover
- Filter
- On / off switch
- Filter
- Universal wheels with lock
- Universal wheels without lock
- Filter 2
- Air ventilation cover
- Air hose
- Viscosity cup
- Cleaning needle
- Cleaning brush
- Spray tip key
- 1.0 Spray width lever
Differences may be found on the illustrated-listed accessories due to differences which depend on product type.
Setup
Warning! Be sure to use appropriate protective gear and unplug unit.
Warning! Make sure area is well ventilated and free of flammable vapours.
Aligning the pickup tube (Fig. B)
The pickup tube (#15) needs to be aligned in the direction toward the front of the canister ( Fig. B).
This will ensure you spray as much material as possible before you need to refill.
Make sure the pickup tube is assembled tight in place.

Attaching spray unit to spray gun handle (Fig. B1)
Align the marking line on the spray unit with the icon of unlock, then rotate the spray gun handle clockwise until stop. Rotate the quick release lock (#20) and
snap onto the hook on the edge of canister lid.
Assemble the universal wheels (Fig. C)
Snap the universal wheels onto the 4 openings at the bottom side of the power unit
Note: Assemble 2 universal wheels with lock (#28) at the front side, and 2 universal wheels without lock (#29) at the back side.

Attaching the air hose (Fig. D1, Fig. D2)
- Insert one end of the air hose into the hose connector of the back of the sprayer. A slight twisting action when inserting the hose will help insure a snug fit (Fig. D1).
- Insert the other end of the air hose into the hose connector of the front of the power unit. A slight twisting action when inserting the hose will help insure a snug fit (Fig. D2).


Liquid material preparation (Fig. E1 and E2)
Tip: Make sure the type of material you use can be cleaned with either mineral spirits or paint thinner (for oil-based paints) or a warm water and soap solution (for water soluble paints like latex). Use drop cloths during pouring, mixing, and viscosity testing of materials to be sprayed to protect your floors and anything else in the spraying area that you wish to remain untouched.

The liquid being sprayed may need to be thinned (diluted) before starting. When thinning, use the proper liquid thinner recommended on the con-tainer by the material manufacturer.
Warning! Do not use materials with a flashpoint higher than 600C.
A viscosity test cup may be used in order to determine the “run-out time” of the material being used.
- Before measuring for the proper viscosity, stir the material thoroughly.
- Dip the viscosity cup into the material being sprayed and fill the cup completely.
- With the cup held over the material container, measure the amount of time it takes for the stream of material flowing out to ”break” or stop being a constant stream out of the bottom of the cup (150 seconds or less) (Fig. E). This is the “run-out time”. Refer to the thinning table for information on the thinning required for different materials.
- If material needs thinning, add the appropriate liquid, thinning material recommended by the manufacturer (Fig. E1).
- It is possible to spray latex paint with this unit, however, the required thinning may exceed material manufacturer’s recommendation. Thin latex paint so that it runs through viscosity cup within 150 seconds. The operator should consider the type of application and final location of the project when spraying a material that requires more than 150 seconds to run through the viscosity cup.
Operation
| Thinning table | |
| Spray material | Runout time |
| Clear and semitranspar- ent stains and sealers Oil based primers, var- nishes and polyurethane | No thinning required (Less than 150 seconds runout) |
| Solid color water-based stains | May require thinning (More than 150 seconds runout) |
| Note: Not recommended for textured paint | |
Preparation tips
- Always stir and strain the material thoroughly before use.
- With any spraying job you should always ensure that you have properly prepared the surface to get the best finish. That is, all surfaces are free from dust, dirt, rust and grease. Lightly pressure wash decks or exterior surfaces and ensure that they are dry before spraying.
- Even though HVLP sprayers have very little overspray, it is recommended that you mask all edges and other areas and use drop cloths to protect your floors and anything else in the spraying area that you wish to remain untouched.
- Skin that forms on the top of paint can clog the sprayer. Remove skin before mixing. Strain with a funnel with a filter attached or through hosiery to remove any impurities that could clog system.
- Before starting have gloves, paper towels, rags etc. available for unexpected spills.
Filling the canister (fig. F)
- Check to make sure that the canister is completely screwed onto the sprayer.
- Unscrew the quick refill lid (#12).
- Stand the sprayer firmly on an smooth and horizontal surface
- Pour the properly thinned and strained material to be sprayed into the canister (Fig. F).
- Clean any residual liquid from the threads or sides of the canister and sprayer.
- Starting the threads evenly, screw the lid completely onto the top fill canister. Check the lid to make sure it is threaded on squarely and completely before picking up the sprayer.

ON / OFF switch (fig. G)

The on/off switch is located on the top of the power unit. Press the switch button to turn on or turn off the power unit.
Smart select nozzle selection (Fig. H, Fig. H1)

There are three spray patterns to choose from:
- Vertical Flat Jet
- Horizontal Flat Jet
- Circular Jet

Warning! Risk of injury. Never point the sprayer at any part of the body. Never pull the trigger while adjusting the spray setting.
Adjusting width of spray pattern (Fig. H1)
By turning the Spray Width Lever (#8) between the Minimum marking and Maximum marking, the width of the spray patterns can be adjusted accordingly.


Flow control knob (Fig. I)

The flow control knob (#19) regulates the amount of liquid that can be sprayed. Turning the flow knob clockwise increases the flow of liquid. Turning the knob
counter anti-clockwise decreases the flow of liquid.
Tip: Always test the spray pattern on scrap cardboard or similar material first. Begin with flow control knob on the highest flow setting. If less flow is desired,
dial the flow control knob anticlockwise to decrease the flow of liquid. Heavier, thicker materials should be sprayed with the flow control knob on high flow
setting. Thinner materials should be sprayed with the flow control knob on low flow setting.
Developing the proper spraying technique
- Practice spraying on a piece of scrap material such as cardboard to test your spray pattern and become familiar with the flow control feature of the sprayer.
- Ensure surface to be sprayed is free of dust, dirt, and grease.
- Ensure spray area is clean and free of dust that could be blown onto newly sprayed surfaces.
- Cover any areas not intended to be sprayed.
- Always spray from a minimum of 50mm to a maximum of 300mm (Fig. J).

- A commonly used method for spraying a large surface is the “criss-cross” pattern. This is done by spraying in horizontal strips and then crossing over these strips with vertical strips. (Fig. L)

- To get an even spray distribution, always keep your arm at the same distance (Fig. J) from the surface you are spraying and avoid moving your wrist (Fig. K).

- Maintain smooth and consistent speed which will help avoid inconsistencies. Begin spraying after the pass has begun and release trigger before stopping the
pass. - Avoid spraying too heavily in any one area.
Several lighter coats are better than one heavy coat which can lead to running and dripping.
Remember that the flow control knob regulates the amount of liquid that can be sprayed. Turning the flow knob clockwise increases the flow of liquid. Turning
the knob counter-clockwise decreases the flow of liquid. If runs or drips do occur, have a dry paint brush on hand to smooth them out. - Turn the power unit off and place the sprayer in the built-in dock of the power unit when not spraying for any length of time. If you want to store the tool for
a long time, follow the cleaning instructions first.
Cleaning
Warning! Be sure to use appropriate protective gear.
- Do not use materials with a flashpoint higher than 60°C ( 140°F) . Flashpoint is the temperature that a fluid can produce enough vapours to ignite (see coating
supplier). - Make sure clean up area is well ventilated and free of flammable vapours.
- Always spray outdoors when spraying cleaning solution through sprayer.
- Do not submerse power unit.
- Use drop cloths during pouring, mixing, and viscosity testing of materials to be sprayed to protect your floors and anything else in the spraying area that you
wish to remain untouched. - To begin cleaning:
- Turn the power unit off, unplug the cord and disconnect air hose from sprayer.
- Unscrew the canister from the sprayer and pour any remaining liquid back into the original container (Fig. M).

- Pour a small amount of the appropriate cleaning solution into the canister (Fig. N).

- Warm soapy water for water based materials
- Manufacturers recommended cleaning solution for oil based materials
- Screw on the canister back to the sprayer securely and vigorously shake the sprayer.
- Unscrew the canister and properly dispose of cleaning solution.
- Refill the canister with a small amount of new cleaning solution (Fig. M). Screw on the canister back the sprayer.
- Reattach the air hose to the sprayer, plug in the cord and turn on the power unit.
- Spray the cleaning solution through the sprayer onto scrap material for 2 to 3 seconds (Fig. O).

- Turn the power unit off, unplug the cord and disconnect air hose from sprayer
- Unscrew the canister from the sprayer.
- Remove the o-ring (#14), pickup tube(#15), check valve (#16), and quick refill lid (#12) from the sprayer. Clean the parts with the cleaning brush* in the appropriate
cleaning solution (Fig. P).
Note: When removing the check valve, twist the check valve clockwise and then pull it out (Fig.P insert). - Unscrew the tip collar (#4) and remove all the parts of the spray nozzle(#3,#4,#5,#6,#7.#8) from the sprayer.
Remove the spray tip(#9) from the sprayer ( Fig. Q1). Clean all parts with the cleaning brush in the appropriate cleaning solution (Fig. Q, Fig.Q1). Be sure to clean
around check valve with brush (Fig. Q insert).
- If using water based material, clean the sprayer by running water through pickup tube inlet as shown in Fig. R. If using oil-based materials, clean pickup tube
inlet with the appropriate cleaning solution.
Repeat until sprayer is completely clean. - Dry all parts thoroughly.
- Properly dispose of cleaning solution.
- Place a drop of household oil into the inside of the sprayer from the hole for assembling the spray tip (Fig. S).

- Reassemble sprayer (Fig. T).

Note: Spray nozzle can only be assembled in one direction that the notch of the nozzle(#6) must align with the skirt on spray unit housing(#10). Refer to Fig.
T1 for proper assembly.
Note: The spray tip must be assembled in the sprayer with the bumps on the spray tip in vertical direction
Note: Assemble the pickup tube(#15) and check valve (#16) by firmly pushing them onto the inlet on the sprayer.
- Wrap the air hose around the power unit and put all accessories back into place.
Not included with all models.
Maintenance
Use only mild soap and damp cloth to clean the power unit. Never let any liquid get inside the power unit; never immerse any part of the power unit into a liquid.
Important! To assure product SAFETY and RELIABILITY, repairs, maintenance and adjustment (other than those listed in this manual) should be performed by
authorized service centers or other qualified service personnel, always using identical replacement parts.
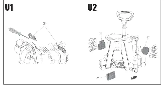
The power unit contains 3 washable / reusable filters(#25,#27,#30). Check the filter before and after each use. If dirty, wash with warm water and allow to air
dry before re-installing or replace if necessary. (Fig. U2)
- To check the filter,
- Remove the filter cover (#24) by squeezing the top and bottom sides of the filter cover (#24) and pulling the cover off the power unit.
- Remove the air ventilation cover (#31) with a tool to lever open the cover off the power unit (FIG.U1)

Remove the filter as shown in Fig.U2 and inspect. Replace filter and filter cover.
Important! Never operate the power unit without the filter in place. Debris could be sucked in and interfere with the function of the power unit.
Storage
Make sure unit is clean and dry before storing.
Store unit indoors in a dry location. To prevent damage, wrap the electrical cord so that it is not crimped during storage.
Accessories
Recommended accessories for use with your product are available from your local dealer or authorized service center.
Warning! The use of any accessory not recommended for use with this product could be hazardous.
Protecting the environment
Separate collection. This product must not be disposed of with normal household waste. Should you find one day that your product needs replacement, or if it
is of no further use to you, do not dispose of it with household waste. Make this product available for separate collection.
Separate collection of used products and packaging allows materials to be recycled and used again. Re-use of recycled materials helps prevent environmental
pollution and reduces the demand for raw materials. Local regulations may provide for separate collection of electrical products from the household, at municipal
waste sites or by the retailer when you purchase a new product.
Troubleshooting
| TROUBLE: MATERIAL RUNS OR DRIPS. | |
| Possible cause | Remedy |
| Spraying too much material. | Reduce paint flow by turning material adjustment knob; |
| Spraying too slowly. | Increase speed of application. |
| Spraying too close. | Increase distance from surface. |
| Viscosity too thin. | Check dilution recommendation. |
| TROUBLE: MATERIAL DRIPS FROM NOZZLE | |
| Possible cause | Remedy |
| Nozzle loose | Screw nozzle tight |
| Nozzle breaks | Change |
| Y-type seal ring of nozzle breaks | Change |
| Material accumulated /clog inside nozzle | Clean |
| TROUBLE: TOO MUCH OVER SPRAY. | |
| Possible cause | Remedy |
| Sprayer too far from surface. | Reduce distance to surface. |
| Too much material being sprayed. | Reduce flow by turning flow control knob. |
| TROUBLE: LITTLE OR NO MATERIAL BEING RELEASED. | |
| Possible cause | Remedy |
| Spray nozzle/tip clogged. | Clean nozzles. |
| Y-type seal ring of nozzle missing | Add seal ring to nozzle and assemble in place |
| Pickup tube loose or clogged. | Check tube. |
| Canister loose. | Screw canister tightly in place. |
| Quick refill lid loose | Screw quick refill lid tightly in place. |
| Air hose split or disconnected. | Check air hose. |
| Flow control knob setting too low. | Increase flow control setting. |
| Air inlet blocked. | Clean or change air filter |
| Material too thick. | Thin material per manufacturer recommendation. |
| TROUBLE: MATERIAL BEING SPRAYED IS SPLATTERING. | |
| Possible cause | Remedy |
| Viscosity of material is too high. | Thin material per manufacturer recommendation. |
| TROUBLE: ATOMIZATION IS TOO COARSE. | |
| Possible cause | Remedy |
| Viscosity of material too high. | Thin material per manufacturer recommendation. |
| Flow control knob setting too high | Decrease flow control setting |
| Material accumulated /clog inside nozzle | Clean |
| Air inlet blocked | Clean or change air filter |
| Canister loose | Screw canister tightly in place |
| Quick refill lid loose | Screw quick refill lid tight in place |
| TROUBLE: SPRAYER PULSATES. | |
| Possible cause | Remedy |
| Air filter clogged | Clean or change air filter |
| Material in canister almost empty | Refill canister. |
| Canister loose | Screw canister tightly in place |
| Quick refill lid loose | Screw quick refill lid tight in place |
| TROUBLE: SPRAY MATERIAL DOES NOT COVER PROPERLY. | |
| Possible cause | Remedy |
| Flow control knob setting too low. | Increase flow control setting |
| Clearance to target area too large | Reduce spray distance |
| Too few spray paths sprayed over target area | Apply more spray paths sprayed over target area |
| Viscosity of material too high. | Thin material per manufacturer recommendation. |
Technical Data
| Voltage / frequency: | 110V/230V ≈ 50Hz/60Hz |
| Input power: | 1200W |
| Nozzle size: | �1,0mm / 2,0 /2,5mm |
| Max viscosity: | 150DIN-S |
| Max. Water consumption: | 1100ml/min |
| Container capacity: | 900ml |
| Standard hose length: | 3m |
- The manufacturer reserves the right to make minor changes to product design and technical specifications without prior notice unless these changes significantly affect the performance and safety of the products. The parts described/illustrated in the pages of the manual that you hold in your hands may also concern other models of the manufacturer’s product line with similar features and may not be included in the product you just acquired.
- Please note that our equipment has not been designed for use in commercial, trade or industrial applications.
Our warranty will be voided if the machine is used in commercial, trade or industrial businesses or for equivalent purposes. - To ensure the safety and reliability of the product and the warranty validity, all repair, inspection, repair or replacement work, including maintenance and special adjustments, must only be carried out by technicians of the authorized service department of the manufacturer
































