Honeywell Connected OEM Software End-to-End Solution User Guide
Overview
This document provides description and procedures for the quick start guide of Connected OEM.
Connected OEM is a solution on IIoT Technology. It is a Cloud based remote monitoring solution that securely connects equipment installed with Connected OEM data collectors and sensors, providing critical asset data and alarms on the Connected OEM mobile node and Connected OEM dashboard. It improves services responsiveness, equipment efficiency, and reliability.
A plug-and-play solution allows OEMs to monitor their equipment and increase the overall equipment effectiveness (OEE).
Features
- Monitors the health condition of various geographically dispersed equipment.
- Generates customizable asset KPI dashboard using Connected OEM mobile node and Connected OEM dashboard.
- The offering is aimed to help OEMs to create new business models.
- KPI visualization dashboards will help users with faster business decisions, such as instrument repair or adjusting parameter settings to boost overall performance.
- Alarms and notifications will help OEM engineers/ site personnel timely address alarm circumstances.
Reference Documents
For additional information, see the list of below documents.
| Document Number | Document Name |
| CODOC-X780-en-R102.1 | Connected OEM Installation and Troubleshooting Guide |
| CODOC-X781-en-R102.1 | Connected OEM User Manual |
| Moxa OnCell 3120-LTE-1 Series | Moxa-oncell-3120-lte-1-series-qig |
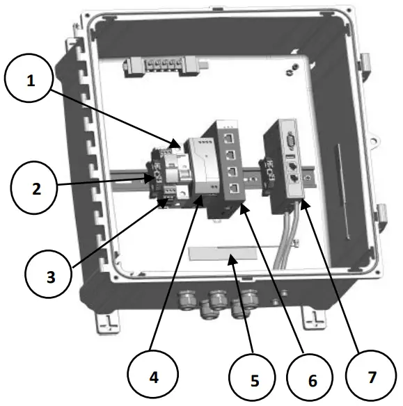
Connected OEM Architecture

Communication Enclosure arrangement
- Circuit breaker
- End bracket
- Type 3 surge protection device (optional)
- Power supply
- Antenna (Internal or external options)
- 5 Port Switch: Network Switch (Optional: When there are more than 2 ControlEdge devices)
- Cellular Gateway

Getting Started
Prerequisites
- OEM Admin creates an application account for users using the User Management portal.
- The user receives an On-boarding email from OEM Admin with a User ID and link to
complete the onboarding process.
Download and Install the Honeywell Connected OEM mobile node from iOS device
- Click the URL link or scan the QR code to download and install the app for iOS device
| URL | QR CODE |
| https://apps.apple.com/ ch/app/honeywell experion /id1286598854?l=en | |
Download and Install the Honeywell Connected OEM mobile node from Google play Store
- Click the URL link or scan the QR code to download and install the app for Android device.

URL QR CODE https://play.google.com/ store/apps/details?id=com. honeywell.operate
Specifications
Qualified Data Collectors:
- Control Edge PLC and Control Edge RTU
Qualified Gateway:
- Mona On Cell 3120-LTE-1
Min and Max Equipment Supported:
- As per SaaS Plan and Tiers
Connectivity:
- Equipment Connectivity: Private Cellular
Network (LTE)
- IIoT Protocol: MQTT with Sparkplug B
- Network Service Provider: Vodafone or
Vodafone Partners
Connected OEM Mobile Node Specifications:
- Minimum iOS Version 11 and above
- Minimum Android Version 6 and above
Connected OEM Dashboard Specifications:
- Recommended browser: Google Chrome.
OEM User Onboarding
- Open the email from OEM admin and click on onboarding process link.
- Enter Username provided in the onboarding email and click Next. A link is sent over email to Reset password.

- Select Reset Password link.

- In the Create a new password window, type the New password and Confirm password, and click Next.

- Now user is set to login to Connected OEM dashboard with username and password.
Note: The credentials for Connected OEM dashboard and Connected OEM mobile node are different. User receives two separate emails.
Note: As a Connected OEM user, you can access the Connected OEM dashboards from a desktop or a mobile device.
Web Browser Login
Note: Contact OEM admin for OEM web dashboards server connection link.
- Copy paste the server connection link in the browser.
- Sign in with created User ID and Password.

- After successful login, the dashboard view appears

- You now have the access to dashboards from your web browser.
Mobile Device Login
Note: Contact OEM Admin for Connected OEM mobile node server connection link.
- Ensure the Honeywell Experian Mobile app is download:
- Download the app from the respective stores by using the provided QR code or URL link.
- Click on the Install button.
- Click Open to login to the Connected OEM mobile node.

- Type the server’s name and click continue. The Alert message dialog box appears indicating that “Experian” wants to use “honeywell.com” to sign in. Tap Continue.

- In sign in window, enter username and password. Click Sign In.
- User can use Change your password option to change the password.
Connected OEM Dashboard
A dashboard is a collection of data displayed in a graphical layout. It is utilized by the business heads, engineers, supervisors, planners and operators, for business analysis, monitor and to make decisions accordingly.
Connected OEM Mobile Node
The mobile node displays the enterprise overview in three panes: Detail, Sites, and Opportunity. It shows similar information like a web browser.
DISCLAIMER
This document contains Honeywell proprietary information.
Information contained herein is to be used solely for the purpose submitted, and no part of this document or its contents shall be reproduced, published, or disclosed to a third party without the express permission of Honeywell International Sàrl. While this information is presented in good faith and believed to be accurate, Honeywell disclaims the implied warranties of merchantability and fitness for a purpose and makes no express warranties except as stated in its written agreement with and for its customer.
In no event is Honeywell liable to anyone for direct, special, or consequential damages. The information and specifications in this document are subject to change without notice.
Copyright 2022 – Honeywell International Sarl.
Contact Us:
For service-related questions, contact:
Technical Assistance Centre
E-mail: [email protected]
For more information
To learn more
visit https://process.honeywell.com
Or contact your Honeywell Account Manager
Process Solutions
Honeywell
2101 City West Blvd,
Houston, USA, TX 77042
Honeywell Control Systems Ltd
Honeywell House, Skimped Hill Lane
Bracknell, England, RG12 1EB
Shanghai City Centre, 100 Jungi Road
Shanghai, China 20061
https://process.honeywell.com
CODOC-X779-en-R102.1
June 2022
© 2022 Honeywell International
































