MONTE CARLO 3ALMSM52XXX Series Alma 52 Inch Ceiling Fan

Product Information
- Product Name: 3ALMSM52XXX Series Fan
- Model Number: 3ALMSM52
- Weight: 6.5 kg (14.3 lbs)
- Certification: cET
- Manufacturer: Monte Carlo Fans
- Customer Service: 800-969-3347
- Customer Service Center: 7400 Linder Ave.
Skokie, IL 60077
Website: www.montecarlofans.com
Product Usage Instructions
- Before you begin installing the fan, switch off the power at the service panel and lock the service disconnecting means to prevent accidental power activation. If locking is not possible, attach a warning device, such as a tag, to the service panel.
- Ensure that the outlet box is properly installed in the house structure before installing the fan. Mount the fan to an outlet box or supporting system that is acceptable for fan support and can bear at least 35 lbs of weight.
- Use a metal outlet box suitable for fan support and only use the screws provided with the outlet box. Make sure the outlet box is securely fastened to a structural ceiling member with at least two points of attachment. Loose installation can cause the fan to wobble.
- Remove the preassembled keeper pin and cross pin from the downrod and keep them for later use.
- Partially loosen the downrod set screws from the yoke at the top of the motor assembly.
- Place the downrod over the canopy, canopy bottom cap, and yoke cover. Optionally, use the yoke cover without the decorative pipe.
- Thread the lead wires and safety cable from the motor assembly through the downrod. Use a Phillips screwdriver as a guide to help insert the cross pin through the yoke and downrod.
- Slip the downrod into the motor housing yoke, aligning the holes, and install the cross pin and keeper pin. Make sure to securely install the cross pin and keeper pin as failure to do so can result in serious injury.
- Tighten the downrod set screws evenly on the motor housing yoke. Place the yoke cover on the motor assembly.
Note: For more detailed instructions and safety information, please refer to the owner’s guide and installation manual provided with the product.
Attach sales receipt to this card and retain as your proof of purchase
DATE OF PURCHASE:
MODEL NUMBER:
RETAILER NAME:
RETAILER ADDRESS:
To register your fixture, please visit our website www.montecarlofans.com
Cautions and Warnings
WARNING: TO REDUCE THE RISK OF FIRE, ELECTRIC SHOCK, OR INJURY TO PERSONS, OBSERVE THE FOLLOWING READ AND SAVE THESE INSTRUCTIONS
- Installation work and electrical wiring must be done by qualified person(s) in accordance with applicable codes and standards (ANSI/NFPA 70), including fire-rated construction.
- Use this unit only in the manner intended by the manufacturer. If you have any questions contact the manufacturer.
- After making the wire connections, the wires should be spread apart with the grounded conductor and the equipment-grounding conductor on one side of the outlet box and ungrounded conductor on the other side of the outlet box. The splices, after being made, should be turned upward and pushed carefully up into the outlet box.
- WARNING: Before you begin installing the fan, servicing or cleaning unit, Switch power off at Service panel and lock service disconnecting means to prevent power from being switched on accidentally. When the service disconnecting means cannot be locked, securely fasten a prominent warning device, such as a tag, to the service panel.
- Be cautious! Read all instructions and safety information before installing your new fan. Review the accompanying assembly diagrams. When cutting or drilling into wall or ceiling, do not damage electrical wiring and other hidden utilities.
- Make sure the installation site you choose allows the fan blades to rotate without any obstructions. Allow a minimum clearance of 7 feet from the floor to the trailing edge of the blade.
- WARNING: To Reduce The Risk Of Fire, Electric Shock, or Personal Injury, Mount To Outlet Box Marked “Acceptable for Fan Support of 15.9 kg (35 lbs) or less” And Use Mounting Screws Provided With The Outlet Box.
- WARNING: To reduce the risk of personal injury, do not bend blade holders during installation to motor, balancing or during cleaning. Do not insert foreign object between rotating blades.
- CAUTION: For Compliance with Local Codes and Regulations, If Installing The Secondary Support Safety Cable in the U.S., Do Not Remove Knockouts In The Outlet Box. Mount the secondary support safety cable through the reserved nail/screw hole on the outlet box to the building structure (or the ceiling joist).
- Attach the mounting bracket using only the hardware supplied with the outlet box.
- WARNING: To Reduce The Risk Of Electric Shock, This Fan Must Be Installed With a general use, isolating Wall Control/Switch. WARNING: To reduce the risk of fire or electric shock, this fan should only be used with fan speed control part no. Y1126O manufactured by Satellite Electronic (Zhongshan) Ltd.
- WARNING: To reduce the risk of fire or electric shock, do not use this fan with any other solid state fan speed control device, or variable speed control.
- If this unit is to be installed over a tub or shower, it must be marked as appropriate for the application.
- Never place a switch where it can be reached from a tub or shower.
- The combustion airflow needed for safe operation of fuel-burning equipment may be affected by this unit’s operation. Follow the heating equipment manufacturer’s guideline safety standards such as those published by the National Fire Protection
- Association (NFPA), and the American Society for Heating, Refrigeration and Air Conditioning Engineers (ASHRAE) and the local code authorities.
- CAUTION: To Reduce the Risk of Electric Shock, Disconnect the electrical supply circuit to the fan before installing the light kit. CAUTION: The light source is designed for this specific application and can overheat if serviced by untrained personnel. If any servicing is required, the product should be returned to an authorized service facility for examination or repair.
- All set screws must be checked, and re-tightened where necessary, before installation.
- Note: Suitable for use in damp locations. Install the fan under covered or enclosed patios or porches.
- Tools Required for Assembly (not included): Electrical Tape, Phillips Screwdriver, Pliers, Safety Glasses, Stepladder and Wire Strippers
Customer Service
800-969-3347
Customer Service Center
7400 Linder Ave.
Skokie, IL 60077
www.montecarlofans.com
INSTALLATION
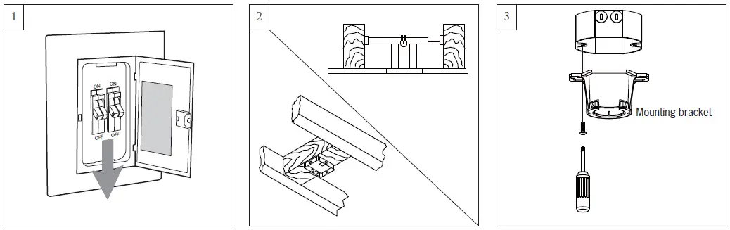
- Before you begin installing the fan, Switch power off at Service panel and lock service disconnecting means to prevent power from being switched on accidentally. When the service disconnecting means cannot be locked, securely fasten a warning device, such as a tag, to the service panel. Use AC 120V/60HZ power supply only.
- Before installing this fan make sure the outlet box is properly installed to the house structure. To reduce the risk of fire, electric shock, or personal injury, mount to outlet box or supporting system acceptable for fan support. (Mounting must support at least 35 lbs.)
- Use metal outlet box suitable for fan support and use only the screws provided with the outlet box (must support 35 lbs). Before attaching fan to outlet box, ensure the outlet box is securely fastened by at least two points to a structural ceiling member (a loose box will cause the fan to wobble). Remove the two outlet box screws provided with the box, aligning the holes of the mounting bracket with the holes of the outlet box. Reinstall the 2 outlet box screws securely.

- Remove preassembled keeper pin and cross pin from downrod. Keep parts.
- Partially loosen downrod set screws from yoke at top of motor assembly.
- Place downrod over canopy, canopy bottom cap and yoke cover.
An optional yoke cover without decorative pipe provided.
- Thread lead wires and safety cable from motor assembly through downrod.
- Helpful hint: For easy assembling of the cross pin on the next installation step. After slip downrod into the motor yoke, carefully insert a Phillips screwdriver through the yoke and downrod (don’t damage the lead wires) as a guide and then push the cross pin and pull the screwdriver in the meantime as shown in the illustration.
- Slip downrod into motor housing yoke, aligning holes and install cross pin and keeper pin. Insert cross pin through yoke and downrod until point appears on the other side, and insert keeper pin on cross pin.
Pull the downrod up tight against the cross pin, and then evenly tighten the downrod set screws on motor housing yoke. Place Yoke cover on motor assembly. Warning: Cross pin and keeper pin must be installed securely, failure to install them will result in serious injury.
- Place motor assembly on a suitable area of Styrofoam.
Align the holes on the blade and the screws holes on blade bracket. Install the blades with set screws provided. Tighten all screws securely. Do not over tighten. - Install ball end of downrod into mounting bracket opening. Align (engage) slot on ball with tab on mounting bracket. Warning: Failure to align slot on ball with tab may result in serious injury. Important: If using the angle mount, make sure open end of mounting bracket is installed facing the higher point of the ceiling and make sure the ceiling angle is not steeper
than 20º. Longer downrod may be necessary allowing the fan blades to rotate without obstructions. - Safety cable must be installed into the house structure using 3” lag screws, washers, and lock washers provided, required for outdoor applications and in Canada (All fans installed in Canada), and for USA fan and light kit combinations over 35lbs.
Make sure that when the safety cable is fully extended the lead wires are longer than the cable and no stress is placed on the lead wires.
Note: If Installing The Secondary Support Safety Cable in the U.S., Do Not Remove
Knockouts In The Outlet Box.
- Make wiring connections using wire connectors provided as indicated above.
Red from fan to Red from remote marked Motor 1.
Purple from fan to Purple from remote marked Motor 2.
Gray from fan to Gray from remote marked Motor 3.
Blue from fan to Blue from remote marked FOR LIGHT.
White from fan to White from remote marked FOR LIGHT.
White (Neutral) from house to White from remote marked AC IN N.
Black (Live) from house to Black from remote marked AC IN L.
Connect a grounding wire from receiver to a grounding wire from mounting bracket with quick connector.
Connect all other green grounded wires to Grounded wire from House.
Make sure that no filaments are outside of the wire connectors.
Insert the remote receiver into mounting bracket.
After making the wire connections, the wires should be spread apart with the grounded conductor and the equipment-grounding conductor on one side of the outlet box and ungrounded conductor on the other side of the outlet box. The splices after being made should be turned upward and pushed carefully up into the outlet box.
Align the U-shaped groove on the top edge of the canopy and place the wi-fi antenna outside the canopy, then stick/fix it onto the ceiling.
Caution: The installation has to be complete before operate the fan. Receiver has to be used on the fan and cannot be bypassed.
- Partially loosen one and remove one preassembled screw from mounting bracket. Save screw.
- Lift canopy up, aligning its keyhole slot with the preassembled screw on mounting bracket and twist counterclockwise to lock in place. Reinstall the screw removed in step 14 and tighten all screws securely.
Attach canopy bottom cap onto canopy by aligning its notch with the screws on mounting bracket and twist clockwise till tight.
Remote Controller Operation
Remove the battery cover from the remote control transmitter and install batteries. Replace the cover. This remote uses 2 1.5V/AAA batteries.
Note: If not using for long periods of time, remove the batteries to prevent damage to remote controller, and store the remote controller away from excess heat or humidity. The batteries will weaken with age and should be replaced before they leak or corrode as this will damage the controller. Dispose of the used batteries properly. Always keep batteries out of the reach of children.
Dimming, Non Dimming Setting (Only available for fans with light)
In the dimming mold, it is a light dimming selection and it is to be used with dimmable luminaries. The remote controller is set with dimming function at factory.
In ON/OFF (non-dimming mold), it is for light ON/OFF only (non-dimming function).
Universal Mode and Learning Mode
Your remote controller has two options: “Universal Mode” (mark “0”) and “Learning Mode” (mark “1”).
If choosing “Universal Mode,” simply move the switch to the LOWER position (mark “0”). Your fan with the remote controller is ready to use.
Note: If using Universal Mode, your fan can be controlled with other remote controllers with the same setting.
To control the fan with a specific remote controller, choose “Learning Mode” by moving the switch to the UPPER position (mark “1”) and then follow the Learn Mode steps below.
Learn Mode
Important: Turn the power on for ONLY the specific fan you wish to pair with the remote controller. Make sure to turn the power off for all other fans with which you use the same remote controller.
Restore power to your fan, press and hold the “SET” button to pair the transmitter and receiver. You must press the ‘SET” button within 60 seconds of restoring power to the fan.
Note: Fan will at first operates at minimum speed and light will blink (if your fan has a light) after you make Learn setting.
Note: If the power is already on, you must turn the power off and then back on for the remote control setting.
Note: If you set the remote control at learn mode and later want to change it back to universal mode, make the learn setting at universal mode is needed.
The remote control buttons control the fan speed as follows:
- minimum speed
- low speed
- medium low speed
- medium speed
- medium high speed
- high speed

This button turns the fan off.- Forward/Reverse button: This button is to control direction of fan rotation. Press once to change direction of the fan rotation. Fan must be running to reverse.
- Light button- Press this button to turn light on or off.
- Light button- Press this button to desired brightness, dim to bright.
- Light button- Press this button to desired brightness, bright to dim.
- Breeze:
Press the Breeze button, fan will operates randomly among minimum, low and medium low speed at intervals of 30 seconds until the breeze mold is canceled.
Breeze mode can be erased by pressing either the power or speed control buttons.
Note: This remote controller has auto resume function. The fan will maintain the last setting when turned back on, with the exception of Breeze mode.
Install Transmitter wall mount cradle with 2 screws provided.
Useful tips:
The remote transmitter can be removed by pressing it upward from the lower half.
The remote transmitter can be held on magnetic metal materials by a magnet built in the transmitter.
The receiver provides the following protective functions:
Lock protection: The DC motor has a build-in safety feature against blade obstruction during operation. If something obstructs the fan blades, the motor will stop operation after about 20 seconds of interruption. Please remove obstacles and reset it by turning the power off, and then turn power back on.
Over 40W protection: When the receiver detects motor power consumption which is greater than 40W, the fan RPM will automatically lower to prevent it from overloading.
User Tips
- If your fan is operating automatically after installation, it is still using the factory setting. Follow the settings for Learn Mode above to reset.
- If the fan or light isn’t working, reset power (turn the power off then turn the power back on) and follow the Universal Mode or Learn Mode remote control settings.
Note: Make learn setting either you change it from universal mode to learn mode or change it back to universal mode from learn mode. - If two or more fans in the same remote signal range are on the same power supply, they cannot be operated separately by remote contr ol. Use a separate power supply for each fan, such as an individual wall switch, and restrict the power supply to only the fan which you are pairing with its transmitter in order to use the remote controller.
- When the fan is turned on to oscillate in either forward or reverse direction, it may shudder briefly until fully engaged. This is a normal operation for this fan; the shuddering will quickly cease as movement is engaged.
THIS DEVICE COMPLIES WITH PART 15 OF THE FCC RULES OPERATION IS SUBJECT TO THE FOLLOWING TWO CONDITIONS. (1)THIS DEVICE MAY NOT CAUSE HARMFUL INTERFERENCE AND (2) THIS DEVICE MUST ACCEPT ANY INTERFERENCE RECEIVED, INCLUDING INTERFERENCE THAT MAY CAUSE UNDESIRED OPERATION.
Fan operation with Bond Home AP
Download the Bond Home app with your smart devices. The app is available on the Google Play Store and Apple Store.
Or get it from bond home link, http://bondhome.io/app
Create a new account following on-screen operating steps.
Make the fan (Smart by Bond wi-fi receiver) connection with wi-fi router. Within 60 seconds of restoring power to the fan, Press and hold the “Power” button of transmitter for 5 seconds until light blinks and fan runs at lowest speed for about 10 seconds. Your fan has now successfully learned the transmitter.
Note: If you haven’t made “learn” function setting for the fan remote yet. You may handle it via the bond app. On the fan operation UI, tap device setting “
or
” at upper right area following on-screen operating and select Manage Remotes.
Note: Check and make sure power on and Wi-Fi router is functional.
To add a new device. Press “+” and choose Smart by Bond, and following on-screen information and set up your fan (Wi-Fi receiver) with smart phone/device and Wi-Fi router.
Tap “Settings” on the bond app, select Schedules and following on-screen information to set up schedule. or Tap “
or
”at the upper right area and follow on-screen information to set up schedules.
Note: If “Bond Configuration” Wi-Fi network cannot be found, try pressing and holding the button of power on the remote transmitter for 10 seconds, the Wi-Fi network should re-appear.
Note: You may control fan from multiple smart phones or tablets by logging onto the same Bond Home account on all the smart phones/tablets.
Compatible with Amazon Alexa, Google Home and Samsung SmartThings
Tap “Settings” on the bond app, select Manage Integrations and you may find the Smart Cloud integrations.
Or you may download Alexa, Google Home, Samsung SmartThings app. You may need to sign up an account if you don’t have it yet. Sign in your Alexa/Google Home/Samsung SmartThings account.
- Login Amazon Alexa, Google Home or Samsung SmartThings app to enable the skill and discover the MC Fan with Smart by Bond wi-fi receiver.
- Come back to the Smart device with bond app and define the device/MC Fan.
Connect to Amazon Echo, Google Home or Samsung SmartThijngs to make your fan can be voice-activated, and available with UI (User interface) of Amazon Echo,
Google Home or Samsung SmartThings.
Initialize (Factory reset) the wi-fi receiver
If there are questions on the fan operation with bond app, following below steps to initialize the wi-fi receiver and redo bond app stetting.
Turn the fan power off, and then turn the power back. Within 30 seconds, press and hold the button of the first speed/1st on the transmitter for 15 seconds until light (if applicable) blinks. The fan will stop after the initialized procedure. The receiver has been initialized.
Wait for 10 seconds and redo bond app setting.
Initialization (Factory reseting) can also be performed via the app: Tap device setting “
or
” and then tap “
or
” at upper right corner to remove device, and then select “Wipe All Data”.
Troubleshooting
If you have difficulty operating your new ceiling fan, it may be the result of incorrect assembly, installation, or wiring. In some cases, these installation errors may be mistaken for defects. If you experience any faults, please check this Troubleshooting Chart. If a problem cannot be remedied, or you are experiencing difficulty in installation, please call our Customer Service Center at the number printed on your parts list insert sheet.
Warning: Before you begin installing, servicing or cleaning the fan unit, switch the power off at the service panel and lock the service panel to prevent the power from being switched back on accidentally. If the service panel cannot be locked to prevent the power from being switched on accidentally, securely fasten a warning sign to the corviro none


















