Mini Hi-Fi System
SIMPLE MANUAL
Mini Hi-Fi System
Please read this manual carefully before operating your set and retain it for future reference. To view the instructions of advanced features, visit http://www.lg.com and then download Owner’s Manual. Some of the content in this manual may differ from your unit.
MODEL CKM4
MFL70382787
CK43-FB.DUSAWLB_SIM_ENG_MFL70382787.indd 1
www.lg.com
Copyright © 2020 LG Electronics Inc. All Rights Reserved. 1807_Rev02
2020-01-17 10:48:14
FCC Compliance Statement
This equipment has been tested and found to comply with the limits for a Class B digital device, pursuant to Part 15 of the FCC Rules. These limits are designed to provide reasonable protection against harmful interference in a residential installation. This equipment generates, uses, and can radiate radio frequency energy and, if not installed and used in accordance with the instructions, may cause harmful interference to radio communications. However, there is no guarantee that interference will not occur in a particular installation. If this equipment does cause harmful interference to radio or television reception, which can be determined by turning the equipment off and on, the user is encouraged to try to correct the interference by one or more of the following measures:
- Reorient or relocate the receiving antenna.
- Increase the separation between the equipment and the receiver.
- Connect the equipment to an outlet on a circuit different from that to which the receiver is connected.
- Consult the dealer or an experienced radio/TV technician for help.
This device complies with part 15 of the FCC Rules. Operation is subject to the following two conditions:
- this device may not cause harmful interference and
- this device must accept any interference received, including interference that may cause undesired operation. Any changes or modifications in construction of this device which are not expressly approved by the party responsible for compliance could void the user’s authority to operate the equipment.
FCC RF Radiation Exposure Statement: This equipment complies with FCC radiation exposure limits set forth for an uncontrolled environment. This transmitter must not be co-located or operating in conjunction with any other antenna or transmitter. This equipment should be installed and operated with minimum distance 20 cm (7.8 inches) between the antenna and your body. Users must follow the specific operating instructions for satisfying RF exposure compliance.
Supplier’s Declaration of Conformity
Trade Name
LG
Responsible Party LG Electronics USA, Inc.
Address
1000 Sylvan Ave Englewood Cliffs, NJ 07632
Telephone
(201)266-2215
Front Panel

- USB 1 Port You can play sound files by connecting the USB device.
- Display window
- (Remote sensor)
- USB 2 Port You can play sound files by connecting the USB device.
- MASTER VOL. (Volume) Adjust speaker volume.
- BASS BLAST (or BASS BLAST+) Press to select BASS (or BASS+) effect directly.
USB REC / DEMO – Records to USB. – To stop Recording, press and hold for 3 seconds. – In power off status, if you press USB REC / DEMO, show DEMO mode.WIRELESS LINK – Selects MAIN or OTHER on WIRELESS PARTY LINK mode. – Enable or disable WIRELESS PARTY LINK mode. - F (Function) Selects the function and input source. V (Skip/Search) – Skips forward. – Searches for a section within a track/file. – Selects the radio stations. B (Open/Close) Opens and closes the disc tray.
- AUTO DJ Selects the AUTO DJ mode. N (Play/Pause) – Starts or pauses playback. – Selects stereo/mono.
- 1 (Standby) Turns the power on or off. C (Skip/Search) – Skips backward. – Searches for a section within a track/file. – Selects the radio stations. Z (Stop) Stops playback or cancels DELETE function.
- Disc tray
- SPECIAL EQ Chooses special equalizer. SEARCH Moves to folder or file in selection mode. OK Selects a folder when searching a file.
- EQUALIZER / SEARCH – Chooses sound impressions. – Searches a folder or a file.
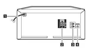
Rear Panel

- Power cord
- SPEAKERS terminals
- AUX IN (L/R) Connect an auxiliary device.
- ANTENNA (FM)
Speaker Connection

Controller App
Download the Music Flow Bluetooth App to your device. (Android only)
LG Sound Sync (Wireless)
For more information, download the online owner’s manual. http://www.lg.com
Additional Information
Specifications | |
| Power Requirements | Refer to the main label on the unit. |
| Power Consumption | Refer to the main label on the unit. |
| Dimensions (W x H x D) | Approx. 300 mm x 163 mm x 241 mm (Approx. 11.8 inch x 6.41 inch x 9.48 inch) |
| Bus Power Supply (USB) | 5 V 0 500 mA |
| Amplifier (Total RMS output power) | 300 W RMS |
| Design and specifications are subject to change without notice. | |
Replacement of battery

LG Customer Information Center
1-800-243-0000 USA, Consumer
1-888-865-3026 USA, Commercial
Register your product Online!
www.lg.com
Printed in China



















