BORMANN BSP1140 Outdoor Metal Table with Glass Surface

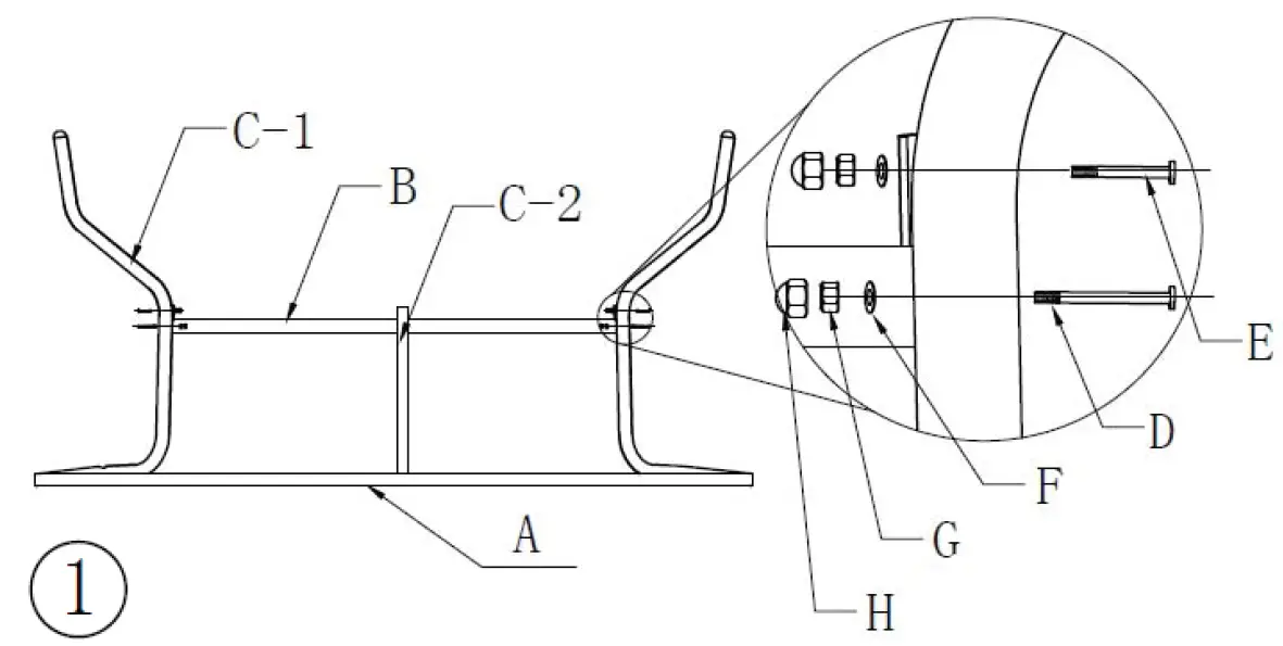
ASSEMBLY INSTRUCTIONS


PARTS LIST










Download manual
Here you can download full pdf version of manual, it may contain additional safety instructions, warranty information, FCC rules, etc.