ADJ IKON PROFILE PEARL 32W LED Gobo Projector

OVERVIEW
©2021 ADJ Products, LLC all rights reserved. Information, specifications, diagrams, images, and instructions herein are subject to change without notice. ADJ Products, LLC logo and identifying product names and numbers herein are trademarks of ADJ Products, LLC. Copyright protection claimed includes all forms and matters of copyrightable materials and information now allowed by statutory or judicial law or hereinafter granted. Product names used in this document may be trademarks or registered trademarks of their respective companies and are hereby acknowledged. All non-ADJ Products, LLC brands, and product names are trademarks or registered trademarks of their respective companies.
ADJ Products, LLC and all affiliated companies hereby disclaim any and all liabilities for property, equipment, building, and electrical damages, injuries to any persons, and direct or indirect economic loss associated with the use or reliance of any information contained within this document, and/or as a result of the improper, unsafe, insufficient and negligent assembly, installation, rigging, and operation of this product.
Europe Energy Saving Notice
Energy Saving Matters (EuP 2009/125/EC)
Saving electric energy is a key to help to protect the environment. Please turn off all electrical products when they are not in use. To avoid power consumption in idle mode, disconnect all electrical equipment from power when not in use. Thank you!
ADJ Products, LLC – www.adj.com – Ikon Profile / Ikon Profile Pearl User Manual Page 2
Introduction
To optimize the performance of this product, please read these operating instructions carefully to familiarize yourself with the basic operations of this unit. These instructions contain important safety information regarding the use and maintenance of this unit. Please keep this manual with the unit for future reference.
Unpacking: Thank you for purchasing the Ikon Profile by ADJ Products, LLC. Every Ikon Profile has been thoroughly tested and has been shipped in perfect operating condition. Carefully check the shipping carton for damage that may have occurred during shipping. If the carton appears to be damaged, carefully inspect your unit for any damage and be sure all equipment necessary to operate the system has arrived intact. In the event that damage has been found or parts are missing, please contact our toll-free customer support number for further instructions. Please do not return the unit to your dealer without first contacting customer support.
Customer Support: ADJ Products, LLC provides a toll-free customer support line, to provide set-up help and to answer any questions that might arise during your setup or initial operation. You may also visit us on the web at www.adj.com for any comments or suggestions. Service Hours are Monday through Friday 8:00 a.m. to 4:30 p.m. Pacific Standard Time.
Voice: (323) 582-2650
Fax: (323) 582-2941
E-mail: [email protected]
Warning! To prevent or reduce the risk of electrical shock or fire, do not expose this unit to rain or moisture.
Caution! This may cause eye damage. Avoid looking directly into the light source. Use sensible precaution.
Caution! There are no user-serviceable parts inside this unit. Do not attempt any repairs yourself, as doing so will void your manufacturer’s warranty. In the unlikely event your unit may require service please contact ADJ Products, LLC.
PLEASE do not discard the shipping carton in the trash. Please recycle whenever possible.
Warranty Registration:}
The Ikon Profile carries a two year (730 days) limited warranty. Please fill out the enclosed warranty card to validate your purchase. All returned service items, whether under warranty or not, must be freight pre-paid and accompanied by a return authorization (R.A.) number. If the unit is under warranty, you must provide a copy of your proof of purchase invoice. Please contact ADJ customer sup-port for an R.A. number.
Precautions:
Safety Issue: This unit may blow the fuse if the maximum allotted load of 2 amps is reached or exceeded. If the fuse needs replacement, please see the section of this manual for Fuse Replacement for directions.
- Be sure the local power outlet matches the required voltage of the unit.
- Disconnect from the main power before making any type of connection.
- Do not remove the cover for any reason. There are no user-serviceable parts inside.
- Always be sure to mount this unit in an area that will allow proper ventilation. Allow about 6” (15cm) between this device and a wall.
- To reduce the risk of electrical shock or fire, do not expose this unit to rain or moisture.
- This unit is intended for indoor use only. Use of this product outdoors voids all warranties.
- During long periods of non-use, disconnect the unit from power.
- Always mount this unit in safe and stable matter.
- Power Cord Protection – Power-supply cords should be routed so that they are not likely to be walked on or pinched by items placed upon or against them, paying particular attention to cords at plugs, convenience receptacles, and the point where they exit from the fixture.
- Do not attempt to remove or break off the ground prong from the electrical cord. This prong is used to reduce the risk of electrical shock and fire in case of an internal short.
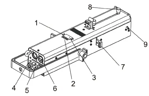
Fixture Layout:
LED:
| DMX | On | DMX input present |
| PRIMARY | On | Primary Mode |
| SECONDARY | On | Secondary Mode |
Button:
| MENU | Select the displayed function |
| UP | Scroll backward through the function list |
| DOWN | Scroll forward through the function list |
| ENTER | Confirm the selected function |
- Fuse (T 2A): Protects the unit from overcurrent damage.
- Display: Shows the various menus and selected functions.
- Power In/Out: Power cable input/output connections.
- DMX In/Out: 3-pin XLR connections for DMX-512 operation.
- Flags: Used to adjust the gobo framing.
- Knobs: Used to adjust the beam angle and focus the gobo.
- Spring: Locks the color gel frame into place.
System Menu:
On-Board System Menu. The Ikon Profile comes with an easy to navigate system menu. This next section will detail the functions of each command in the system menu. Please read the next section thoroughly!
To access the main menu press the MENU button. Press the UP or DOWN buttons until you reach the function you wish to change, then press the ENTER button. When a function is selected, use the UP or DOWN buttons to change the function settings. Once your changes are made, press the ENTER button, and then press and hold the MENU button for at least three seconds to confirm and lock the change into the system memory. If the MENU button is not pressed and held within eight seconds the fixture will automatically confirm and lock the change into the system memory. To exit without making any changes press the MENU button.
ADDR – DMX Address Setting.
- Press the MENU button until “ADDR” is displayed, and press ENTER.
- The current DMX address will now be displayed and flashing. Press the UP or DOWN buttons to find your desired address. Press ENTER to set your desired DMX address.
NOTE: If the unit does not go into DMX mode after you connect your DMX controller, press and hold the MENU button for at least 3 seconds.
SCND- This will let you set unit as a primary or secondary unit in a primary/secondary configuration.
- Press the MENU button until “SCND”is displayed, and press ENTER. “Prl” or “SEC” will be displayed.
- Press the UP or DOWN buttons until your desired setting is displayed, then press ENTER to con-fim and exit.
DNS – This mode defines the behavior of the device in the event that the DMX signal is lost, interrupted, or power is lost. It also determines the operating mode that the device will be in when power is first applied.
- Press the MENU button until “DNST” is displayed, and either “Pr Se”, “BLND”, or “LAST” will be displayed beneath.
- Press ENTER and one of the options will begin to flash. Use the UP or DOWN buttons to choose an operating mode.
Pr Se (Primary Secondary) – If the DMX signal is lost or power is applied, the unit will automatically go into Primary Secondary mode and run a built-in show.
BLND (Blackout) – If the DMX signal is lost or interrupted, the unit will automatically go into standby mode.
LAST – If the DMX signal is lost or interrupted, the fixture will stay in the last DMX setting. If power is applied and this mode is set, the unit will automatically go into the last DMX set up. - Press ENTER to confirm your desired setup.
DIND – This will let select your desired dimmer curve.
- Press the MENU button until “DIND” is displayed, and press ENTER. 1 of 5 dimmer curves will be displayed: “STDA” (standard), “STGE” (stage), “TV” (TV), “ARAL” (Architectural), or “THAL” (Theatre).
- Press the UP or DOWN buttons to find your desired dimmer curve and press ENTER to confirm and exit.
LED – With this function, the LED display will turn off after 2 minutes of inactivity.
- Press the MENU button until “LED” is displayed, and press ENTER.
The display will show either “ON” or “OFF”. Press the UP or DOWN buttons to select “ON” to keep the LED display on at all times, or “OFF” to allow the LED display to turn off after 2 minutes of inactivity. Press any button to turn on the LED display again. - Press ENTER to confirm and exit.
DISP – This function will flip the display 180º.
- Press the MENU button until “DISP” is displayed, and press ENTER.
- Press the UP button to select “DISP” to activate this function, or “DSIP” to deactivate this function.
- Press ENTER to confirm.
MANU – In this submenu you are able to test the dimmer and strobe
- Press the MENU button until “MANU” is displayed, and press ENTER.
- Use the UP and DOWN buttons to scroll through the various functions available for testing. Once you have found your desired function, press ENTER.
- Use the UP and DOWN buttons to adjust the values and test the function. To exit press the MENU button.
TEST – This function will run a self-test program.
- Press the MENU button until “TEST” is displayed, and press ENTER.
- The fixture will now run a self-test.
TEMP – With this function, you can check the temperature of the fixture
- Press the MENU button until “TEMP” is displayed, and press ENTER.
- The fixture temperature will now be displayed. Press MENU to exit.
FHRS – With this function, you can display the running time of the unit.
- Press the MENU button until “FHRS” is displayed, and press ENTER.
- The display shows the running time of the unit. Press MENU to exit.
VER – Use this function to display the Software version of the unit.
- Press the MENU button until “VER” is displayed, and press ENTER.
- The display will show the software version.
DMX Values & Traits
CAD Drawing
Gobo Replacement
The Ikon Profile gobo can be interchanged at any time, allowing you to customize your system.
To replace gobo:
- Gently slide the gobo housing out of the top of unit. The gobo housing is located in front of the top flag.
- Once the gobo housing has been removed, remove the retaining ring that holds the gobo in. This can easily be done using needle-nose pliers.
- Remove and replace the gobo with your desired replacement. Reinsert the retainer ring, and make sure the ring rests firmly against the gobo.
- Slide the gobo assembly back into place.
Adding a Color Gel
- Locate the color gel frame at the front of the unit. Slide the spring lever back and slide the gel frame out of the holder.
- Once the gel frame has been removed slide your desired color gel into the middle of the frame.
- Slide the spring back and slide the gel frame into place.

Installation
The unit should be mounted using a mounting clamp (not provided). The mounting clamp should be affixed to the mounting bracket that is provided with the unit. Always ensure that the unit is firmly fixed to avoid vibration and slipping while operating. Always ensure that the structure to which you are attaching the unit is secure and is able to support at least 10 times the unit’s weight. Also, al-ways use a safety cable that can hold 12 times the weight of the unit when installing the fixture. The equipment must be installed by a professional, and it must be installed in a place where it is out of the reach of people’s grasp.
Photometric Chart 
Gobos
ADJ UC IR Control
The UC IR (sold separately) infrared remote gives you control of various functions. To control the fixture you must aim the remote at the front of the fixture. The maximum range is 30 feet.
The Ikon Profile comes with the Airstream IR remote transmitter, which plugs into the headphone jack of your iOS phone or tablet. To control your IR fixture you must raise the volume to the maximum on your iOS phone or tablet, aim the transmitter at the front of the fixture, and be within the maximum range of 15 feet. After you have purchased the Airstream IR transmitter, the app is a free download from the app store for your iOS phone or tablet. The app comes with 3 pages of control depending on the IR fixture you are using. Please see below for IR functions including the corresponding app page.
Works with App
- STAND BY – Pressing this button will blackout the fixture.
- FULL ON – This button has no valid function for this fixture.
- STROBE – Press and hold this button to activate strobing.
- FADE/GOBO – This button has no valid function for this fixture.
- “DIMMER +” and “DIMMER -” – Use these buttons to adjust the output intensity. 1-9 – These buttons have no valid function for this fixture.
- SOUND ON & OFF – These buttons have no valid function for this fixture.
- SHOW – This button has no valid function for this fixture.
Power Cord Daisy Chain
With this feature, you can connect the fixtures to one another using the IEC input and output sockets.
The maximum number of fixtures that can be connected in this manner is as follows:
- 16 fixtures maximum @ 120V
- 27 fixtures maximum @ 230V
Once this number of fixtures has been reached, a new power outlet will need to be used in order to accommodate additional fixtures. All fixtures connected in this manner must be of the same make and model type. DO NOT mix fixtures.
TroubleShooting
No light output from the unit:
- Check that the fuse has not blown. The fuse is located on the rear panel of the fixture.
- Check that the 4 flags are open and not closed.
Fuse Replacement
First unplug the power. The fuse holder is located next to the I.E.C power cord output. Using a Phil-lips-head screwdriver, unscrew the fuse holder. Remove the bad fuse and replace with a new one.
Cleaning
Due to fog residue, smoke, and dust, cleaning of the internal and external optical lenses should be carried out periodically in order to optimize light output. Cleaning frequency depends on the environment in which the fixture operates (I.e. smoke, fog residue, dust, dew). In heavy club use, cleaning on a monthly basis is recommended. Periodic cleaning will ensure longevity and crisp output.
- Use normal glass cleaner and a soft cloth to wipe down the outside casing.
- Clean the external optics with a glass cleaner and a soft cloth every 20 days.
- Clean the internal optics with a glass cleaner and a soft cloth every 30-60 days.
- Always be sure to dry all parts completely before plugging the unit back in.
Warranty
- ADJ Products, LLC hereby warrants, to the original purchaser, ADJ Products, LLC products to be free of manufacturing defects in material and workmanship for a prescribed period from the date of purchase (see specific warranty period on reverse). This warranty shall be valid only if the product is purchased within the United States of America, including possessions and territories. It is the owner’s responsibility to establish the date and place of purchase by acceptable evidence, at the time service is sought.
For warranty service you must obtain a Return Authorization number (RA#) before sending back the product–please contact ADJ Products, LLC Service Department at 800-322-6337. Send the - product only to the ADJ Products, LLC factory. All shipping charges must be pre-paid. If the requested repairs or service (including parts replacement) are within the terms of this warranty, ADJ Products, LLC will pay return shipping charges only to a designated point within the United States. If the entire instrument is sent, it must be shipped in it’s original package. No accessories should be shipped with the product. If any accessories are shipped with the product, ADJ Products, LLC shall have no liability whatsoever for loss of or damage to any such accessories, nor for the safe return thereof.
- This warranty is void if the serial number has been altered or removed; if the product is modified in any manner which ADJ Products, LLC concludes, after inspection, affects the reliability of the product; if the product has been repaired or serviced by anyone other than the ADJ Products, LLC factory unless prior written authorization was issued to purchaser by ADJ Products, LLC; if the product is damaged because not properly maintained as set forth in the instruction manual.
- This is not a service contract, and this warranty does not include maintenance, cleaning or periodic check up. During the period specified above, ADJ Products, LLC will replace defective parts at its expense with new or refurbished parts and will absorb all expenses for warranty service and repair labor by reason of defects in material or workmanship. The sole responsibility of ADJ Products, LLC under this warranty shall be limited to the repair of the product, or replacement thereof, including parts, at the sole discretion of ADJ Products, LLC. All products covered by this warranty were manufactured after August 15, 2012, and bear identifying marks to that effect.
- ADJ Products, LLC reserves the right to make changes in design and/or improvements upon its products without any obligation to include these changes in any products theretofore manufactured.
No warranty, whether expressed or implied, is given or made with respect to any accessory supplied with products described above. Except to the extent prohibited by applicable law, all implied warranties made by ADJ Products, LLC in connection with this product, including warranties of merchantability or fitness, are limited in duration to the warranty period set forth above. And no warranties, whether expressed or implied, including warranties of merchantability or fitness, shall apply to this product after said period has expired. The consumer’s and/or Dealer’s sole remedy shall be such repair or replacement as is expressly provided above; and under no circumstances shall ADJ Products, LLC be liable for any loss or damage, direct or consequential, arising out of the use of, or inability to use, this product.
This warranty is the only written warranty applicable to ADJ Products, LLC Products and supersedes all prior warranties and written descriptions of warranty terms and conditions heretofore published.
MANUFACTURER’S LIMITED WARRANTY PERIODS:
- Lighting Products = 1-year (365 days) Limited Warranty (Such as: Special Effect Lighting, Intelligent Light-ing, UV lighting, Strobes, Fog Machines, Bubble Machines, Mirror Balls, Par Cans, Trussing, Lighting Stands etc. excluding LED and lamps)
- Laser Products = 1 Year (365 Days) Limited Warranty (excluding laser diodes which have a 6-month limited warranty)
- L.E.D. Products = 2-year (730 days) Limited Warranty (excluding motors, PCB boards, and power supplies, which have a 1-year (365-day Limited Warranty) batteries which have a 180-day limited warranty). Only the L. E.D.s carry a 2-year warranty (excluding StarTec Series which carries a 1 Year Limited Warranty)
ADJ DMX Controllers = 2 Year (730 Days) Limited Warranty (excluding faders and tact switches)
Specifications

Auto-Sensing Voltage: This fixture contains an automatic voltage switch, which will automatically sense the voltage when it is plugged into the power source.
Please Note: Specifications and improvements in the design of this unit and this manual are subject to change without any prior written notice
ADJ Products, LLC
6122 S. Eastern Ave. Los Angeles, CA 90040 USA Tel: 323-582-2650 / Fax: 323-725-6100
Web: www.adj.com
E-mail: [email protected]
A.D.J. Supply Europe B.V.
Junostraat 2
6468 EW Kerkrade
The Netherlands
service @adjgroup.eu
www.adj.eu
Tel: +31 45 546 85 00 / Fax: +31 45 546 85 99



















