Mini-Series Projector Cutter
User Manual
This manual applies to all models of the MINI series: MINI8, MINI9, MINI10
Standard Accessories
Appearance and function

- Power button: Turn on the device
- Blade holder: Cutting protector sheet film
- Storage box switch: store blade holders, blades
- Blade holder clamp: fixed blade holder
- Axis: Fix the protector sheet film
- LCD Screen
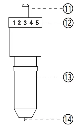
- Sensor: Auto feed sheet film
- USB port interface
- Power connector
- WIFI port

- Press the top to replace the blade.
- Blade adjustment: Rotate to adjust gear to control the length of the blade tip.
- Blade holder
- Blade tip: Adjust the exposure length accordingly to the material thickness. “+” direction means to lengthen blade tip; “-” direction means to shorten blade tip.
Instructions
- Power on
Connect the power supply with the adaptor and insert to the socket. Use a 100-240V AC power supply to make the device operate normally. Insert the other end of the adaptor port into the power interface. ()Press the power button to power on the cutter.
- Install the blade holder & blade

- Open the storage box ®Pull the paddle of the holder clamp, adjust the length of the blade tip, and put the blade holder inside (Gear 5 for the blade holder is recommended).
- Push back the paddle and fix the blade holder.
- Cover the storage box.
3, Place materials
- Prepare a sheet film to be cut, confirm that the protective film is flat and the film layer is complete without bending, folding or missing layers
- Place the sheet film in the area shown.
- The machine will automatically pick up the film paper.

Refer to the dotted line for the placement of the diaphragm Do not put your hands in the cutting area in case of harm![]()
4, WiFi Setting
Click [ Setting] on the homepage, enter the setting interface, click [WiFi Settings], connect to WiFi, enter the password, and wait for the machine to successfully connect to the WiFi network.

5, Start cutting Select the brand and model of the device to be cut on the homepage and click [Start Cutting) to start cutting.

6, Complete cutting The protective film will be pushed out when the cutting is finished.
Machine settings
- Language setting On the homepage, click [ °Setting) to enter the setting interface, and click [Language Setting] to switch.

- Blade force/Speed/Automatic CiOn the home page, click [in Setting) to enter the setting interface, click [Force/Speed/Sensor), please adjust according to actual usage. If the sensing function is not needed, turn it off automatically.


- Firmware system upgrade
Tap [ASetting] – [ System information] on the homepage to update the firmware version. The password is 1212.
Tap [aSetting] – [Restart] on the home page to restart cutter for data updating.
- Self-help add cutting counting ()Tap [ASetting] – [Increment cutting amount] on the home page, and input specific code to increase the cut amount.

Bluetooth APP Control System
- APP download link please check with seller.
1. Power on the cutter
2. Run the mobile phone APP application, confirm that the mobile phone’s Bluetooth is turned on, find the Bluetooth name of the machine on the page, and then click it. Enter the pairing code to connect to Bluetooth, and then wait for the machine to successfully connect to Bluetooth.
- Sensor
<DTap [ 40 Setting] – [force/ speed/sensor] on the home page, and ativate the option [sensor] .
- Child lock ()Choose the options [ 0 Child Lock) ,After clicking [Blade/Speed/Automatic) , act ivative the Child lock function OChoose any model and hold on the button “send” 3 seconds for sending to cut

- Mirror function
OChoose the options [Mirror cutting] ,After clicking [Blade/Speed/Automatic] , activative the Mirror cutting function.
- Language settig ()Tap Its Setting ] – [Language] on the home page, and choose the correct Language for cutter.

- Blade force/Speed/Automatic ®On the home page, click [CF Setting) to enter the setting interface, click [Force/Speed/automatic], and please adjust according to actual usage. Sleep 2, Force 3. If the sensing function is not needed, turn off automatic

- Firmware system upgrade
OTap [ to Setting) – [System information) on the homepage to update the firmware version. The password is 1212.
(Nap [ Q Setting) – [Restart) on the home page to restart cutter for data updating.
- Self-help add cutting counting ®Tap [Increment cutting amount) on the home page, and input specific code to increase the cut amount or scan the QR code.

FCC Statement
This equipment has been tested and found to comply with the limits for a Class B digital device, pursuant to Part 15 of the FCC Rules. These limits are designed to provide reasonable protection against harmful interference in a residential installation. This equipment generates uses and can radiate radio frequency energy and, if not installed and used in accordance with the instructions, may cause harmful interference to radio communications. However, there is no guarantee that interference will not occur in a particular installation. If this equipment does cause harmful interference to radio or television reception, which can be determined by turning the equipment off and on, the user is encouraged to try to correct the interference by one or more of the following measures
- Reorient or relocate the receiving antenna.
- Increase the separation between the equipment and receiver.
- Connect the equipment into an outlet on a circuit different from that to which the receiver is connected.
- Consult the dealer or an experienced radio/TV technician for help.
Changes or modifications not expressly approved by the party responsible for compliance could void the user’s authority to operate the equipment.
FCC Radiation Exposure Statement
The antennas used for this transmitter must be installed to provide a separation distance of at least 20 cm from all persons and must not be co-located for operating in conjunction with any other antenna or transmitter.
Specification
| Model | Mini 8 |
| Max. media width | 205mm |
| Max. cutting width | 195mm |
| Cutting precision | 0.1mm |
| Repeat precision | 0.1mm |
| Max. straight-line cutting speed | 250mm/s |
| Max. curve cutting speed | 200mm/s |
| Max. force | 1000g |
| Connector interface | Wifi 2.4G |
| Input | 110V-240V |
| Power | <100W |
| Working environment | +5°C — +35°C |
| Packing size | 525*315•220mm |
| Packing gross weight | 5.4kg |
| Net weight | 4.4kg |
Safety information
| Never touch the tip of the blade with your fingers. This will hurt your fingers and passivate the blade. | |
| Never use the cutter when thunderstorms to avoid any damage. | |
| Fluids or metal objects falling into the cutter may cause fire disaster. | |
| Don’t damage or replace the original supply power randomly, never make the power cable excessive bending forced to pul and bundled or under a heavy object, which may damage the power supply and lead electric shock or fire disaster. |
Warranty card
| Model NO | Mid | ||
| Product NO | |||
| Name | Address | ||
| Zipcode | Phone | ||
| Date | Invoice | ||
| Agent | |||
| Date | |||
Warranty description
| Date | Condition | Processed | Receiver | Repair |
Warranty notice
This warranty card is requested to be kept by the user for a maintenance certificate.
The warranty period is valid for one year from the date of invoice.
The warranty equipment must be non-artificially damaged and not repaired by personnel not authorized by the company.

































