ASR 25 L SC/ASR 50 L SC/ASR 50 M SC
Original instructions

![]()
ASR 25 L SC All-Purpose Vacuum Cleaner

| ASR 25 L SC | ASR 50 L SC | ASR 50 M SC | ||
| Serial Number *1) | – | 02024.. | 02034.. | 02045.. |
| K | – | L | L | M |
| LxBxH | mm | 457 x 400 x 535 | 580 x 470 x 640 | 580 x 470 x 640 |
| U | V | 220-240 | 220-240 | 220-240 |
| F | Hz | 50/60 | 50/60 | 50/60 |
| I | A | 6,0 | 6,0 | 6,0 |
| N | – | HO5RR-F 3×1,5 | HO5RR-F 3×1,5 | HO5RN-F 3×1,5 |
| P1 | W | 1400 | 1400 | 1400 |
| Pui/Pu2 | bar (hPa) | 235 / 270 | 235 / 270 | 235 / 270 |
| Viis1Nvs2 | Vs | 42 / 73 | 42 / 73 | 42 / 73 |
| Dmax/Dmax2 | m3/h | 151 / 262 | 151 / 262 | 151 / 262 |
| V | I | 25 | 25 | 25 |
| m | kg (Ibs) | 11,0 (24.3) | 11,0 (24.3) | 11,0 (24.3) |
| LpA | dB (A) | 69 | 69 | 69 |
| LAW | dB (A) | – | – | – |
| EU | UK | UK | AUS | CH | DK | ||
| 230 | 230 | 110 | 240 | 230 | 230 | ||
| 1400 | 1400 | 1400 | 1400 | 1400 | 1400 | ||
| 2280 | 1590 | 360 | 1000 | 900 | 1590 | ||
| 3680 | 2990 | 1760 | 2400 | 2300 | 2990 | ||
| 16 | 13 | 16 | 10 | 10 | 13 | ||
![]()
*2) 2014/30/EU, 2006/42/EC, 201/65/EU
*3) EN 6035-1: 2012+A11: 2014, EN 60335-2-69: 2012, EN 50581: 2012
2017-11-10, Bernd Fleischmann![]()
Direktor Produktentstehung & Qualität (Vice President Product Engineering & Quality)
*4) Metabowerke GmbH – Metabo-Allee 1 – 72622 Nuertingen, Germany
| (25 l) (5x) (50 l) (5x) | 6.31 935 6.31 936 | ø 35 mm 300 mm | 6.30 322 | ||
| (5x) | 6.30 343 | ø 35 mm | 6.30 244 | ||
| (5x) | 6.30 325 | ø 35 mm | 6.30 245 | ||
| (6.31 933) 6.31 934 | ø 35 mm | 6.30 323 | |||
| 344 101 280 | ø 35 mm | ||||
| 6.30 313 | 6.30 246 | ||||
| ø 35 mm 3,5 m | 6.31 362 | ø 35 mm | 6.30 324 | ||
| ø 35/35 mm | 6.30 898 | ø 35 mm 370 mm | 6. 30321 | ||
| ø 35 mm 0,4 m | 6.31 363 | 6.30 328 | |||
| ø 35 mm | 6.30 317 | ø 35 mm 270 mm | 6.31 944 | ||
| ø 35 mm 120 mm | 6.30 320 | ø 27 mm 3,5 m | 6.31 938 | ||
| ø 35 mm | 6.30 317 | ø 27 mm 3,5 m | 6.31 939 | ||
| 450 mm | 6.30 320 | ø 35/58 mm | 6.30 316 | ||
| 6.31 934 | 6.31 940 | ø 19 mm 5 m | 6.31 592 |
Declaration of Conformity
On our own responsibility, we hereby declare that these dust extractors, identified by type and serial number *1), meet all relevant requirements of directives *2) and standards *3). Technical documents for *4) – see Page 3.
Specified Use
ASR 25 L SC, ASR 50 L SC:
The vacuum cleaner is suitable for the vacuuming of dust, solid materials (broken glass, nails, etc.), and liquids of any kind with the exception of highly inflammable, combustible liquids and material that is hotter than 60 °C.
The vacuum cleaner is suited for the separation of dry, non-flammable dust, non-flammable liquids, wood dust, and dangerous dust with workplace limit values > 1 mg/m³.
ASR 50 M SC:
The vacuum cleaner is suitable for extracting harmful dust in dust class M. As per EN 603352-69.
The vacuum cleaner is suited for the separation of dry, non-flammable dust, non-flammable liquids, wood dust, and dangerous dust with workplace limit values ≥ 0.1 mg/m³. For occupational exposure limits and carcinogenic materials, see the list of occupational exposure limits or contact your local professional and accident prevention associations for information.
The results of the dust test only refer to the extraction or vacuuming of dry dust.
The vacuum cleaner is suitable for use as: a) Industrial vacuum cleaner (IS) for vacuuming deposited dust. b) Dust extractor (ENT) for extracting airborne dust from material processing machines. The vacuum cleaner is suitable for the demanding requirements of industrial and commercial applications e.g. in the areas of craft and trade, installation work, construction, industry, workshops, painting and plastering, joinery, and woodworking. As per EN 60335-2-69.
The vacuum cleaner is suitable for the vacuuming of dust, solid materials (broken glass, nails, etc.), and liquids of any kind with the exception of highly inflammable, combustible liquids and material that is hotter than 60 °C.
ASR 25 L SC, ASR 50 L SC, ASR 50 M SC:
This device is not designed for use by persons (including children) with physical, sensory, or mental disabilities, or with insufficient experience and/or knowledge, unless they are supervised by a person responsible for their safety, or have received instructions on how to use the device by this person.
Pay attention to the country-specific regulations, as well as the specifications of the material producer.
This product is designed for industrial use.
Dust containing asbestos must not be vacuumed.
Inflammable dust must not be vacuumed.
No inflammable or explosive solvents, material saturated with solvent, dust that represents an explosion hazard, liquids such as petrol, oil, alcohol, thinner or material that is hotter than 60 °C are allowed to be vacuumed. This would cause an explosion and fire hazard! You are not allowed to use the appliance in the vicinity of inflammable gases or substances.
The user bears sole responsibility for any damage caused by improper use.
Generally accepted accident prevention regulations and the enclosed safety information must be observed.
General safety instructions
Before using the machine, carefully read through and familiarise yourself with all the enclosed safety information and the Operating Instructions. Keep all enclosed documentation for future reference, and ensure that you only pass on your device together with this documentation.
Before using the appliance, the user must receive information, instructions, and training material on using the appliance and the materials for which it is to be used (including details on safe disposal of the extracted material).
Special Safety Instructions
For your own protection and for the protection of your vacuum cleaner, pay attention to all parts of the text that are marked with this symbol!
Never allow children to use the machine.
Children should be supervised to ensure that they do not play with the device.
Caution! Only use accessories that are included with the appliance or specified Operating Instructions. The use of other accessories may impair safety.
You must not perform any work other than that described here.
In the event of misuse, improper operation or unprofessional repair work no liability shall be assumed by us for any damage incurred.
When the appliance is not in use, leave the hose on the appliance to prevent dust from accidentally escaping. In the case of ASR 50 L SC, ASR 50 M SC seals the suction opening (13) with a sealing plug (12) and joins the hose ends to prevent dust from escaping. Do not operate appliances or accessories under the following conditions:
- If the appliance has recognizable damage (cracks/breaks),
- If the mains connection lead is defective or shows signs of cracking or aging,
- If there is a suspected non-visible defect (after a fall).
Do not point the nozzle, hose, or tube at people or animals.
WARNING – If any foam or water egresses, switch off immediately. Empty the container and, if need be, the pleated filter. Never sit or stand on the appliance.
Always set up the connection lead and hose so there is no danger of tripping.
Do not pull the connection lead over any sharp edges and do not kink or pinch it.
If the connection lead of the appliance is damaged, it must be replaced by a special connection lead. See the chapter on Repairs.
Always connect to a socket with protective contact.
Do not use any damaged extension leads.
Never insert or remove the mains plug with wet hands.
Only pull on the mains plug, not on the lead.
WARNING – The plug socket on the appliance must be used only for the purposes defined in the Operating Instructions.
Do not leave the appliance unattended. If there is a long work interruption, disconnect the mains plug. The vacuum cleaner must not be used or stored outside in wet conditions.
IMPORTANT – This machine must only be stored indoors.
Acids, acetone, and solvents can corrode the appliance components.
Prior to any servicing work, clean the appliance. Switch off the appliance after each use and pull out the mains plug.
Steam cleaners and high-pressure cleaners must not be used to clean the vacuum cleaner.
The inside of the cover must always be kept dry.
Mold contamination can result if the appliance is not cleaned for an extended period, especially if used in areas where foodstuffs are processed: Always clean and disinfect the vacuum cleaner immediately after use.
Never open the appliance outdoors during rain or storms.
The appliance must not be operated in areas with an explosion hazard.
Ensure that the vacuum cleaner is steady.
If the extracted air is discharged into the room, ensure there is an adequate air change rate (L) in the room. Observe the regulations that apply in your country.
Caution! This appliance contains dust that is harmful to health. Discharge and maintenance operations (including disposal of the dust collection containers) must only be carried out by qualified specialists wearing appropriate protective clothing and equipment.
Warning – general danger!
Caution! Do not use the appliance until you have read the Operating Instructions.
WARNING – Operating personnel must receive adequate instruction in the use of this vacuum cleaner and in the materials for which it is used.
Special safety instructions for ASR 50 M SC:
Warning sign for machines with dust class M:

During discharge and maintenance operations, note the following:
Clean the appliance before opening it. Wear a dust mask. Avoid covering third parties with dust. Provide local filtered forced ventilation. Then clean the maintenance area.
Do not operate the appliance without the complete filtration system. (The system comprises filter cassettes and PE filter bags).
According to tests carried out as per EN 60335 sections 1 and 69, the appliance also meets electrical safety requirements relating to the extraction of a water-air mixture.
Special safety instructions for ASR 25 L SC, and ASR 50 L SC:
A warning sign for machines with dust class L:

While the appliance is suitable for extracting substances that pose a slight threat to health, it is not appropriate for reducing wood dust in inhaled air.
Dust from materials such as paint containing lead, some wood species, minerals, and metal may be harmful. Contact with or inhalation of the dust may cause allergic reactions and/or respiratory diseases to the operator or bystanders. Certain kinds of dust are classified as carcinogenic, such as oak and beech dust, especially in conjunction with additives for wood conditioning (chromate, wood preservative).
Overview
See page 3.
| 1 Rotary switch On/Off/Automatic/SelfClean (SC) 2 Volume flow control display 3 Plug socket for power tool 4 Rotary switch for selecting the extraction hose diameter * 5 PE filter bag * 6 Fleece filter bag * 7 Paper filter bag * 8 Upper part 9 Snap-lock | 10 Container 11 Cable holder 12 Sealing plug (for ASR 50 L SC, ASR 50 M SC only)* 13 Suction opening 14 Locking bar (for opening the hood to change filter cassettes) 15 Locking knob 16 Motor protection filter 17 Filter cassette (according to IFA C) |
* depending on equipment/not included in the scope of delivery
Initial Operation
Before plugging in the device, check that the rated mains voltage and mains frequency, as specified on the rating label, match your power supply.
6.1 Securing the sealing plug (for
ASR 50 L SC, ASR 50 M SC only)
Fit the chain of the sealing plug (12) in the bore of the suction opening (13).
6.2 Fitting wheels (if necessary)
Insert the axles of the guide rollers in the holes in the container until they engage.
Fit the large wheels as shown:

6.3 Inserting a Paper Filter Bag or Fleece Filter Bag
Paper filter bags (7) are not suitable for wet vacuuming.
We recommend using paper and fleece filter bags for:
- Applications, where small amounts of fine dust are created (e.g. spot-grinding and grinding of paint and lacquer coatings, extraction of drilling applications with small diameters < 10 mm of short duration, etc.).
- Use of machines, such as: routers, planers, small grinding machines, etc.
When using a fleece/paper filter bag the filter cleaning is non-functional.
Switch off the appliance, remove the mains plug and open the snap locks (9). Remove the upper part (8) from the container (10).

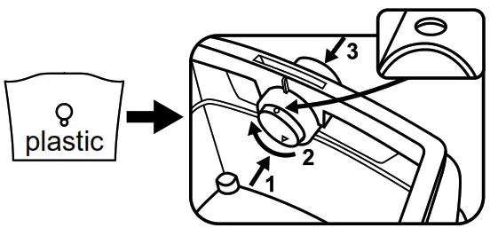
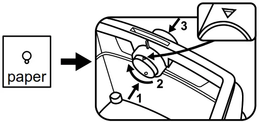
ASR 50 M SC: On the inside of the suction opening, push the red rotary slide with its “triangle” marking upwards. (To twist the slide, push it slightly towards the suction hose, and pull it back after twisting).
paper Holding the new paper filter bag/fleece filter bag by the flange, slide the bottom part over the suction connection, and the top part over the latch pin. Replace the upper part of the appliance on the container, and close the snap locks.
6.4 Inserting PE filter bag (for ASR 50 M SC only)
PE filter bags (5) are suitable for both wet and dry vacuuming.
We recommend the use of PE-disposal bags for:
- Applications, where larger amounts of dust are created (e.g. removal of plaster surfaces, spot grinding and grinding of screeds, etc.).
- Use of machines, such as e.g.: renovation milling machines, renovation grinders, drywall grinders, wall grinders etc.
When using a PE disposal bag, the filter cleaning must be switched on (function AR / IR) for corresponding materials (see recommendation).
Switch off the appliance, remove the mains plug and open the snap locks (9). Remove the upper part (8) from the container (10).
On the inside of the suction opening, push the red rotary slide with its “circle” marking upwards. (To twist the slide, push it slightly towards the suction hose, and pull it back after twisting).
Hold the PE filter bag (5) on the flange and, with its opening, guide it first over the latch at the bottom part of the suction opening, then fit up to the stop on the suction opening.
Spread out the PE filter bag (5) evenly across the container floor. Arrange the edges of the PE filter bag around the container rim so that the bag is firmly clamped on all sides by the upper part (5), once replaced.
The Appliance
7.1 Switching On/Off, Automatic, vibrator Select operating mode at the switch (1):
0= Vacuum cleaner off
I = Vacuum cleaner on (manual operation)
A=Automatic On/Off switch:
The vacuum cleaner is switched on or off by means of a power tool connected to the mains socket (3).
R A= Automatic On/Off switch and Automatic vibrator switch
- If switch (1) is turned to position R A, the electromagnetic vibrator switches on. Dust is then shaken off the filter. The vibrator switches off automatically after approx. 10 s.
- In switch position R A, the vacuum cleaner is switched on or off by means of a power tool connected to the main socket (3).
- In switch position R A, the electronic system checks the airflow during work. If the flow is too low due to a contaminated filter, the “Filter control” lamp lights up (2). During the next work break of the connected power tool, the electronics system switches the vibrator off for approx. 10 s.
ASR 50 M SC: - If an average air flow rate of 20 m/s in the hose system with a diameter of 35 mm is undershot, the volume flow control display (2) flashes to indicate that the paper filter bag has to be changed or the vibrator has to be actuated.
7.2 Power socket (3)
The power socket (3) is designed for connection to a power tool only.
The total maximum permissible current consumption (of the vacuum cleaner and connected unit) must not exceed the value Imax (see table, page 2).
Caution! Ensure that the power tool is switched off when plugging it in. Regardless of the switch position, the plug socket is always live when the mains plug is plugged in. If the switch is (1) in the “0” position, you can use the plug socket as an extension lead (e.g. for a light fitting).
If switch (1) is in the “RA” position, the vacuum cleaner is switched on or off by means of a power tool connected to the main socket (3).
7.3 Volume flow control display
The volume flow control display lights up when the container is full and/or if the suction hose is blocked. (2). In the case of ASR 50 M SC, an acoustic signal is also issued.
7.4 Rotary switch for setting the suction hose diameter (ASR 50 M SC only)
Adjust the rotary switch (4) to the hose diameter of the suction hose fitted.
The volume flow is being monitored if the switch (1) is at the “RA” or “I” position.
If the volume flow falls below a set value, the filter cassettes (17) are automatically vibrated (without any reduction in suction power). If the value remains too low, the volume flow control display lights up and, in switch position “RA” an acoustic signal is also sounded to indicate that the container must be emptied, or that the paper filter bag (7) / fleece filter bag (6) or the PE filter bag (5) must be replaced.
dia. 35 mm => 70 m³/h
dia. 27 mm => 41 m³/h
dia. 19 mm => 20 m³/h
Note: If the suction hose diameter is 19 mm or less, and if the flow conditions in the suction hose are unfavorable, the volume flow control display (2) may occasionally light up and the acoustic signal may sound, even though the paper filter bag/fleece filter bag does not yet need to be emptied. In this case, lay out the hose straight and clean it.
Note: If you need to turn the rotary switch to a lower value because of a machine generating dust (e.g. small diameter of the suction canal in the machine generating dust, compared to large suction hose diameter) (4), there is no guarantee that dust will be conveyed adequately in the suction hose. The suction hose must be removed from the machine generating dust after every operating sequence, so it can be vacuumed clear.
Use
8.1 Dry Vacuuming
Vacuum using a dry filter, dry appliance and dry accessories only. If the cartridge is damp, dust may stick and form a crust.
Always use filter cassettes when using paper filter bags (7), fleece filter bags (6) or PE filter bags (5) (17).
8.2 Wet-vacuuming
Never operate the machine without inserting a filter cassette first (17) The machine may be destroyed and water may also escape.
Vacuum without a paper filter (7) bag. You can use either fleece filter bags (6) or PE filter bags (5). The filter cartridges (17) are suitable for wet vacuuming. Before carrying out any wet vacuuming, remove the dry vacuumed material. This process will prevent severe soiling and encrustation.
The integrated water sensor switches off the motor when the container is full. Empty the appliance. If the appliance is not switched off, the restart protection device remains effective. The appliance is not operable again until it has been switched off and switched back on again.
After switching off, some water may run back out of the hose.
Before emptying, first of all, take the suction hose out of the liquid.
If you are then going to dry vacuum, insert a dry filter. If there is frequent switching between dry and wet vacuuming, we recommend the use of a second (replacement) filter. Allow the filter, container, and accessories to dry: otherwise, dust may adhere to damp components.
8.3 Special instructions for ASR 50 SC Use as an industrial vacuum cleaner (IS):
Turn switch (1) to the “RA” position.
Adjust the rotary switch (4) to a diameter of 35 mm. If the volume flow falls below the set value, the volume flow control display lights up to indicate that the container must be emptied, or that the paper filter bag (7) /fleece filter bag (6) or the PE filter bag (7) must be replaced.
Use as a dust extractor (ENT):
The dust extractor must not be connected to more than one dust source. Turn switch (1) to the “RA” position. Adjust the rotary switch (4) to the hose diameter of the suction hose fitted. For more detailed information, see section 7.4.
Connect the power tool (deactivated) to the plug socket (3). See section 7.2.
8.4 Transport
In the case of the ASR 25 L SC / ASR 50 L SC, leave the hose on the appliance to prevent dust from accidentally escaping.
In the case of ASR 50 L SC, and ASR 50 M SC, seal the suction opening (13) with a sealing plug (12) and join the hose ends to prevent dust from escaping.
Wrap the suction hose with the vacuum cleaner.
Place the accessories in a suitable plastic bag and seal the bag. Suspend the mains connection lead on the cable holder (11).
The upper part (8) must be securely sealed to the container (10) – check that the snap locks (9) are closed.
Cleaning
9.1 General Cleaning Instructions
Clean the container and accessories with water. Wipe the upper part (8) with a damp cloth.
Caution! This appliance contains dust that is harmful to health. Discharge and maintenance operations (including disposal of the dust collection containers) must only be carried out by qualified specialists wearing appropriate protective clothing and equipment.
Emptying the Container
Only permitted for dust with occupational exposure limits > 1 mg/m³
- Unplug the mains cable.
- ASR 50 L SC, ASR 50 M SC: remove the suction hose, and seal the suction opening (13) with a sealing plug (12).
- Open the snap locks (9). Remove the upper par(8) from the container (10).
- Tip out the container.
Dispose of the paper filter bag/fleece filter bag.
- Unplug the mains cable.
- Pull on the mask.
- ASR 50 L SC, ASR 50 M SC: remove the suction hose, and seal the suction opening (13) with a sealing plug (12).
- Open the snap locks (9). Remove the upper part (8) from the container (10).
- Carefully pull back and remove the paper filter bag (7)/fleece filter bag (6) from the suction opening (13). Seal the flange of the paper filter bag/fleece filter bag by folding it over the cover.
- Dispose of the vacuumed material in accordance with legal regulations.
Disposing of the PE Filter Bag
- Insert mains plug.
- Switch on the vacuum cleaner and vibrate the filters: turn switch (1) to the “RA” position.
- Switch off the vacuum cleaner: turn the switch (1) to the “0” position.
- Pull on the mask.
- ASR 50 L SC, ASR 50 M SC: remove the suction hose, and seal the suction opening (13) with a sealing plug (12).
- Open the snap locks (9). Remove the upper part (8) from the container (10). Before setting down the upper part, turn switch (1) to the “I” position so that any falling dust is vacuumed. – Carefully pull back the PE filter bag (5) from the suction opening (13). Seal the flange of the PE filter bag by folding it over the cover.
- Dispose of the vacuumed material in accordance with legal regulations.
9.2 Special cleaning instructions for ASR 50 M SC
In the case of class M machines, the outside of the machine should be cleaned (vacuumed and wiped down), or treated with sealants before being removed from the hazardous area. All machine parts must be considered to be contaminated when removed from the hazardous area: suitable measures must be taken to prevent any dispersal of the dust. When carrying out maintenance or repairs, it is essential to dispose of any contaminated objects that cannot be adequately cleaned. These objects must be disposed of using impermeable bags and in accordance with the applicable regulations for removing such waste.
Maintenance
10.1 General Instructions
Before performing any maintenance, always switch off the machine and remove the main plug.
Clean the appliance (see section9.).
For maintenance by the user, the vacuum cleaner must be taken apart, cleaned, and maintained, to the extent possible, without endangering maintenance staff or other people.
Preventive Measures
Appropriate preventive measures include: cleaning the appliance before disassembly; providing local filtered forced ventilation where the vacuum cleaner is disassembled; cleaning the maintenance area and providing suitable personal protective clothing and equipment.
10.2 Reduction in suction power
If the suction power decreases, carry out the following steps:
- Clean the filter cassettes by activating the electromagnetic vibrator (set switch (1) to the “RA” position).
- Empty the container or replace the paper filter bag (7)/fleece filter bag (6) or PE filter bag (5).
- Replace the filter cassettes (17), or rinse them under running water, dry them and then replace them.
10.3 Renew the filter cartridges (17)
Shake the filter cassettes (17) once again before replacing the filters by switching on the electromagnetic vibrator (set switch (1) to the “RA” position).
Use a coin or a similar object to turn the locking knob (15) on the locking bar (14) counter-clockwise through 90° and push the bar (14) to the rear. Swing up the hood and pull up the filter cartridges (17) to remove them. Seal the removed filter cassettes immediately in a dust-tight plastic bag and dispose of them in accordance with regulations. Insert new filter cartridges, ensuring they are correctly and securely in place.
10.4 Motor protection filter
Regularly check the motor protection filter. If the motor protection filter (16) is contaminated, this indicates that the filter cassettes (17) may be defective:
- Replace the filter cartridges (17)
- Replace the motor protection filter (16), or rinse it under running water, dry it and then replace it.
10.5 Water sensor

IMPORTANT – Clean the water sensor regularly and check it for signs of damage.
10.6 Technical inspection
At least once a year, the manufacturer or a suitably qualified and trained person must carry out a dust test, e.g. to check for damage to the filter, and verify that the appliance is air-tight and that the control unit is functioning correctly.
For maintenance by the user, the vacuum cleaner must be taken apart, cleaned, and maintained, to the extent possible, without endangering maintenance staff or other people. Preventive Measures
Appropriate preventive measures include: cleaning the appliance before disassembly; providing local filtered forced ventilation where the vacuum cleaner is disassembled; cleaning the maintenance area and providing suitable personal protective clothing and equipment.
When carrying out maintenance or repairs, it is essential to dispose of any contaminated objects that cannot be adequately cleaned. These objects must be disposed of using impermeable bags and in accordance with the applicable regulations for removing such waste.
Troubleshooting
If the volume flow control display (2) lights up or if an acoustic signal is sounded (ASR 50 M SC only), this indicates that the paper filter bag/fleece filter bag must be emptied. Reduction in suction power:
See the instructions in the section on Cleaning.
- Filter cassettes (17) soiled? Clean the cassettes.
- Paper filter bag (7)/fleece filter bag (6) full? Replace the filter bag.
- PE filter bag (5) full? Replace the filter bag.
- Container (10) full? Empty the container.
- Motor protection filter (16) clogged? – See section 10..
- Nozzle, tubes or hose blocked? Clean.
The appliance will not start:
- Is the plug in the plug socket?
- No power from mains?
- Mains lead OK?
- Appliance hood correctly closed?
- Has the water sensor been cut off? – Empty the container; then switch it on and off again.
- Switch (1) in the “RA / A” position? – Set to the “I” position. See section 7.1.
- The vacuum cleaner is not switched on or off by means of a power tool, even though switch (1) is set to the “RA / A” position. – Connect the power tool to the plug socket (3).
Dust in the container when the paper filter bag/ fleece filter bag is fitted:
- The position of the rotary slide is incorrect. See section 6.3.
PE filter bag is sucked against the filter cassettes (17) :
- The position of the rotary slide is incorrect. See section 6.4.
Do not interfere with the appliance.
Contact an authorized workshop or Metabo’s after-sales service department (see the section on 13. Repairs).
Accessories
Use only genuine Metabo accessories.
If you need any accessories, check with your dealer.
See page 4.
| 18 Paper filter bags M 5 bags = 1 set 19 Fleece filter bags M 5 bags = 1 set 20 PE filter bags M 5 bags = 1 set 21 Filter cartridge M cellulose material 2 pieces = 1 set 22 Filter cartridge M polyester material 2 cartridges = 1 set 23 Motor protection filter (1 filter) You must order 2 items. 24 Cable clips (10 clips) 25 Suction hose 26 Connecting piece 27 Suction tubes (2 items) 28 Intermediate piece 29 Suction nozzle 30 Floor nozzle (metal fitting) 31 Universal nozzle | 32 Universal brush 33 Upholstery brush 34 Crevice nozzle 35 Rubber nozzle 36 Floor nozzle set (with floor piece and wet vacuuming piece) 37 Multi-purpose nozzle 38 Power tools suction set 39 Suction hose 40 Suction hose (antistatic) 41 Adapter 42 Suction hose with connecting piece inner dia. 30 mm and connecting piece outer dia. 35 mm |
Repairs
Repairs to appliances must be carried out by qualified electricians only!
Use only original Metabo spare parts.
If you have Metabo electrical tools that require repairs, please contact your Metabo service center.
For addresses see www.metabo.com.
You can download spare parts lists from
www.metabo.com.
Environmental Protection
Metabo’s packaging can be 100% recycled. Worn-out devices and accessories contain large amounts of valuable raw materials and plastics, which can also be recycled.
These instructions are printed on chlorine-free bleached paper.
For EU countries only: Never dispose of appliances in your household waste! In accordance with European Guideline 2002/ 96/EC on used electronic and electric equipment and its implementation in national legal systems, used power tools must be collected separately and returned for environmentally compatible recycling.
Technical specifications
Explanatory notes on the specifications on page 2. Changes due to technological progress reserved.
| K A U F A N P1 PU1 PU2 Vl/s1 Vl/s2 Dmax1 Dmax2 V m | = Dust class As per EN 60335-2-69. = Outer dimensions = Mains voltage =Mains frequency =Current consumption = Mains connection lead = Nominal power input = Max. vacuum (at hose) = Max. vacuum (at blower) = Max. volume flow (at hose) = Max. volume flow (at blower) = Max. flow rate (at hose) = Max. flow rate (at blower) = Max. container volume = Weight (without mains cable) |
A-effective perceived sound levels (IEC 60335-2-69):
LpA =Sound pressure level
LWA =Acoustic power level
During operation, the noise level can exceed 80 dB(A).
Wear ear protectors!
Measured values determined in conformity with
EN 60704.
~ Alternating current
The technical specifications quoted are subject to tolerances (in compliance with the relevant valid standards).
Metabowerke GmbH
Metabo-Allee 1
72622 Nuertingen
Germany
www.metabo.com
Made in Germany
















