WFG505M0MS 30 Inch 5-Burner Freestanding Gas Range
Instruction Manual
WFG505M0MS 30 Inch 5-Burner Freestanding Gas Range
INSTALLATION INSTRUCTIONS 30″ (76.2 CM) FREESTANDING GAS RANGES
IMPORTANT:
Installer: Leave installation instructions with the homeowner.
Homeowner: Keep installation instructions for future reference.
W11508820B
RANGE SAFETY
Your safety and the safety of others are very important.
We have provided many important safety messages in this manual and on your appliance. Always read and obey all safety messages.
This is the safety alert symbol.
This symbol alerts you to potential hazards that can kill or hurt you and others.
All safety messages will follow the safety alert symbol and either the word “DANGER” or “WARNING.”
These words mean:
DANGER You can be killed or seriously injured if you don’t immediately follow instructions.
WARNING You can be killed or seriously injured if you don’t follow instructions.
All safety messages will tell you what the potential hazard is, tell you how to reduce the chance of injury, and tell you what can happen if the instructions are not followed.
WARNING: If the information in this manual is not followed exactly, a fire or explosion may result causing property damage, personal injury or death.
– Do not store or use gasoline or other flammable vapors and liquids in the vicinity of this or any other appliance.
– WHAT TO DO IF YOU SMELL GAS:
- Do not try to light any appliance.
- Do not touch any electrical switch.
- Do not use any phone in your building.
- Immediately call your gas supplier from a neighbor’s phone. Follow the gas supplier’s instructions.
- If you cannot reach your gas supplier, call the fire department.
– Installation and service must be performed by a qualified installer, service agency or gas supplier.
WARNING:
Never Operate the Top Surface Cooking Section of this Appliance Unattended
- Failure to follow this warning statement could result in fire, explosion, or burn hazards that could cause property damage, personal injury, or death.
- If a fire should occur, keep away from the appliance and immediately call your fire department.
DO NOT ATTEMPT TO EXTINGUISH AN OIL/GREASE FIRE WITH WATER.
WARNING: Gas leaks cannot always be detected by smell.
Gas suppliers recommend that you use a gas detector approved by UL or CSA.
For more information, contact your gas supplier.
If a gas leak is detected, follow the “What to do if you smell gas” instructions.
IMPORTANT: Do not install a ventilation system that blows air downward toward this gas cooking appliance. This type of ventilation system may cause ignition and combustion problems with this gas cooking appliance resulting in personal injury or unintended operation.
In the State of Massachusetts, the following installation instructions apply:
- Installations and repairs must be performed by a qualified or licensed contractor, plumber, or gasfitter qualified or licensed by the State of Massachusetts.
- Acceptable Shut-off Devices: Gas Cocks and Ball Valves installed for use shall be listed.
- A flexible gas connector, when used, must not exceed 4 feet (121.9 cm).
WARNING
Tip Over Hazard
A child or adult can tip the range and be killed.
Install anti-tip bracket to floor or wall per installation instructions.
Slide the range back so the rear range foot is engaged in the slot of the anti-tip bracket.
Re-engage the anti-tip bracket if the range is moved.
Do not operate the range without an anti-tip bracket installed and engaged.
Failure to follow these instructions can result in death or serious burns to children and adults.
To verify the anti-tip bracket is installed and engaged:
- Slide range forward.
- Look for the anti-tip bracket securely attached to the floor or wall.
- Slide the range back so the rear range foot is under the anti-tip bracket.
- See installation instructions for details.
INSTALLATION REQUIREMENTS
Tools and Parts
Gather the required tools and parts before starting installation. Read and follow the instructions provided with any tools listed here.
Tools needed
- Tape measure
- Flat-blade screwdriver
- Phillips screwdriver
- Level
- Hand or electric drill
- Wrench or pliers
- Pipe wrench
- 15/16″ (2.4 cm) combination wrench
- 1/4″ (6 mm) drive ratchet
- 3/8″ (1 cm) nut driver
- 1/8″ (3 mm) drill bit (for wood floors)
- Marker or pencil
- Pipe-joint compound resistant to Propane Gas
- Noncorrosive leak-detection solution
For Propane/Natural Gas
Conversions
- 3/8″ (1 cm) combination wrench
- 1/2″ (1.3 cm) combination wrench
- 5/8″ (1.6 cm) combination wrench
- 7 mm (9/32″) combination wrench
- Quadrex ®† or Phillips screwdriver
- Masking tape
Parts supplied
Check that all parts are included.
A. Anti-tip bracket
B. #12 x 15 ⁄8″ (4.1 cm) screws (2)
- Literature bag
- Conversion orifice spuds (inside the bag containing literature)
- Anti-tip brackets must be securely mounted to the floor or wall.
The thickness of the flooring may require longer screws to anchor the bracket to the floor.
Parts needed
Check local codes, and consult the gas suppliers. Check existing gas supply and electrical supply. See the “Electrical Requirements” and “Gas Supply Requirements” sections.
Location Requirements
IMPORTANT: Observe all governing codes and ordinances.
Do not obstruct the flow of combustion and ventilation air.
- It is the installer’s responsibility to comply with installation clearances specified on the model/serial rating plate. The model/serial rating plate is located on the left side of the bottom of the broiler.
A. Model/serial rating plate location - The range should be located for convenient use in the kitchen.
- Recessed installations must provide a complete enclosure of the sides and rear of the range.
- To eliminate the risk of burns or fire by reaching over heated surface units, cabinet storage space located above the surface units should be avoided. If cabinet storage is to be provided, the risk can be reduced by installing a range hood that projects horizontally a minimum of 5″ (12.7 cm) beyond the bottom of the cabinets.
- All openings in the wall or floor where the range is to be installed must be sealed.
- Do not seal the range to the side cabinets.
- The Cabinet opening dimensions that are shown must be used. Given dimensions are minimum clearances.
- The anti-tip bracket must be installed. To install the anti-tip bracket shipped with the range, see the “Install Anti-Tip Bracket” section.
- A grounded electrical supply is required. See the “Electrical Requirements” section.
- A proper gas supply connection must be available. See the “Gas Supply Requirements” section.
- Contact a qualified floor covering installer to check that the floor covering can withstand at least 200°F (93°C).
- Use an insulated pad or 1/4″ (6.4 mm) plywood under range if installing range over carpeting.
IMPORTANT: To avoid damage to your cabinets, check with your builder or cabinet supplier to make sure that the materials used will not discolor, delaminate, or sustain other damage. This oven has been designed in accordance with the requirements of UL and CSA International and complies with the maximum allowable wood cabinet temperatures of 194°F (90°C).
Mobile Home – Additional Installation Requirements
The installation of this range must conform to the Manufactured Home Construction and Safety Standard, Title 24 CFR, Part 3280 (formerly the Federal Standard for Mobile Home Construction and Safety, Title 24, HUD Part 280). When such standard is not applicable, use the Standard for Manufactured Home Installations, ANSI A225.1/NFPA 501A, or with local codes.
Mobile home installations require:
- When this range is installed in a mobile home, it must be secured to the floor during transit. Any method of securing the range is adequate as long as it conforms to the
standards listed above.
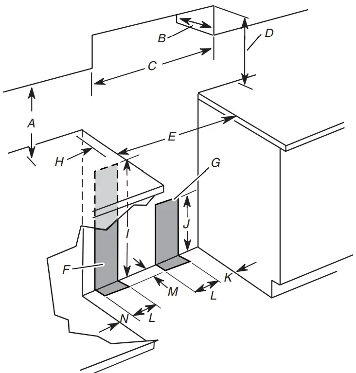
Product Dimensions
A. 36″ (91.4 cm)
B. 29 7⁄8″ (75.9 cm)
C. 25 7 ⁄64″ (63.8 cm)
D. 475⁄64″ (119.6 cm)
Cabinet Dimensions
The cabinet opening dimensions shown are for 25″ (64.0 cm) countertop depth, 24″ (61.0 cm) base cabinet depth and 36″ (91.4 cm) countertop height.
If the cabinet depth is greater than 24″ (61.0 cm), the oven frame must extend beyond cabinet fronts by 1/2″ (1.3 cm) minimum.
IMPORTANT: If installing a range hood or microwave hood combination above the range, follow the range hood or microwave hood combination installation instructions for dimensional clearances above the cooktop surface. 
A. 18″ (45.7 cm) minimum clearance upper side cabinet to countertop
B. 13″ (33.0 cm) maximum upper cabinet depth
C. 30″ (76.2 cm) minimum cabinet opening width
D. For minimum clearance to the top of the cooktop, see NOTE.*
E. 30¹⁄8″ (76.5 cm) minimum opening width
F. This shaded area is recommended for the installation of an electrical outlet.
G. This shaded area is recommended for the installation of a rigid gas pipe.
H. 2″ (5.1 cm) minimum countertop space to a side wall or other combustible material
I. 24″ (61.0 cm)
J. 10″ (25.4 cm)
K. 8″ (20.3 cm)
L. 5″ (12.7 cm)
M. 2″ (5.1 cm)
N. 3″ (7.6 cm)
* NOTE: 24″ (61.0 cm) minimum when the bottom of wood or metal cabinet is covered by not less than 1/4″ (6.4 mm) flame retardant millboard covered with not less than No. 28 MSG sheet steel, 0.015″ (0.4 mm) stainless steel, 0.024″ (0.6 mm) aluminum, or 0.020″ (0.5 mm) copper. 30″ (76.2 cm) minimum clearance between the top of the cooking platform and the bottom of an uncovered wood or metal cabinet.
Electrical Requirements
WARNING
![]()
Electrical Shock Hazard
Plug into a grounded 3-prong outlet.
Do not remove the ground prong.
Do not use an adapter.
Do not use an extension cord.
Failure to follow these instructions can result in death, fire, or electrical shock.
IMPORTANT: The range must be electrically grounded in accordance with local codes and ordinances, or in the absence of local codes, with the National Electrical Code, ANSI/NFPA 70, latest edition.
If codes permit and a separate ground wire is used, it is recommended that a qualified electrical installer determine that the ground path is adequate.
A copy of the above code standards can be obtained from:
National Fire Protection Association
1 Batterymarch Park
Quincy, MA 02169-7471
CSA International
8501 East Pleasant Valley Road
Cleveland, OH 44131-5575
- A 120 V, 60 Hz, AC only, 15 A fused, electrical circuit is required. A time-delay fuse or circuit breaker is also recommended. It is recommended that a separate circuit serving only this range be provided.
- This range is equipped with a power supply cord having a 3-prong ground plug. To minimize possible shock hazards, the cord must be plugged into a grounded 3-prong outlet.
- Electronic ignition systems operate within wide voltage limits, but proper grounding and polarity are necessary. Check that the outlet provides 120 V power and is correctly grounded.
This range is equipped with an electronic ignition system that will not operate if plugged into an outlet that is not properly polarized. - The performance of this range will not be affected if operated on a GFCI-protected electrical outlet. However, occasional nuisance tripping of the GFCI breaker is possible due to the normal operating nature of electronic gas ranges.
- The wiring diagram is located on the back of the range in a clear plastic bag.
NOTE: The metal chassis of the range must be grounded in order for the control panel to work. If the metal chassis of the range is not grounded, no keypads will operate. Check with a qualified electrician if you are in doubt as to whether the metal chassis of the range is grounded.
Gas Supply Requirements
WARNING![]()
Explosion Hazard
Use a new CSA International-approved gas supply line.
Install a shut-off valve.
Securely tighten all gas connections.
If connected to Propane, have a qualified person make sure gas pressure does not exceed 14″ (36 cm) water column.
Examples of qualified people include:
licensed heating personnel, authorized gas company personnel, and authorized service personnel.
Failure to do so can result in death, explosion, or fire.
Observe all governing codes and ordinances.
IMPORTANT: This installation must conform with all local codes and ordinances. In the absence of local codes, installation must conform with American National Standard, National Fuel Gas Code ANSI Z223.1 – latest edition or CAN/CGA B149 – latest edition.
IMPORTANT: Leak testing of the range must be conducted according to the manufacturer’s instructions. See “Complete Connection” in the “Make Gas Connection” section.
Type of Gas Natural gas:
- This range is factory set for use with Natural gas. The model/serial rating plate is located on the left side of the bottom of the broiler and has information on the types of gas that can be used. If the types of gas listed do not include the type of gas available, check with the local gas supplier.
Propane Gas conversion:
The conversion must be done by a qualified service technician.
No attempt will be made to convert the appliance from the gas specified on the model/serial rating plate for use with a different gas without consulting the serving gas supplier. See the “Gas Conversions” section.
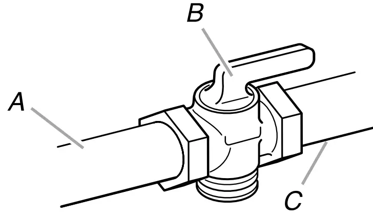
Gas Supply Line
- Provide a gas supply line of 3/4″ (1.9 cm) rigid pipe to the range location. A smaller size pipe on longer runs may result in insufficient gas supply. With Propane gas, piping or tubing size can be 1/2″ (1.3 cm) minimum. Usually, Propane gas suppliers determine the size and materials used in the system.
NOTE: Pipe-joint compounds that resist the action of Propane gas must be used. Do not use TEFLON ®†tape.
Flexible metal appliance connector:
- If local codes permit, a new CSA design-certified, 4 to 5 ft (122 to 152.4 cm) long, 1/2″ (1.3 cm) or 3/4″ (1.9 cm) I.D. flexible metal appliance connector may be used for connecting range to the gas supply line.

- A 1/2″ (1.3 cm) male pipe thread is needed for connection to the female pipe threads of the inlet to the appliance pressure regulator.
- Do not kink or damage the flexible metal tubing when moving the range.
- Must include a shut-off valve:
The supply line must be equipped with a manual shut-off valve. This valve should be located in the same room but external to the range opening, such as an adjacent cabinet.
It should be in a location that allows ease of opening and closing. Do not block access to shut-off valve. The valve is for turning on or shutting off gas to the range.
A. Gas supply line
B. Shut-off valve “open” position
C. To range
Gas Pressure Regulator
The gas pressure regulator supplied with this range must be used. The inlet pressure to the regulator should be as follows for proper operation:
Natural Gas:
Minimum pressure: 5″ WCP
Maximum pressure: 14″ WCP
Propane Gas:
Minimum pressure: 11″ WCP
Maximum pressure: 14″ WCP
Contact a local gas supplier if you are not sure about the inlet pressure.
Burner Input Requirements
Input ratings shown on the model/serial rating plate are for elevations up to 2,000 ft (609.6 m).
For elevations above 2,000 ft (609.6 m), ratings are reduced at a rate of 4% for every 1,000 ft (304.8 m) above sea level (not applicable for Canada).
Gas Supply Pressure Testing
The gas supply pressure for the testing regulator must be at least 1″ water column pressure above the manifold pressure shown on the model/serial rating plate.
Line pressure testing above 1/2 psi gauge (14″ WCP)
The range and its individual shutoff valve must be disconnected from the gas supply piping system during any pressure testing of that system at test pressures in excess of 1/2 psi (3.5 kPa/14″ WCP).
Line pressure testing at 1/2 psi gauge (14″ WCP) or lower The range must be isolated from the gas supply piping system by closing its individual manual shutoff valve during any pressure testing of the gas supply piping system at test pressures equal to or less than 1/2 psi (3.5 kPa/14″ WCP).
INSTALLATION INSTRUCTIONS
Unpack Range
WARNING
Excessive Weight Hazard
Use two or more people to move and install range. Failure to do so can result in back or other injury.
- Do not use oven door handle to lift or move the range.
- Remove shipping materials, tape, and film from range. Keep cardboard bottom and foam support under range.
- Remove oven racks and parts package from inside oven and broiler cavity.
- To place range on its back, take 4 cardboard corners from the carton. Stack 1 cardboard corner on top of another. Repeat with the other 2 corners. Place them lengthwise on the floor behind the range to support the range when it is laid on its back.
- Using 2 or more people, firmly grasp the range and gently lay it on its back on the cardboard corners.
- Pull the cardboard bottom firmly to remove, then remove foam support.
- Use an adjustable wrench to loosen the leveling legs. Adjust the leveling legs to the correct height. Leveling legs can be loosened to add up to a maximum of 1″ (2.5 cm). A minimum of 3/16″ (5 mm) is needed to engage the anti-tip bracket.
NOTE: If height adjustment is made when a range is standing, tilt the range back to adjust the front legs, then tilt forward to adjust the rear legs. - Place cardboard or hardboard in front of range. Using 2 or more people, stand range back up onto cardboard or hardboard.
Install Anti-Tip Bracket
WARNING
Tip Over Hazard
A child or adult can tip the range and be killed.
Install anti-tip bracket to floor or wall per installation instructions.
Slide the range back so the rear range foot is engaged in the slot of the anti-tip bracket.
Re-engage the anti-tip bracket if the range is moved.
Do not operate the range without an anti-tip bracket installed and engaged.
Failure to follow these instructions can result in death or serious burns to children and adults.
Remove the anti-tip bracket from where it is attached inside the oven with a wire tie.
- Determine which mounting method to use: floor or wall.
- If you have a stone or masonry floor, you can use the wall-mounting method. If you are installing the range in a mobile home, you must secure the range to the floor.
- Determine and mark the centerline of the cutout space. The mounting can be installed on either the left side or right side of the cutout. Position the mounting bracket against the wall in the cutout so that the V-notch of the bracket is 95 ⁄8″ (24.6 cm) from the centerline as shown.
A. 95⁄8″ (24.6 cm)
B. Bracket V-notch - Drill two 1/8″ (3 mm) holes that correspond to the bracket holes of the determined mounting method. See the following illustrations.
Floor Mounting
Wall Mounting
- Using the Phillips screwdriver, mount the anti-tip bracket to the wall or floor with the two #12 x 1 5⁄8″ (4.1 cm) screws provided.
- Move the range close enough to the opening to allow for final gas and electrical connections. Remove the shipping base, cardboard, or hardboard from under range.
- Move the range into its final location, making sure the rear leveling leg slides into the anti-tip bracket.

- Move the range forward onto the shipping base, cardboard, or hardboard to continue installing the range using the following installation instructions.
Make Gas Connection
WARNING![]()
Explosion Hazard
Use a new CSA International-approved gas supply line.
Install a shut-off valve.
Securely tighten all gas connections.
If connected to Propane, have a qualified person make sure gas pressure does not exceed 14″ (36 cm) water column.
Examples of qualified person include licensed heating personnel, authorized gas company personnel, and authorized service personnel.
Failure to do so can result in death, explosion, or fire.
Typical flexible connection
- Apply pipe-joint compound made for use with Propane gas to the smaller thread ends of the flexible connector adapters (see B and F in the following illustration).
- Attach 1 adapter to the gas pressure regulator and the other adapter to the gas shut-off valve. Tighten both adapters, being certain not to move or turn the gas pressure regulator.
- Use a 15/16″ (2.4 cm) combination wrench and an adjustable wrench to attach the flexible connector to the adapters.
IMPORTANT: All connections must be wrench-tightened. Do not make connections to the gas regulator too tight. Making the connections too tight may crack the regulator and cause a gas leak. Do not allow the regulator to turn when tightening fittings.
A. Pressure regulator connection fitting
B. Use pipe-joint compound.
C. Adapter
D. Flexible connector
E. Adapter
F. Use pipe-joint compound.
G. Manual shut-off valve
H. 1/2″ (1.3 cm) or 3/4″ (1.9 cm) gas pipe
Complete Connection
- Locate the gas pressure regulator in the back of the range.
A. Gas pressure regulator
IMPORTANT: Do not remove the gas pressure regulator. - Check that the gas pressure regulator shut-off valve is in the “ON” position.
A. “ON” position
B. “OFF” position
IMPORTANT: The factory default setting is the “ON” position. If the range does not work, verify that the valve is in the “ON” position. - Open the manual shutoff valve in the gas supply line. The valve is open when the handle is parallel to the gas pipe.
A. Closed valve
B. Open valve - Test all connections by brushing on an approved noncorrosive leak-detection solution. Bubbles will show a leak. Correct any leak found.
- Remove cooktop burner caps and grates from the parts package. Align notches in burner caps with pins in burner base. Burner caps should be level when properly positioned.
If burner caps are not properly positioned, surface burners will not light. Place burners, burner caps, and grates on the cooktop.
WARNING
Electrical Shock Hazard
Plug into a grounded 3-prong outlet.
Do not remove the ground prong.
Do not use an adapter.
Do not use an extension cord.
Failure to follow these instructions can result in death, fire, or electrical shock. - Plug into a grounded 3-prong outlet.
Verify Anti-Tip Bracket Is Installed and Engaged
- Place the outside of your foot against the bottom front of the broiler and grasp the lower right or left side of the control panel as shown.
NOTE: If your countertop is mounted with a backsplash, it may be necessary to grasp the range higher than is shown in the illustration.
- Slowly attempt to tilt the range forward.
If you encounter immediate resistance, the range foot is engaged in the anti-tip bracket. - If the rear of the range lifts more than 1/2″ (1.3 cm) off the floor without resistance, stop tilting the range and lower it gently back to the floor. The range foot is not engaged in the anti-tip bracket.
IMPORTANT: If there is a snapping or popping sound when lifting the range, the range may not be fully engaged in the bracket. Check to see if there are obstructions keeping the range from sliding to the wall or keeping the range foot from sliding into the bracket. Verify that the bracket is held securely in place by the mounting screws. - Slide the range forward and verify that the anti-tip bracket is securely attached to the floor or wall.
- Slide the range back so the rear range foot is inserted into the slot of the anti-tip bracket.
IMPORTANT: If the back of the range is more than 2″ (5.1 cm) from the mounting wall, the rear range foot may not engage the bracket. Slide the range forward and determine if there is an obstruction between the range and the mounting wall. Changes to the gas supply must be performed by a qualified service technician. If you need assistance or service, refer to the “Assistance or Service” section of the Use and Care Guide for contact information. - Repeat steps 1 and 2 to ensure that the range foot is engaged in the anti-tip bracket.
If the rear of the range lifts more than 1/2″ (1.3 cm) off the floor without resistance, the anti-tip bracket may not be installed correctly. Do not operate the range without an anti-tip bracket installed and engaged. Please reference the “Assistance or Service” section of the Use and Care Guide or the cover or “Warranty” section of the User Instructions to contact service.
Level Range
- Place a standard flat rack in the oven.
- Place a level on the rack, and check the levelness of the range, first side to side, then front to back.

- If the range is not level, pull the range forward until the rear leveling leg is removed from the anti-tip bracket.
- Use a 3/8″ drive ratchet and slip-joint pliers to adjust leveling legs up or down until the range is level.
- Push range back into position.
- Check that the rear leveling leg is engaged in the anti-tip bracket.
NOTE: Range must be level for satisfactory baking performance.
Electronic Ignition System
Initial lighting and gas flame adjustments
Cooktop and oven burners use electronic igniters in place of standing pilots. When the cooktop control knob is turned to the “IGNITE” position, the system creates a spark to light the burner this sparking continues until the control knob is turned to the desired setting.
When the oven control is turned to the desired setting, a hot surface igniter heats to bright orange and ignites the gas. No sparking occurs. The glow bar remains on while the burner operates’
Check the Operation of Cooktop Burners
- If the control panel and knobs were removed earlier, reinstall the knobs.
- Push in and turn each surface unit control knob to the “IGNITE” position. The flame should light within 4 seconds.

- Turn the control knob to the “HIGH” position after the burner lights.
- Check each cooktop burner for the proper flame. The small inner cone should have a very distinct blue flame 1/4″ (6.4 mm) to 1/2″ (1.3 cm) long. The outer cone is not as distinct as the inner cone.
A. Outer cone
B. Inner cone - Turn the control knob quickly to the “LOW” position after the burner lights. If the flame goes out, turn the control knob to the “OFF” position.
- Check each cooktop burner for the proper low flame. The low flame should be a minimum, steady blue flame. The flame size should be 1/4″ to 3/8″ (6.4 mm to 9.5 mm) high.
If the low flame needs adjusting:
- Turn the control knob to the “LOW” setting and remove control knob.
- Insert a small flat-blade screwdriver into the valve stem. Turn the valve adjusting screw to obtain the smallest flame that will not go out when the control of a cold burner is quickly turned from “HIGH” to “LOW.” Turn right to decrease flame height. Turn left to increase flame height. Repeat for other cooktop burners as needed.
A. Valve stem - Replace the control knob.
Check the Operation of the Oven/Broil Burner
Electronic oven control (on some models):
- Open the broiler door.
- Press the “BAKE” pad.
n The “BAKE” indicator will light.
n “350” will appear in the display. - Press the START/ENTER pad.
n The “TEMP” and “ON” indicators will appear.
n The display will show the automatic countdown time (10 minutes) needed to preheat the oven for the selected temperature.
n The oven burner should light in 20-40 seconds; this delay is normal. The oven valve requires a certain time before it will open and allow gas to flow. The oven burner will burn until the oven temperature has reached 350°F (175°C). After 20-40 seconds, the oven burner will begin to cycle on and off to maintain the 350°F (175°C) temperature.
The broil burner and oven burner are the same burners. Check the broil function as follows:
- Press the “BROIL” pad.
• “525” will appear in the display.
• The “BROIL” indicator will light. - Press the START/ENTER pad.
• The oven burner should light in 20-40 seconds; this delay is normal. The oven valve requires a certain time before it will open and allow gas to flow.
To avoid damaging the hot surface igniter, do not insert any object into the openings of the shield that surrounds the igniter or clean that area. - Check the oven burner for the proper flame. The flame should be 1/2″ (1.3 cm) long, with an inner cone of bluish-green. The outer mantle should be dark blue and should be clean and soft in character. No yellow tips (not enough air), blowing or lifting (too much air) of the flame should occur.
If the flame needs adjusting:
- Turn the oven off. Wait for the oven burner to cool down.
- Open the oven door and remove the oven racks and oven tray and set aside.
A. Oven tray (lift up at area shown to remove) - Locate the air shutter near the rear wall of the oven and loosen the shutter screw.
A. Shutter screw
B. Air shutter - Adjust the air shutter.
- Turn the oven back on and check for the proper flame. If the flame is still not properly adjusted, turn the oven off, wait for the oven burner to cool down, and repeat Step 4 until flame is properly adjusted.
- When the flame has been properly adjusted, turn the oven off and wait for the burner to cool down.
- Tighten the shutter screw.
- Reinstall the flame spreader and oven tray. Reinstall the oven racks and close the oven door.
- Close the broiler door.
Complete Installation
- Check that all parts are now installed. If there is an extra part, go back through the steps to see which step was skipped.
- Check that you have all of your tools.
- Dispose of/recycle all packaging materials.
- Check that the range is level. See the “Level Range” section.
- Use a mild solution of liquid household cleaner and warm water to remove waxy residue caused by shipping material.
Dry thoroughly with a soft cloth. For more information, see the “Range Care” section of the Use and Care Guide or User Instructions. - Read the Use and Care Guide or User Instructions.
- Turn on the surface burners and oven. See the Use and Care Guide or User Instructions for specific instructions on range operation.
If the range does not operate, check the following:
• Household fuse is intact and tight or the circuit breaker has not tripped.
• Range is plugged into a grounded 3-prong outlet.
• Gas pressure regulator shut-off valve is in the ON position.
• Electrical supply is connected.
• See “Troubleshooting” in the Use and Care Guide or User Instructions. - When the range has been on for 5 minutes, check for heat. If the range is cold, turn off the range and check that the gas supply line shut-off valve is open.
• If the gas supply line shut-off valve is closed, open it, then repeat the 5-minute test as outlined above.
• If the gas supply line shutoff valve is open, press the CANCEL button on the oven control panel and contact a qualified technician.
If you need assistance or service:
Please reference the “Assistance or Service” section of the Use and Care Guide or the cover of the User Instructions, or contact the dealer from whom you purchased your range.
GAS CONVERSIONS
Gas conversions from Natural gas to Propane gas or from Propane gas to Natural gas must be done by a qualified installer.
WARNING
Explosion Hazard
Use a new CSA International-approved gas supply line.
Install a shut-off valve.
Securely tighten all gas connections.
If connected to Propane, have a qualified person make sure the gas pressure does not exceed the 14″ (36 cm) water column.
Examples of qualified person include licensed heating personnel, authorized gas company personnel, and authorized service personnel.
Failure to do so can result in death, explosion, or fire.
Propane Gas Conversion
WARNING
Tip Over Hazard
A child or adult can tip the range and be killed.
Install anti-tip bracket to floor or wall per installation instructions.
Slide the range back so the rear range foot is engaged in the slot of the anti-tip bracket.
Re-engage the anti-tip bracket if the range is moved.
Do not operate the range without an anti-tip bracket installed and engaged.
Failure to follow these instructions can result in death or serious burns to children and adults.
- Turn the manual shut-off valve to the “closed” position.
A. Gas supply line
B. Manual shut-off valve “closed” position
C. To range - Unplug the range or disconnect the power.
To Convert the Gas Pressure Regulator
- Open the broiler door, and remove the broiler rack. The gas pressure regulator is located in the back right-hand corner of the broiler compartment.
A. Gas pressure regulator
IMPORTANT: Do not remove the gas pressure regulator.
NOTE: Do not remove the spring beneath the cap.
- Remove the cap from the gas pressure regulator using a flat-blade screwdriver.
NOTE: Be sure the sealing washer remains in the same position. - To convert to Propane gas, unscrew the plastic adjustment screw by hand, turn it over, and screw it in again.

- Reinstall the cap.
To Convert Surface Burners
- Remove the burner grate, burner caps, and burners.
A. Burner cap
B. Burner
C. Center burner - Locate the Propane gas orifice spuds for top burners in the bag containing literature included with the range. One Propane gas spud is stamped “094,” one is stamped “096,” two are stamped “117,” and one is stamped “088.”
- Remove Natural gas orifice spuds using a 7 mm (9/32″) combination wrench.
- Install Propane gas orifice spuds using a 7 mm (9/32″) combination wrench.
NOTE: The range cooktop is equipped with 5 burners: 2 burners are power (front), 2 burners are standard (center and left rear), and 1 is simmer (right rear).
A. Standard burner – Propane gas orifice spud number 094
B. Power burner – Propane gas orifice spud number 117
C. Center burner – Propane gas orifice spud number 096
D. Simmer burner – Propane gas orifice spud number 073
E. Power burner – Propane gas orifice spud number 117 - Place the Natural gas orifice spuds in the parts bag for future use and keep with the bag containing literature.
- Reinstall burners, burner caps, and burner grates.
To Convert Oven Burner
- Open the oven door and remove oven racks and oven tray with a flame spreader, and set aside.
- Remove the screw from the oven burner. Lift the oven burner and pull the burner toward you. The orifice spud is behind the oven burner air shutter.
A. Oven burner
B. Air shutter
C. Screw - Locate the Propane gas orifice spud stamped “58” in the bag containing literature supplied with the range.
- Use a 3/8″ (1 cm) combination wrench to remove the Natural gas orifice spud.
- Install the number “58” Propane gas spud.
A. Propane oven orifice spud stamped with “58”
IMPORTANT: Do not overtighten. - Place Natural gas oven burner spuds in a plastic parts bag along with Natural gas cooktop burner spuds for future use and keep them with the bag containing literature.
- Reinstall the oven burner.
- Reinstall oven racks, oven tray, and flame spreader.
Complete Conversion
- Refer to the “Make Gas Connection” section for properly connecting the range to the gas supply.
- Turn the manual shut-off valve in the gas supply line to the open position.
- Refer to the “Electronic Ignition System” section for proper burner ingestion, operation, and burner flame adjustments.
IMPORTANT: You may have to adjust the “LOW” setting for each cooktop burner.
Checking for proper cooktop and oven burner flames is very important. The small inner cone should have a very distinct blue flame 1/4″ to 1/2″ (6.4 mm to 13 mm) long. The outer cone is not as distinct as the inner cone. Propane gas flames have a slight yellow tip. - Close the broiler door and press the CANCEL/OFF pad.
- Refer to the “Complete Installation” section to complete this procedure.
Natural Gas Conversion
WARNING
Tip Over Hazard
A child or adult can tip the range and be killed.
Install anti-tip bracket to floor or wall per installation instructions.
Slide the range back so the rear range foot is engaged in the slot of the anti-tip bracket.
Re-engage the anti-tip bracket if the range is moved.
Do not operate the range without an anti-tip bracket installed and engaged.
Failure to follow these instructions can result in death or serious burns to children and adults.
- Turn the manual shut-off valve to the “closed” position.
A. Gas supply line
B. Manual shut-off valve “closed” position
C. To range - Unplug the range or disconnect the power.
To Convert the Gas Pressure Regulator
- Open the broiler door, and remove the broiler rack. The gas pressure regulator is located in the back right-hand corner of the broiler compartment.
A. Gas pressure regulator
IMPORTANT: Do not remove the gas pressure regulator.
NOTE: Do not remove the spring beneath the cap. - Remove the cap from the gas pressure regulator using a flat-blade screwdriver.
NOTE: Make sure the sealing washer remains in the same position.
- To convert to Natural gas, unscrew the plastic adjustment screw by hand, turn it over, and screw it in again.
A. Cap
B. Sealing washer
C. Adjustment screw - Reinstall the cap.
To Convert Surface Burners
- Remove the burner grate, burner caps, and burners.
A. Burner cap
B. Burner
C. Center burner - Locate the Natural gas orifice spuds for top burners in the bag containing literature included with the range. Two Natural gas spuds are stamped “175,” one is stamped “139,” one is stamped “155” and one is stamped “100.”
- Remove the Propane gas orifice spuds using a 7 mm (9/32″) combination wrench.
- Install the Natural gas orifice spuds using a 7 mm (9/32″) combination wrench.
NOTE: The range cooktop is equipped with 5 burners: 2 burners are power (front), 2 burners are standard (center and left rear), and 1 is simmer (right rear).
A. Standard burner – Natural gas orifice spud number 139
B. Power burner – Natural gas orifice spud number 175
C. Center burner – Natural gas orifice spud number 155
D. Simmer burner – Natural gas orifice spud number 100
E. Power burner – Natural gas orifice spud number 175 - Place Propane gas orifice spuds in the parts bag for future use and keep them with the bag containing literature.
- Reinstall burners, burner caps, and burner grates.
To Convert Oven Burner
- Open the oven door and remove oven racks and oven tray with a flame spreader, and set aside.
- Remove the screw from the oven burner. Lift the oven burner and pull the burner toward you. The orifice spud is behind the oven burner air shutter.
A. Oven burner
B. Air shutter
C. Screw - Locate the Natural gas orifice spud stamped “49” in the bag containing literature supplied with the range.
- Use a 3/8″ (1 cm) combination wrench to remove the Propane gas orifice spud.
- Install the number “49” Natural gas spud.
A. Natural gas oven orifice spud stamped with “49”
IMPORTANT: Do not overtighten. - Place the Propane gas oven burner spud in a plastic parts bag along with the Propane gas cooktop burner spuds for future use and keep it with the bag containing literature.
- Reinstall the oven burner.
- Reinstall oven racks, oven tray, and flame spreader.
Complete Conversion
- Refer to the “Make Gas Connection” section for properly connecting the range to the gas supply.
- Turn the manual shut-off valve in the gas supply line to the open position.
- Refer to the “Electronic Ignition System” section for proper burner ingestion, operation, and burner flame adjustments.
IMPORTANT: You may have to adjust the “LOW” setting for each cooktop burner.
Checking for proper cooktop and oven burner flames is very important. The small inner cone should have a very distinct blue flame 1/4″ to 1/2″ (6.4 mm to 13 mm) long. The outer cone is not as distinct as the inner cone. Natural gas flames do not have yellow tips. - Close the broiler door and press the CANCEL/OFF pad.
- Refer to the “Complete Installation” section to complete this procedure.
W11508820B
©2021 All rights reserved. Used under license in Canada.
A. Model/serial rating plate location
A. 95⁄8″ (24.6 cm)
Wall Mounting

A. Gas pressure regulator
A. “ON” position
A. Closed valve


A. Outer cone
A. Valve stem
A. Oven tray (lift up at area shown to remove)
A. Shutter screw
A. Gas supply line
A. Gas pressure regulator

A. Burner cap
NOTE: The range cooktop is equipped with 5 burners: 2 burners are power (front), 2 burners are standard (center and left rear), and 1 is simmer (right rear).
A. Standard burner – Propane gas orifice spud number 094
A. Oven burner
A. Propane oven orifice spud stamped with “58”
A. Gas supply line
A. Gas pressure regulator
A. Cap
A. Burner cap
NOTE: The range cooktop is equipped with 5 burners: 2 burners are power (front), 2 burners are standard (center and left rear), and 1 is simmer (right rear).
A. Standard burner – Natural gas orifice spud number 139
A. Oven burner
A. Natural gas oven orifice spud stamped with “49”


















