![]()
MODERN FORMS Aviator Flush FH-W1811-54 User Manual

All Modern Forms Smart Fans are:

APP INSTRUCTIONS AND SMART HOME DEVICE INTEGRATION
FREE APP DOWNLOAD
Sync with our exclusive Modern Forms app to control fan speed, use smart features like Adaptive Learning, create groups and reduce energy costs

RF WALL CONTROL

F-WC-WT
Included with each fan
6 fan speeds
Dims light to 1%
ON/OFF
WIFI TOUCH PANEL WALL CONTROL

F-TS-BK Black
F-TS-WT White
Sold separately
Full app control
1. SAFETY RULES
For operation, maintenance, and troubleshooting information, visit modernforms.com/help.
- To reduce the risk of electric shock, ensure electricity has been turned off at the circuit breaker or fuse box before beginning.
- All wiring must be in accordance with the National Electrical Code “ANSI/ NFPA 70” and local electrical codes. Electrical installation should be performed by a qualified licensed and insured electrician.
- The outlet box and support structure must be securely mounted and capable of reliably supporting a minimum of 35 lbs (15.9 kg). Use only UL-listed outlet boxes marked “FOR FAN SUPPORT.”
- The fan must be mounted with a minimum of 7 ft. (2.1m) clearance from the trailing edge of the blades to the floor.
- Never place objects in the path of the blades.
- To avoid personal injury or damage to the fan and other items, be cautious when working around or cleaning the fan.
- Do not use chemicals when cleaning the fan or fan blades. A dry dust cloth or lightly dampened cloth will be suitable for most cleaning.
- After making electrical connections, spliced conductors should be turned upward and pushed carefully up into the outlet box. The wires should be spread apart with the grounded conductor and the equipment-grounding conductor on one side of the outlet box and ungrounded conductor on the other side of the outlet box.
- All set screws must be checked and re-tightened where necessary before installation.
WARNING: To reduce the risk of electric shock, this fan must be installed and operated with the supplied wall control, or controlled from the Modern Forms app or WIFI Touch Panel wall control (not included).
WARNING: To reduce the risk of personal injury, do not bend the blade arms when installing the brackets, balancing the blades or cleaning the fan.
WARNING: Do not insert foreign objects between rotating fan blades.
WARNING: To reduce the risk of fire, electric shock, personal injury or damage to the fan or other items, mount the fan to the outlet box marked acceptable for fan support with the screws provided with the outlet box.
NOTE: For use only with light kits marked “Suitable for use in wet locations.”
NOTE: A maximum of 2 fans can operate on a circuit through the supplied wall control.
NOTE: A maximum of 12 fans can operate on a circuit through an on/off switch or a breaker when utilizing the Modern Forms app for the fan control (without the wall control in the circuit).
2. FTC ENERGY GUIDE & SPECIFICATION

* Estimated annual energy cost based on $0.12 per kWh and 6.4 hours use per day.
3. TOOLS AND MATERIALS REQUIRED
- Phillips screw driver
- Step ladder
- Wire cutters
- Electrical tape

4. PACKAGE CONTENTS


NOTE: ** denotes finish code of fan
Unpack your fan and check the contents. You should have the following items:



5. MOUNTING OPTIONS
If there isn’t an existing UL/cUL listed mounting box, then read the following instructions. Disconnect the power by removing fuses or turning off circuit breakers.
Secure the outlet box directly to the building structure.
Use appropriate fasteners and building materials. The outlet box and its support must be able to fully support the moving weight of the fan (at least 35 lbs). Do not use plastic outlet boxes.
Figures 1 and 2 are examples of different ways to mount the outlet box.
To hang your fan where there is an existing fixture but no ceiling joist, you may need an installation hanger bar as shown in (Fig. 3).



6. INSTALLING THE MOUNTING BRACKET
REMEMBER to turn off power at the breaker. Follow the steps below to hang your fan properly:
- Disconnect power to the fan location at the breaker. A licensed electrician must install the fan.
- There are four screws on top of the motor assembly. Remove two that are on the opposite of each other and save for section 10. Loosen remaining two.
- Pass the 120-volt supply wires through the center hole in the ceiling mounting bracket as shown in Figure 4.
- Secure the hanger plate and hanger gasket to the ceiling outlet box with the screws and washers provided (Fig. 5).


7. ATTACHING THE FAN BLADES
- Place blade on motor as shown in Fig. 6 and secure with the blade attachment screws and washers.
- Repeat this procedure with the remaining blades (Fig. 6).
- Secure the bottom of the blades together using the provided blade collector ring and hardware (Fig. 7).


8. ATTACHING DECORATIVE LOWER CAP
- Tightly twist the decorative lower cap onto the motor assembly (Fig. 8).

9. MAKING THE ELECTRICAL CONNECTIONS
WARNING: To avoid possible electrical shock, be sure electricity is turned off at the main fuse box before wiring.
WARNING: Installation of this fan requires that a two-conductor cable with ground wire be run between ceiling and wall outlet box.
WARNING: Check to see that all connections are tight, including ground, and that no bare wire is visible at the wire nuts, except for the ground wire.
If you feel you do not have enough electrical wiring knowledge or experience, have your fan installed by a licensed electrician.
Insert the receiver into the mounting bracket with the flat side of the receiver facing the ceiling (Fig. 9).
Follow the steps below to connect the fan to your household wiring. Use the plastic wire nuts with your fan. Secure the plastic wire nuts with electrical tape. Make sure there are no loose strands or connections.

9. MAKING THE ELECTRICAL CONNECTIONS (cont.)
Motor to receiver electrical connections: (Fig. 10
Place motor on flat surface before connecting receiver wires.
- Connect the red wire from the fan to the red wire marked “TO MOTOR” from the receiver.
- Connect the gray wire from the fan to the gray wire marked “TO MOTOR” from the receiver.
- Connect the yellow wire from the fan to the yellow wire marked “TO MOTOR” from the receiver.
- Connect the white wire from the fan to the white wire marked “For Light” from the receiver.
- Connect the black wire from the fan to the blue wire marked “For Light” from the receiver.
- Drop the receiver into the motor assembly, flat side up.

9. MAKING THE ELECTRICAL CONNECTIONS (cont.)
Receiver to house supply wires electrical connections: (Fig. 11 & 12)
- Lift motor assembly and hang it using the cable/hook as shown in Figure 11.
- Secure the safety cable to the building structure using a wood screw (Fig. 11).
- Connect the fan assembly ground wire, mounting bracket ground wire and receiver ground wire to the ground wire in outlet box (Fig. 12).
WARNING: Failure to connect ground wires could result in poor fan control functionality. - Connect the white wire from the fan to the white wire marked “for light” from the receiver.
- Connect the black wire from the fan to the blue wire marked “for light” from the receiver.


10. FINISHING THE INSTALLATION
- Secure all wire connections with supplied wire ties to assist in fan installation.
- Tuck connections neatly into ceiling outlet box.
- Remove the motor assembly from the hook on the mounting bracket. Position the motor up to the hanger plate and attach using two screws through the two key slots in the top of the motor housing (Fig. 13).
Note: Make sure the receiver sits flat and does not interfere with the hook. - Align the remaining two circular holes on motor housing with the two holes on the hanger plate. Secure by tightening the two screws.

11. INSTALLING THE LED LUMINAIRE MODULE (Optional Accessory)
CAUTION: To reduce the risk of electric shock, disconnect the electrical supply circuit to the fan before installing light kit.
- Remove the three screws from the LED wire storage cap, keep the cap for future use when not using the luminaire (Fig. 14).
- Install the LED mounting plate using 3 screws removed from step 1 (Fig. 15).
- Raise and hold the LED luminaire module close to the adapter plate and proceed to secure the wire connections. Connect the white wire connector from the luminaire module to the white wire of the fan. Follow the same procedure with the black wire connectors (Fig. 16).
- Seat the LED luminaire onto LED mounting plate using 3 screws provided with LED luminaire (Fig 17).
- Install glass shade by turning it clockwise until it locks securely (Fig. 18).



12. INSTALLING THE WALL CONTROL
Wall control to wall outlet box electrical connections: (Fig. 19)
- Connect the white wire from the control to the white (neutral) wire from the wall outlet box.
- Connect the red wire form the control to the black wire from the wall outlet box that feeds up to the fan.
- Connect the black wire marked “LINE IN” from the control to the black LINE VOLTAGE wire from the outlet box that feeds back to the main fuse box.
- Connect ground wires – Important for proper control function.

12. INSTALLING THE WALL CONTROL (cont.)
WARNING: Remember to shut the power off at the circuit breaker or fuse box.
- Carefully tuck the wire connections inside the junction box. Secure the wall control with the two wall transmitter screws provided (Fig. 20).
- Attach the wall mounting plate over the wall switch and secure with the two wall mounting plate screws provided.
- Fasten the wall plate to the wall mounting plate.
NOTE: A maximum of 2 fans can operate on a circuit through the wall transmitter.
NOTE: A maximum of 12 fans can operate on a circuit through an on off switch or breaker when utilizing the app for the fan control (without the wall control in the circuit).

13. WALL CONTROL OPERATING INSTRUCTIONS
Your DC brushless motor is equipped with an intuitive wall control. Restore power to ceiling fan and test the wall control as below for proper operation.
Pairing the Wall Control to Your Fan Your fan is pre-paired at the factory, No pairing is necessary.
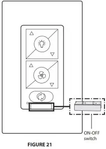
Wall Control Button Definitions
These seven buttons are used to set the fan speed as follows:
Button: turn the light ON or OFF Press/Hold
to increase the desired light level. Press/Hold
to decrease the desired light level.
Button: turn the fan ON or OFF
Press/Hold the
button to increase the fan speed through the speed settings. Press/Hold the
button to decrease the fan speed through the speed settings.
Button: Switch between summer mode and winter mode.
ON-OFF Switch: Pull switch tab to power off in case of emergency. Not necessary for normal fan operation.

13. WALL CONTROL OPERATING INSTRUCTIONS (cont.)
NOTE: A maximum of 2 fans can operate on a circuit through the wall control.
NOTE: A maximum of 12 fans can operate on a circuit through an on/off switch or breaker when utilizing the app for the fan control (without the wall control in the circuit).
Summer Mode – (counter-clockwise) A downward airflow creates a cooling effect as shown in Fig. 22. This allows you to set your air conditioner on a warmer setting without affecting your comfort.
Winter Mode – (clockwise) An upward airflow moves warm air off the ceiling area and redistributes the warm air to the living space as shown in Fig. 23. This should allow for savings on heating costs.
NOTE: To operate the reverse function on this fan, press the reverse button while the fan is running.
NOTE: Fans do not change the temperature in the room, they change the comfort level allowing you to save energy.


14. APPLICATION
In addition to the included wall control, you can control the fan through the Modern Forms app.
- To use the app, download it for free from the App Store or Google Play.
- Open the app to create your account. You can also log in with your Facebook or Google account.
- Next, set up a WiFi connection. You’ll need the SSID and WiFi password for the network you want to connect to.
- You’ll receive a prompt to name your fan device and upload a picture of it if you choose.
- The app will walk you through the main screen and show you how to create schedules, change fan speeds, dim the light, switch between Summer/Winter mode, invite users, create groups and much more. Refer to app instructions for more details.
NOTE: A maximum of 2 fans can operate on a circuit through the wall control.
NOTE: A maximum of 12 fans can operate on a circuit through an on/off switch or breaker when utilizing the app for the fan control (without the wall control in the circuit).

APP INSTRUCTIONS AND SMART HOME DEVICE INTEGRATION
modernforms.com/mfappins
15. TROUBLESHOOTING


16. ACCESSORIES

![]()
![]()
Get Smart
The Modern Forms app synchronizes seamlessly with smart home devices you already
own.
To learn more go to modernforms.com/mfappins

Read More About This Manual & Download PDF:



















