Lydiard Gloss Large Shoe Cabinet
Instruction Manual
Spare Parts
www.argos-support.co.uk
[email protected]
0370 112 1928
Customer Support
0345 640 2020
Safety and Care Advice
Product Details
White 2008952
Grey 2025928
IMPORTANT, RETAIN FOR FUTURE REFERENCE: READ CAREFULLY.
- Keep children and animals away from the work area, small parts could choke if swallowed.
- Make sure you have enough space to layout the parts before starting.
- This product has been constructed to be used in the domestic environment only and not for commercial purposes.
- Assemble the item as close to its final position (in the same room) as possible.
- Assemble on a soft level surface to avoid damaging the unit or your floor.
We do not recommend the use f power drill/ drivers for inserting screws as this could damage the unit. Only use hand screwdrivers.- Parts of the assembly will be easier with 2 people.
- Dispose of all packaging carefully and responsibly.
Care and maintenance
- Only clean using a dry, soft cloth. Do not use liquid or abrasive cleaners.
- From time to time check that there are no loose screws, nuts or bolts. If there are please retighten.
- This product should not be discarded with household waste.
Take to your local authority waste disposal centre.
Additional Guidance
- Assemble all parts and bolts loosely during assembly, only once the product is complete should you fully tighten the bolts.
- Regularly check and ensure that all bolts and fittings are tightened properly.
- The assembled product must be fixed/secured to a wall which is in good condition.
WARNING!
IN ORDER TO PREVENT OVERTURNING THIS PRODUCT MUST BE USED WITH THE WALL ATTACHMENT DEVICE PROVIDED
Serious or fatal crushing injuries can occur from furniture tipping over. To help prevent topple over
- Use the wall attachment device provided
- Never allow children to climb or hang on drawers. doors or shelves
- Place heaviest items in the lower drawers or shelves
- Unless specifically designed to accommodate. do not set TV’s or other heavy objects on top of this product
- Never open more than one drawer at a time
A attachment device is provided with your product. however you will need to source suitable fixings for your wall type. If In doubt, please consult a qualified trades person.
Always ensure the wall to be drilled is free from hidden electrical wires. water and gas pipes.
Fittings
Bag 1
Tools required

Panels


For how to use camlocks watch our video:
www.youtube.com/watch?v=tBMdYxtpu88 






Important note:
If plastic wall plugs Crawl plugs) are supplied with your product, eg:
![]()
- these are suitable for use in masonry walls If you are in any doubt about the correct wall plugs for your wall, seek professional advice. Failure of the product due to using the incorrect fixings is the responsibility of the installer.
Important: when drilling into walls always check that there are no hidden wires or pipes
Make sure that the screws and wall plugs being used are suitable for supporting your unit. Consult a qualified tradesperson if you are unsure.
Hints:
- General rule: always use a larger screw and wall plug if you are not sure.
- Ensure you use the recommended drill bit to match the wall plug and hole
- Ensure you drill the hole horizontally; do not force the drill or enlarge the
- Take extra care when drilling high walls, ceilings and ceramic tiles. Ensure wall plugs are inserted beyond the thickness of the ceramic tiles to avoid the tiles splitting or cracking.
- Ensure wall plugs are well fitted and are a tight fit in the drilled hole.
Types of walls
You can use one of the following types of wall plug if your walls are made of brick, breeze block, concrete, stone or wood.
| No. 1 “General Purpose” wall plug | No. 2 “Plasterboard” wall plug | No. 3″Cavity Fixing” wall plug |
| Generally aerated blocks should not be used to support heavy loads, use a specialist fitting in this case. For light loads, general purpose wall plugs can be used. | For use when attaching light loads onto plasterboard partitions. | For use with plasterboard partitions or hollow wooden doors. |
| No. 4 “Cavity Fixing – Heavy Duty” wall plug | No. 4 “Cavity Fixing – Heavy Duty” wall plug | No. 6 “Shield Anchor” wall plug – heavy loads |
| For use when fitting or supporting heavy loads such as shelving, wall cabinets and coat racks. | For use with walls stuck with plasterboard. The hammer fixing allows it to be fixed to the wall rather than the plasterboard. Always check the fixing is secure to the retaining wall. | For use with heavier loads such as TV and HiFi speakers and satelite dishes etc. |
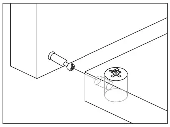
Using camlocks
Step 1:
Connect the cam stud as directed in the assembly instructions using a screwdriver.

Step 2:
Insert the cam socket as shown in the instructions.
Note: Ensure that the aarow on the top of the camlock points towards the entry hole for the male camlock.

Step 3:
Push the male cam stud into every hole. 
Step 4:
Turn the cam socket with a screwdriver.
You should feel a click when the camlock is locked in place.
The joint is now secure. 
For how to use camlocks watch our video:
www.youtube.com/watch?v=tBMdYxtpu88
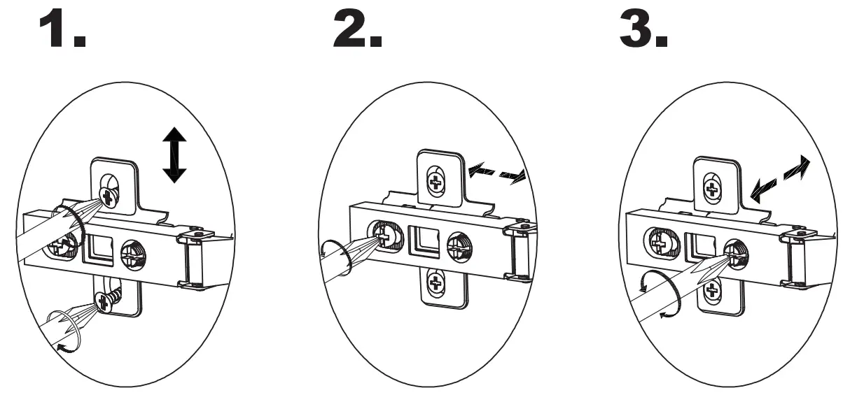
Adjusting hinges
Hinge adjustment
Step 1:
To move the top panel up or down, loosen screws shown and move top pannel to suit.
Step 2:
To move the top panel in or out, loosen screws shown and move top panel to suit.
Retighten screws
Step 3:
To move the top panel left or right, adjust screws shown.

#welovehome



















