
GFW-BER-3 Bergen Three Tier Shoe Cabinet

Product Information
The product appears to be a set of components that includes a Barrel Nut x4, Door stopper x3, and various other A and B components. The components are identified with Batch No.: V3 11/22.
Product Usage Instructions
- Identify and organize the different components of the product.
- Use the Barrel Nut x4 and Door stopper x3 as instructed in the product assembly guide to assemble the product.
- Make sure to follow the instructions carefully to avoid any damage or improper usage of the product.
- Refer to the product manual for any additional information or troubleshooting steps.
BERGEN THREE TIER SHOE CABINET ASSEMBLY INSTRUCTIONS
Thank you for purchasing the BERGEN THREE TIER SHOE CABINET. Please read the instructions carefully to ensure safe operation of the product.
Size:W530xD180xH108.5cm
PLEASE READ this sheet prior to assembly to familiarise yourself with the various stages of construction.
Carefully open the pack supplied and check the contents against the parts and fittings check list. Do not destroy any of the packaging until you are certain that you have all the necessary parts for the assembly.
CAUTION: There are small components used in the construction of this unit. These loose items should be kept away from young children whilst assembling your unit to avoid the danger of choking hazards.
Tools Required

IMPORTANT READ CAREFULLY RETAIN THESE INSTRUCTIONS
FOR FUTURE REFERENCE.
INFORMATION
- The product is intended for a maximum load of 12 kg spread evenly thorough the storage compartments. Do not exceed this weight.
- Due to the size of this product we recommend that it is assembled in the room intended for use.
- When you are ready to start, make sure that you have the right tools, plenty of space and a clean, dry area for assembly.
- Unwrap al packaging materials and place the components on top of the caton box or on a clean floor to prevent it from scratching.
- Check the pack and make sure you have all the parts listed.
- Ensure that this product is fully assembled and secured as illustrated before use.
- Check all screws or bolts are tightened and inspect regularly.
- This product should only be used on firm, level ground.
- Keep small parts out of reach of children.
- Make sure the legs remain in contact with the ground.
- Tools are not included.
WARNINGS
- DO NOT use power tools to construct this product.
- DO NOT tighten screws until fully assembled.
- DO NOT over tighten screws or bolts.
- DO NOT use this product if parts are missing, damaged or worn.
- DO NOT sit or stand on the product.
- It is essential that this unit is fixed to a wall with the fixings provided.
- We recommend the use of the wall fixing provided for safety reasons. N.B. if in doubt pls consult a qualified tradesperson. Warning: Always ensure the area to be drilled is free from hidden electrical wires, water and gas pipes.
CARE INFORMATION
- Never use scourers, abrasives or chemical cleaners.
- To clean wipe with a sponge and warm soapy water. Do not use solvent based cleaners or detergents as they can bleach or damage the product.
Please check the pack contents before assembling the product. If any components are missing,please contact your retailer. The fittings pack contains small items that should be kept away from small children.

PARTS

Fixings
| Ref | Dimensions | Qty |
| A | BOLT ¢5x38mm | 8 |
| B | BARREL NUT ¢7x10mm | 8 |
| C | DOWEL ¢6x30mm | 4 |
| D | SCREWS ¢3x25mm | 36 |
| E | DOORAXIS ¢5x 20 mm | 6 |
| F | DOOR STOPPER ¢ 10 x 20 mm | 6 |
| G | CAM BOLT ¢6x35mm | 4 |
| H | CAMLOCK ¢ 12 x9mm | 4 |

Eixinas (Not to scale)
| Y | WALL FIXING HARDWARE | 1 |
![]()
CAUTION: There are many small components ussed in the construction of this product.
Please keep these components away from young children whilst assembling this product.
If you keep the fittings in a bowl during assembly you will be less likely to lose them!

- General Hints and Tips
- Don’t screw too deep
Layout Parts on Soft Surface
Layout all part on a soft surface i.e. Rug.carpet or packaging carton

ASSEMBLY
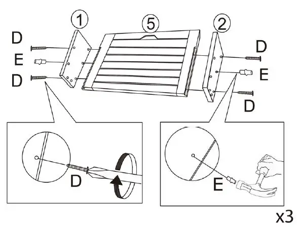
STEP 1

PARTS REQUIRED
- 1: Right Drawer Bracket x3
- 2: Left Drawer Bracket x3
- 5: Drawer Front Panel x3
- D:Screws x12
- E:Door Axis x6
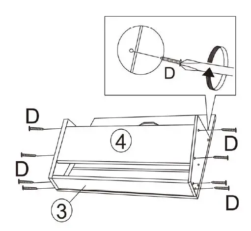
STEP 2

- 3: Drawer Bottom Panel x3
- 4: Drawer Back Panel x3
- D: Screws x24
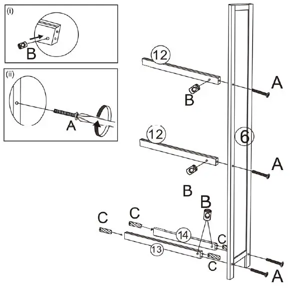
STEP 3

- 6: Left Side Panel x1
- 12: Support Panel x2
- 13: Support Panel x1
- 14: Suppot Panel x1
- A: Bolt x4
- B: Barrel Nut x4
- C: Dowel x4
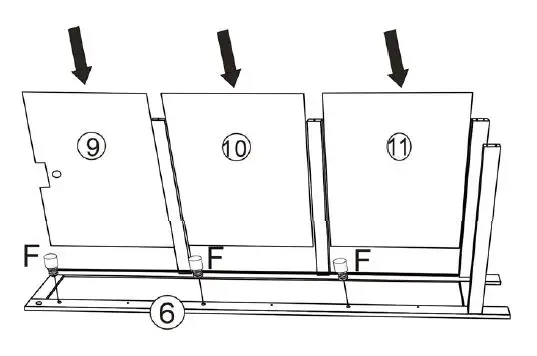
STEP 4

- 9: Back Panel x1
- 10: Back Panel x1
- 11: Back Panel x1
- F: Door Stopper x3
STEP 5

STEP 6

- 7: Right Side Panel x1
- A: Bolt x4
- B:Barrel Nut x4
- F:Door stopper x3
STEP 7

- 8: Top Panel x1
- G: Cam Bolt x4
- Y:Wall Fixing x1
STEP 8

- H:Cam Lock x4
STEP 9

- Y:Wall Fixing x1
Warning:Always ensure the area to be drilled is free from hidden electrical wires,water and gas pipes.
Complete Assembly
Your BERGEN THREE TIER SHOE CABINET is now completely assembled.
Periodically check to ensure that the components are in their proper position, free from damage.
Also, make sure the connectors are tight and secure.

Keep instructions for future reference



















