CTOHSL-24-1 Sidelines 24 in.
Wired Frame Fabric Laundry Hamper Basket
Installation Guide
CLOTH TILT-OUT HAMPER
TOOLS REQUIRED:
ESTIMATED ASSEMBLY TIME:
25 MIN
CARE AND MAINTENANCE:
Clean with a damp cloth and wipe parts dry.
WATCH TUTORIALS OF OUR PRODUCTS BEING INSTALLED

PARTS LIST*

| No. | Description | Qty. |
| A | Cloth Hamper Bag | 1 |
| B | Arm Brackets | 2 |
| C | Center Bracket | 1 |
| D | Bag Support Bars | 2 |
| E | #8 X 5/8” Wood Screws | 4 |
| F | M5 X 6MM Euro Screws | 4 |
| G | Flap Stay Hardware | 1 |
| H | Bag Holder Clips | 4 |
* Door hinges are required but not included
STEP 1
Secure the centre bracket to the two arm brackets using (4) M5 x 6 mm Euro screws.
(See Figure 1).

STEP 2
Use provided measurements to mark and per-drill holes for the centre bracket/arm bracket assembly. Find the centre line on the hamper door and per-drill (4) holes using the 1/8” drill bit (See Figure 2).
FIG. 2

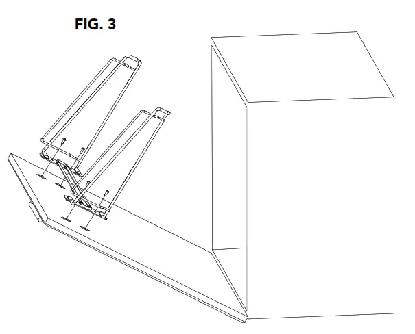
STEP 3
Screw the center bracket/arm brackets to the hamper door using the #8 x 5/8” wood screws (See Figure 3).

‘STEP 4
Reference the flap stay instruction sheet and install the flap stay to the door and the inside of the cabinet (See Figure 4).
STEP 5
Slide the (2) bag support bars through the cloth hamper (See Figure 5).

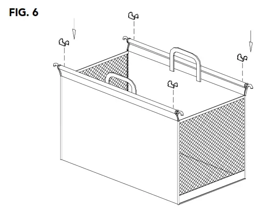
STEP 6
Place all (4) bag holder clips over the bag support bars (See Figure 6).
STEP 7
Open the hamper door and slide the cloth hamper onto the bottom wire of the arm brackets (See Figure 7).

12400 Earl Jones Way
Louisville, KY 40299
rev-a-shelf.com
Customer Service: 800-626-1126


















