Rointe 1000RAD Palaos Electric Vertical Radiator

Thank you for choosing this product. Please read this manual carefully before operation and retain for further use.
INTRODUCTION
ROINTE Palaos electric vertical radiators are programmable with an exclusive temperature control panel, manufactured with high quality materials. The careful choice of components ensures efficiency, without affecting comfort. With a unique design, ROINTE Palaos radiators have passed the highest quality controls, to meet the requirements of safety and efficiency. These digital electric radiators are designed for fixed installation. This product is designed for domestic or residential use. It is recommended that the radiator be installed by an approved professional. Make sure that the radiator is correctly connected to a 230V network. The radiator is class II and has IPX4 electrical protection. Do not make any electrical connections without observing these safety regulations.
Please read this manual carefully before installation and operation. Please keep this manual for future reference and your product guarantee conditions. It is important to retain this manual after installation.
- IMPORTANT: Please read this manual carefully and retain for further use. When using electrical appliances, precautions should be taken to reduce the risk of fire, electrical shock and injury to persons.
- IMPORTANT: Any repairs that require opening the product must be done by ROINTE or authorized personnel. Please observe regulations when disposing of this product and its thermal fluid.
- IMPORTANT: To disconnect the product from the main power supply, remove the plug from the socket. Do not pull the cable. If the power cable is damaged, it must be replaced by ROINTE or its authorized personnel in order to avoid any damage.
- IMPORTANT: ROINTE declines all responsibility in case of any accident caused by incorrect use or not in accordance with this manual.
- IMPORTANT: The manufacturing characteristics of the radiators distributed by ROINTE are patented.
- WARNING: Servicing and product repairs should only be undertaken by ROINTE or its authorized personnel using only exact manufacturer-approved spare parts.
- WARNING: The product is IPX4 rated and may be used in bathrooms, however not in the immediate vicinity of baths, showers, water connections, basins, swimming pools or other bodies of water. The product must never be installed where itself or the switches/ control panel is within the reach of persons in water. Never use the product with wet hands. Do not place any water containers (glasses, vases etc.) on or near the product.
- WARNING: Some parts of this product may become very hot and cause burns. Particular attention should be paid when children and vulnerable people are present.
- WARNING: To avoid overheating, do not cover the product. This includes furniture, curtains, clothes and any other items. Do not insert any kind of object in the product or obstruct its air circulation. Obstructions should not be placed in front, above or directly next to the product. Do not use insecticides, paints, chemicals or aerosols on or near the product. Do not sit on the product. Failure to comply with the above will render your guarantee invalid.
- WARNING: Children from the age of 3 and under the age of 8 may only switch the device on/off if it has been placed or installed in its normal intended operating position and they are supervised or instructed in the safe use of the device and understand the risks involved. Children from the age of 3 and under the age of 8 must not plug in, adjust or clean the appliance or perform maintenance operations.
FEATURES & FUNCTIONS
Not only are our radiators Lot20 compliant, we also include functions to help manage efficiency more effectively.
Open Windows
This function can detect when windows are open, preventing energy waste. It is activated when the temperature drops rapidly in a short period of time (e.g. when a window in the room is opened). When the Open Window status is detected, the display shows the word “Opn” (Open = Open) and the radiator switches to ANTI-FROST mode (7°C). It ends automatically when the product detects that the window has closed, or when the MODE button is pressed.

INSTALLATION
We recommend using a Rointe Trusted Supplier. Find your nearest one by calling us on 0203 321 5928 or using the locator at www.rointe.co.uk.
- IMPORTANT: Before installation, please locate the metal tag situated on the back of the product and note the product reference and serial number. You will need this information to register your guarantee.
- WARNING: Do not install the product directly below a connection box or fixed socket outlet. Do not install or use outdoors. This product is designed for internal, upright wall-mounted installation using the installation kit and fixing items provided.
Using a unique design, ROINTE Palaos radiators utilise natural air convection to transfer heat. Cold air is introduced at the bottom of the radiator and raises its temperature by passing through the interior of the heating element and expelling at the top as warm air. To achieve perfect performance and even heat distribution, the product should be installed with minimum distances from the floor and adjacent walls. See “Diagram 1”. If the product is covered, this will interrupt air-flow and could cause overheating.

Diagram 1:

Inside the product packaging, you will find an installation kit. This includes brackets, screws and fixing plugs for brick, cement or compacted stone walls. You will need a drill, rubber mallet, spirit level and a pencil to complete the installation.
IMPORTANT: Please follow these instructions carefully.
- Drill the wall considering Lf and Hf as fixing holes according to the model purchased:

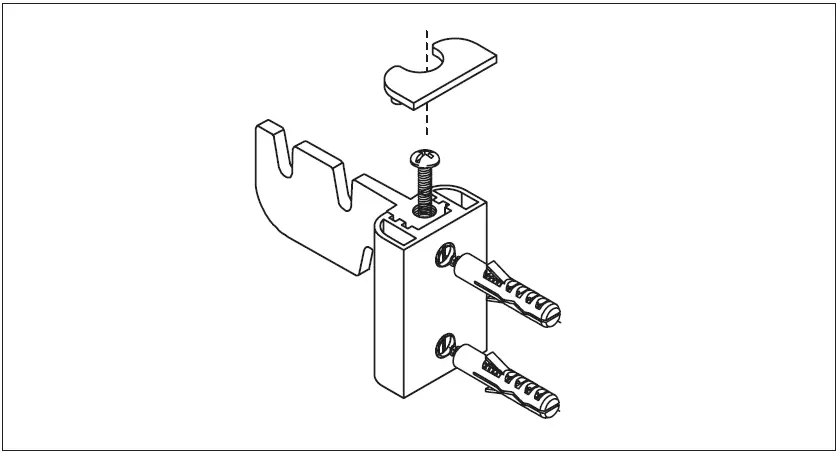
- After inserting the raw! plugs, install the 4 bracket guides (C in Diagram 2) supplied.

- Insert the 2 upper wall brackets with the hook facing upwards and the lower wall brackets with the hook facing downwards.

- Secure the brackets with the fastening screw.

- Mount the radiator on the 2 upper wall brackets. Then fit the radiator onto the 2 lower wall brackets and finish tightening the 4 fixing screws.

CONTROL PANEL

OPERATION & PROGRAMMING
ON/STAND-BY
When in STAND-BY mode the radiator does not heat up, but the display will show the current time. Pressing the
button for 2 seconds switches the product on or puts it into STAND-BY mode. Press
for 2 seconds to switch the product on. When it is switched on for the first time, the time and day will flash. It’s important to configure these correctly in the next step.

Setting hour/day
The time and day must be set when you first switch the product on, or when the product is disconnected and reconnected from the power supply. It’s also possible to configure this by pressing the
MODE button for 5 seconds when the product is in STAND-BY. The display will show the word “SET” and then suggests changing the TIME and DAY of the week. The time is set by holding down the
INCREASE button until the current hour and minute value is reached. Click the
MODE button to confirm the clock setting and continue to the day setting.
The display will show the word “DAT” and then suggests the day of the week. D1 corresponds to Monday, D2 to Tuesday and so on. Use the
INCREASE button to set the current day of the week, e.g. if it’s Thursday press the
button 4 times until you reach D4. Press the
MODE button to confirm the day and exit the setting. Once the time has been set, it will stop flashing. If you product is in STAND-BY mode and you wish to turn it on, press the button for 2 seconds.

MANUAL modes
There are 4 Manual operating modes: Pilot Wire, Comfort, Night and Anti-Frost.
PILOT WIRE mode (only available on request)
The Pilot Wire is a special communication protocol that allows an external unit or control unit to control the radiator. It’s shown on the display by an arrow pointing to the house symbol. To activate Pilot Wire mode, press the
MODE key once. The message “FP” will appear briefly along with an acoustic signal.
IMPORTANT: This function is not available unless requested, even if it is displayed on the menu.

CONFORT mode
Comfort mode is shown on the display by an arrow pointing to the sun symbol and the Comfort temperature on the screen. To activate the Comfort mode, press the
MODE key once. The message “CON” will appear briefly along with an acoustic signal. You can set the desired temperature with the
INCREASE and
DECREASE buttons. The radiator remains on until the room reaches the selected temperature. This selected temperature is used during the WEEKLY PROGRAMMING mode (section 5.4) as the temperature set for the periods in Comfort mode.

NIGHT mode
Night mode is shown on the display by an arrow pointing to the moon symbol and the Night temperature on the screen. To switch from Comfort mode to Night mode, press the
MODE button again. The word “RID” will appear briefly along with an acoustic signal. You can set the desired temperature with the
INCREASE and
DECREASE buttons. This temperature does not depend on the Comfort temperature and is usually used to set a temperature below 19°C, which is ideal for a good nights sleep. This selected temperature is used during the WEEKLY PROGRAMMING mode (section 5.4.) as the set temperature for the periods in Night mode.

ANTI-FROST mode
Anti-Frost mode is shown on the display by an arrow pointing to the snowflake symbol and 7°C temperature on the screen. To switch from Night mode to Anti-Frost mode, press the
MODE button again. In this operating mode, the user cannot regulate the temperature as it remains fixed at 7°C. This mode prevents the room temperature from falling below 7°C.

AUTOMATIC modes
In Automatic mode, the product regulates the temperature according to the daily program created by the user, using the temperatures previously set in the Comfort and Night modes.
To switch from ANTI-FROST mode to PROGRAMMING mode, press the
MODE button again. The word “PRO” will appear on the screen with an arrow pointing to the clock symbol (located at the bottom right of the screen). In the “clock” section of the screen, the current time of day is displayed, only if the time and day of the week have been set correctly when the product is first switched on (section 5.2).

The programming schedule is displayed on the left side of the screen by a succession of lines that represent 24 hours of the day. An arrow at the top of the screen indicates the operating mode (Comfort or Night). The temperature selected for that mode is shown on the display. To modify the temperatures of the Comfort or Night modes, access the corresponding mode and then use the
INCREASE and
DECREASE buttons to modify the temperature parameters.

WEEKLY PROGRAMMING modes
In order to proceed to the weekly programming, you must:
- Have established the correct time and day of the week (section 5.2)
- Be in PROGRAMMING mode (press the
MODE button for 5 seconds until “PRO” appears on the screen. “FP” will appear first, then “PRO”.)
In this mode, it is possible to program each day of the week independently.
- Select the day with the
INCREASE and
DECREASE buttons (D1 = Monday, D2 = Tuesday, etc.). Press the
MODE button to confirm. All the time bands for the day will then be displayed. - The lower screen shows the time interval that must be programmed for each hour. Press
INCREASE to activate the Comfort mode temperature OR the
DECREASE to activate the Night mode temperature for that hour. Comfort mode is indicated by a strip on the sidebar. After each selection, the time interval will progressively advance (00h, 01h, 02h, 03h … ). - The strips will only been seen for the time bands that are active in Comfort mode.
- Once you have configured all hours of the day, press the 1§3 MODE button once and then select the remaining days you wish to program e.g. D2 – D7.
- Press the
MODE button for 5 seconds until the word “END” appears to save.
Example
Set the Comfort mode on Fridays from 7 am to 9 am, and from 5 pm to 9 pm keeping the rest of the day in night mode:
- Press for
5 seconds until “PRO” appears. - Choose Friday (D5) by pressing the
button 5 times and then press
to • The display will show the time bands (00h, 01 h, 02h, 03h etc.), starting from midnight onwards, which means that the first time slot is from midnight to one in the morning. - In this case, as you want to activate Night mode until 7am, press
7 times to program 00h – 07h as Night mode. If Night mode has been set at 15°C, the radiator will be activated at 15°C from midnight to 7am. - Now you can set the Comfort mode in the time band from 7am to 9am by pressing the
key twice. You will see this activation in the side strips. If Comfort mode has been set at 21 °C, the radiator will be activated at 21 °C from 7am until 9am. - Then set Night mode until 5pm by pressing
button 8 times. - Then set Comfort mode from 5pm to 9pm by pressing [±] 4 times.
- Then set the remaining hours (9pm – midnight) in Night mode by pressing
3 times. To confirm your programming, press
for 5 seconds until “END” appears.
MAINTENANCE & CLEANING
The product does not require regular maintenance. We do, however, recommend that all parts of the product are kept clean (behind, underneath, along the upper fins etc.). Clean the aluminium with a soft, damp cloth and pH-neutral soap. Clean the control panel with a soft, dry cloth.
WARNING:
Disconnect the product from the power supply and ensure product is at room temperature before any cleaning or maintenance. Do not use any abrasive product on the aluminium, such as (but not limited to) chemicals, rough cloths, hard bristled brushes or wire/steel wool.
EUROPEAN DIRECTIVE (WEEE) 2012/19/UE
Under the European Directive 2012/19/UE on Waste Electrical and Electronic Equipment (WEEE), this product cannot be treated as household waste. Instead it must be separated to optimize the recovery and recycling of all of the components and materials to reduce the impact on human health and the environment. The symbol of the container crossed out over a horizontal line is marked on all of ROINTE products to remind the consumer of the obligation to separate them on disposal. The consumer should contact their local authority or council office, or original point of sale to learn about the correct method of disposal for this product.
GUARANTEE
There are certain terms and conditions on this ROINTE product. These conditions comply with all the rights construed within national legislation, as well as any additional rights and guarantees, which are offered by ROINTE. Any incident you might detect with your product can be sorted by the product seller or by ROINTE. Please contact ROINTE by telephoning 0203 321 5929 or send an email to [email protected], through which we will instruct you on how to solve the incident. You will need to state the product reference and serial number (located on the metal tag with the product) and the type of incident when contacting ROINTE. In addition, please attach a copy of the product invoice and/or proof of purchase that indicates the date on which the product was sold.

Terms & conditions
- ROINTE guarantees there are no material defects of design or manufacture at the time of original purchase. ROINTE guarantees the aluminium body for 120 months and electric plus electronic components for 24 months for this product only, provided it has not been modified in any way.
- If during the guarantee period, the product does not work correctly under normal use, and any design, material or manufacturing defect is found, ROINTE will repair or substitute the product as it sees fit, in accordance with the terms and conditions as follows:
- The guarantee is only applicable if the original guarantee is issued by the seller and when the said guarantee has been registered with ROINTE correctly, including product reference, series number (marked on the product’s metal tag), purchase date and proof of purchase. The product guarantee can be registered on our website at www.rointe.co.uk or can be sent via email to [email protected] within 90 days of installation. ROINTE reserves the right to reject the guarantee when this information has been removed or modified after the original product purchase.
- The guarantee is only applicable if the product has been installed by a competent person in accordance with this installation manual and all current regulations at the time of installation.
- The guarantee is only applicable to those cases that concern material, design and manufacturing defects, and under no circumstances covers damage to the product for the following reasons:
- Damage caused by negligence and / or misuse of the product, i.e. used for other purposes that are not construed as its normal use or for not respecting instructions of use and maintenance given by ROINTE, as well as incorrect installation or use of the product that may not comply with the current technical standards of safety.
- Corrosion of any part of the product caused by direct exposure to salt-water. When the product is installed less than 200m from the coast, the guarantee period for damages caused by corrosion will be reduced by 50%.
- Any unauthorised modification of the product or repairs of the product carried out by third parties or unauthorised persons, or opening of the product by third parties or unauthorised persons.
- Any accidents that are deemed outside the control of ROINTE, such as (but not limited to): lightning, fires, floods, natural disasters, public disorder, atmospheric or geologic phenomena etc.
- Faults that result from incorrect installation. Guidance can be found from Rointe and in this installation manual. If in doubt, please contact ROINTE.
- Any repairs or substitutions completed as part of this guarantee service do not allow extension periods or new periods of guarantee i.e. your guarantee will not be extended should a repair or substitution of this product take place.
- Any repairs or substitutions covered under this guarantee must be parts that are functionally equivalent. The defective parts or parts removed or replaced shall become the property of ROINTE and should be returned as such.
- The product must be installed in a way that allows access for ROINTE technicians or authorised persons should they need to gain access to the product for maintenance or repair. The user/client is responsible for any costs or organisation required to provide access to the products for repair and/or substitution.
- The ROINTE Technical Support department will advise you if you need to purchase any parts not covered under this guarantee or out of guarantee.
- The ROINTE guarantee will be invalid if the product: has been modified, repaired and/or manipulated in any way and/or by unauthorised persons. This guarantee will also be invalid if the product is not correctly installed.
- This guarantee is not transferable and does not include claims due to damage by limescale or frost.
- Proof of purchase will be required by ROINTE for any claim.
- This guarantee does not affect your statutory rights.
- This guarantee does not affect the buyer’s legal rights stipulated in current national legislation, nor affects those rights against the distributor or installer that could come forth in 16 compliance with the purchase contract.
- In the absence of applicable national legislation, this guarantee shall prevail and may be construed as the buyer’s only protection. ROINTE, its offices, employees, distributors and installers will not be held responsible for any accidental damage that emerges due to infringement of any rules implicitly related to this product.
How to register your product guarantee
It’s important to register your ROINTE product as part of our guarantee service, in case you wish to make a claim. You can register your ROINTE product in the following ways:
WEBSITE
- Go to www.rointe.com/uk/register-your-guarantee/.
- Login to your existing account or create a new account if you need to.
- Click on “My products”.
- Enter your product reference (alphanumeric and in upper case).
- Enter your serial number (26 digits located on the metal tag on your product and starts with 843).
- Upload your proof of purchase, such as invoice in PDF, JPEG or PNG format. This is not mandatory but by doing so you ensure your guarantee period is accurate.
- Click “Register”. Congratulations! Your product is now registered.
- Send an email to [email protected] with the following information:
- Customer name
- Address and postcode
- Telephone number and email address
- Product reference (alphanumeric and in upper case)
- Serial number (26 digits located on the metal tag on your product and starts with 843)
- Product purchase date and proof of purchase (such as invoice)
- Our Technical Support team will confirm your product registration and request any additional information needed via email.
POST
- Post the information listed in the EMAIL section above to:
- INDUSTRIAS ROYAL TERMIC, S.L. t/a Rointe UK, C/E Parcela 43, 30140, Santomera (SPAIN)
- Please ensure you obtain proof of posting.
ERP DIRECTIVE (EU) 2015/1188

TECHNICAL SPECIFICATION



















