
USER MANUAL
REFRIGERATOR
KFSB 17191 NF X / KFSB 17191 NF B
CHAPTER 1: SAFETY WARNINGS
WARNING: RISK OF FIRE /FLAMMABLE MATERIALS
- This appliance is intended to home use only.
- This appliance is not intended for use by persons (including children) with reduced physical, sensory or mental capabilities, or lack of experience and knowledge, unless they have been given supervision or instruction concerning use of the appliance by a person responsible for their safety.) Children should be supervised to ensure thai they do not play with the appliance.
- If the supply cord is damaged, it must be replaced by the manufacturer, its service agent or similarly qualified persons in order to avoid a hazard.
- Do not stare explosive substances such as aerosol cans with a flammable propellant in this appliance.
- The appliance has to be unplugged after use and before carrying out user maintenance on the appliance.
WARNING:
Keep ventilation openings, in the appliance enclosure or in the built-in structure, elear of obstruction.
WARNING:
Do not use mechanical devices or other means to accelerate the defrosting process, other than those recommended by the manufacturer.
WARNING:
Do not damage the refrigerant circuit.
WARNING:
Do not use electrical appliances inside the food storage compartments of the appliance, u n less they are of the type recommended by the manufacturer.
WARNING:
Please abandon the refrigerator according to local regulators for it use flammable blowing gas and refrigerant.
WARNING:
When positioning the appliance, ensure the supply cord is not trapped or damaged.
WARNING:
Do not locale multiple portable socket-outlets or portable power supplies at the rear of the appliance.
WARNING:
Do not use extension cords or ungrounded (two-prong) adapters.
DANGER: RISK OF CHI ID ENTRAPMENT
Before you throw away your ald refrigerator or freezer:
- Take off the doors.
- Leave the shelves in place so thai children may not easily climb inside.
- The refrigerator must be disconnected from the source of electrical supply before attempting the installation of accessory.
- Refrigerant and cyclopentane foaming material used for the appliance are flammable. Therefore, when the appliance is scrapped, it shall be kepi away from any fire source and be recovered by a special recovering company with corresponding qualification other than be disposed by combustion, so as to prevent damage to the environment or any other harm.
- Children should be supervised to ensure that they do not play with the appliance.
- For EN standard: This appliance can be used by children aged from 8 years and above and persons with reduce physical sensory or mental capabilities or lack of experience and knowledge if they have been given supervision or instruction concerning use of the appliance in a safe way and understand the hazards involved. Children shall not play with the appliance. Cleaning and user maintenance shall not be made by children without supervision.Children aged from 3 to 8 years are allowed to load and unload refrigerating appliances.
To avoid contamination of food , please respect the following instructions:
- Opening the door for long periods can cause a significant increase of the temperatura in the compartments of the appliance.
- Clean regularly surfaces thai can come in contact with food and accessible drainage systems.
NOTE 1: Clean water tan ks if they have not been used for 48 h, flush the water system connected to a water supply if water has not been drawn for 5 days. - Store raw meat and fish in suitable containers in the refrigerator, so thai it is not in contact with or drip anto other food.
NOTE 2: Two-star frozen-food compartments are suitable for storing pre-frozen food, storing or making ice-cream and making ice cubes.
NOTE 3: One-star, two-star and three-star compartments are not suitable for the freezing of fresh food. - If the refrigerating appliance is lefl empty for long periods, switch off, defrost, clean, dry, and leave the door open to prevent mould developing within the appliance.
NOTE 1, 2, 3: Please confirm whether it is applicable according to your product compartment type.
WARNING:
To avoid a hazard due to instability of the appliance, it musi be fixed in accordance with the instructions.
WARNING:
Connect to potable water supply only. (Suitable for ice making machine)
To prevent a child from being entrapped, keep out of reach of children and not in the vicinity of freezer (or refrigerator). (Suitable for products with locks)
MEANING OF SAFETY WARNING SYMBOLS
Prohibition symbols
The symbols indicate prohibited matters, and those be haviors are forbidden. Non-compliance with the instructions may result in product damages or endanger the personal safety of users.
![]()
Warning symbols
The symbols indicate matters thai musi be followed, and those be haviors musi be strictly executed in line with the operation requirements. Non-compliance with the instructions may result in product damages or endanger the personal safety of users.
Note symbols
The symbols indicate matters to pay attention to, and these be haviors shall be specially noted. Due precautions are needed or minor or moderate injuries or damages of the product will be caused.
This manual contains lots of important safety information which shall be observed by the users.
ELECTRICITY RELATED WARNINGS
- Do not pull the power cord when pulling the power plug of the refrigerator. Please firmly grasp the plug and pull out it from the socket directly.

- Do not damage the power cord under any condition so as to ensure safety use, do not use when the power cord is damaged or the plug is warn.

- Warn or damaged power cord shall be replaced in manufacturer-authorized maintenance stations.

- The power plug should be firmly contacted with the socket or else fires might be caused. Please ensure thai the grounding electrode of the power socket is equipped with a reliable grounding line.
- Please turn off the valve of the leaking gas and then open the doors and windows in case of leakage of gas and other flammable gases. Do not unplug the refrigerator and other electrical appliances considering thai spark may cause a fire.

- To ensure safety, it is not recommended thai to place regulators, rice cookers, microwave ovens and other appliances on the top of the refrigerator, those recommended by the manufacturer are not included. Do not use electrical appliances in the food pan.

RELATED WARNINGS FOR USE
- Do not arbitrarily disassemble or reconstruct the refrigerator, nor damage the refrigerant circuit; maintenance of the appliance musi be conducted by a specialist.

- Damaged power cord musi be replaced by the manufacturer, its maintenance department or related professionals in order to avoid danger.
- The gaps between refrigerator doors and between doors and refrigerator body are small, be noted not to pul your hand in these areas to prevent from squeezing the finger. Please be gentle when open the refrigerator door to avoid falling articles.

- Do not pick foods or containers wilh wet hands in the freezing cham ber when the refrigerator is running, especially metal containers in order to avoid frostbite.
- Do not allow children to enter or climb the refrigerator to prevent that children are sealed in the refrigerator or children are injured by the falling refrigerator.

- Do not spray or wash the refrigerator; do not pul the refrigerator in moist places easy to be splashed with water so as not to affect the electrical insulation properties of the refrigerator.
- Do not place heavy objects on the top of the refrigerator considering that objects may fali when open the door, and accidental injuries might be caused.

- Please pull out the plug in case of power failure or cleaning. Do not connect the refrigerator to power supply within five minutes to prevent damages to the compressor due to successive starts.
WARNINGS RELATED TO PLACING ITEMS
- Do not put flammable, explosive, volatile and highly corrosive items in the refrigerator to prevent damages to the product or fire accidents.

- Do not place flammable items near the refrigerator to avoid fires.

- This product is household refrigerator and shall be only suitable for the storage of foods. According to national standards, household refrigerator shall not be used for other purposes, such as storage of blood, drugs or biological products.
- Do not place items such as bottled or sealed container of fluid such as bottled beers and beverages in the refrigerator to prevent bursts and other losses.

WARNINGS FOR ENERGY
- Refrigerator might not operate consistently when sited for an extended period of time below the cold end of the range of temperatures for which the refrigerator appliance is designed.
- The fact thai effervescent drinks should not be stored in low-temperature compartments or cabinets, and thai some products such as water ices should not be consumed too cold.
- The need to not exceed the storage time recommended by the food manufacturers for any kind of food and particularly for commercially quick-frozen food in food-refrigerator and frozen-food storage compartments or cabinets.
- The precautions necessary to prevent an undue rise in the temperatura of the frozen food while defrosling the refrigerating appliance, such as wrapping the frozen food in several layers of newspaper.
- The fact thai a rise in temperatura of the frozen food during manual defrosting, maintenance or cleaning could shorten the storage life.
- The necessily that, for doors or lids fitted with locks and keys, the keys be kepi out of the reach of children and not in the vici nity of the refrigerator appliance, in order to prevent children from being locked inside.
WARNINGS RELATED TO DISPOSAL
The refrigerator”s refrigerant and cyclopentane foam materials are combuslible materials and discarded refrigerators should be isolated from fire sources and can not be burned. Please transfer the refrigerator to qualified professional recycling companies for processing to avoid damages to the environment or other hazards.
Please remove the door of the refrigerator and shelves which shall be properly placed to avoid accidents of children entering and playing in the refrigerator.
CORRECT DISPOSAL OF THIS PRODUCT:
This marking indicates that this product should not be disposed with other household wastes. To prevent possible harm to the environment or human health from uncontrolled waste disposal, recycle it responsibly to promote the sustainable reuse of material resources. To return your used device, please use the return and collection systems or contact the retailer where the product was purchased.They can take this product for environmenlal safe recycling.
CHAPTER 2: PROPER USE OF REFRIGERATOR
PLACEMENT
Before using the refrigerator, remove all packaging materials including bottom cushions and foam pads and tapes inside the refrigerator, tear off the protective film on the door and the refrigerator body.

Keep away tram heat and avoid direct sunlight. Do not place the refrigerator in maist or watery places to prevent rusi or reduction of insulating effect.
The refrigerator should be placed in a well-ventilated indoor place; the ground shall be flat, and sturdy.

The top space of the refrigerator shall be greater than 30cm,and the distances tram bothsides and backside shall be mare than 10cm to facilitate heat dissipation.
LEVELLING FEET
Precautions before operation:
Before operation of accessories, it shall be ensured thai the refrigerator is disconnected from power. Before adjusting the leveling feet, precautions shall be taken to prevent any personal injury.
Schematic diagram of the levelling feet:
( The picture above is only for reference. The actual configuration will depend on the physical product or statement by the distributor)
Adjusting procedures:
- Turn the feet clockwise to raise the refrigerator.
- Turn the feet counterclockwise to lower the refrigerator.
- Adjust the right and left feet based on the procedures above to a horizontal level.
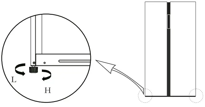
LEVELLING DOOR
Precautions before operation:
Before operation of accessories, it shall be ensured thai the refrigerator is disconnected from power. Before adjusting the door , precautions shall be taken to prevent any personal injury.
Schematic diagram of levelling the door body:
List of tools to be provided by the user:
- Wrench M10
(The picture above is only for reference. The actual configuration will depend on the physical product or statement by the distributor)
When the fridge door is low:
Open the door, use a wrench to loosen the locking nut and to rotate the adjusting nut anti-clockwise to raise the height of the door. Once the doors are aligned, then tighten the locking nut by rotating it anti-clockwise.
When the fridge door is high:
Open the door, use a wre n eh to rotate the adjusting nut clockwise to I ower the height of the door. On ce the doors are aligned, then tighten the locking nutby rotating it anti-clockwise.
CHANGING THE LIGHT
Any replacement or maintenance of the LED lamps is intended to be made by the manufacturer, its service agent or similar qualified person.
STARTING TO USE
Before initial start, keep the refrigerator stili for half an hour before connecling it to power supply.
Before putting any fresh or frozen foods, the refrigerator shall have run for 2-3 hours, or for above 4 hours in summer when the ambient temperature is high.
Spa re enough space for convenient opening of the doors and drawers.
The piciu re above is only for reference. The actual configuration will depend on the physical product or statement by the distributor
ENERGY-SAVING TIPS
- The appliance should be located in the cool est area of the room, away from heat-producing appliances or heating ducts, and out of the direct sunlight.
- Let hot foods cool to room temperature before placing in the appliance. Overloading the appliance forces the compressor to run longer. Foods hai freeze tao slowly may lase quality, or spoil.
- Be sure to wrap foods properly, and wipe containers dry before placing them in the appliance. This cuts down on frost build-up inside the appliance.
- Appliance storage bin should not be lined with aluminum foil, wax paper, or paper toweling. Liners interfere with cold air circulation, making the appliance less efficient.
- Organize and label food to reduce door openings and extended searches. Remove as many items as needed at one time, and close the door as soon as possible.
CHAPTER 3: STRUCTURE AND FUNCTIONS
KEY COMPONENTS
(The piceture above is only for reference. The actual configuration will depend on the physical product or statement by the distributor)
Refrigerating cham ber
- The Refrigerating Chamber is suitable for storage of a variety of fruits, vegetables, beverages and other food consumed in the short term. ·
- Cooking foods shall not be pul in the refrigerating chamber until cooled to room temperature.
- Foods are recommended to be sealed up before putting inio the refrigerator.
- The glass shelves can be adjusted up or down for a reasonable amount of storage space and easy use.
Freezing chamber:
- The low temperature freezing chamber may keep food fresh for a long time and it is mainly used to stare frozen foods and making ice.
- The freezing cham ber is suitable for storage of meat, fish, rice balls and other foods not to be consumed in short term.
- Chunks of meat are preferably to be divided inio small pieces for easy access. Please be noted food shall be consumed within the shelf time.
- The temperature should be set to ,,quick-freeze”, when you want to refrigerate foods quickly.
NOTE:
Storage of too much food during operation alter the initial connection to power may adversely affect the freezing effect of the refrigerator. Foods stored shall not block the air outlet; or otherwise, the freezing effect will also be adversely affected.
FUNCTIONS
(The piceture above is only for reference. The actual configuration will depend on the physical product or statement by the distributor)
DISPLAY
- Refrigerating compartment temperature
- OFF icon
- Super cool icon
- Super freeze icon
- Freezer compartment temperature
- Lock /unlock icon
- Vacation icon
BUTTON OPERATION
A. Refrigerating compartment temperature adjustment
B. Freezer compartment temperature adjustment
C. Mode function
D. Vacation setting
E. Lock/unlock control
OPERATION
Lock /unlock
- In the unlocked state, long press the lock button
for 3 seconds, enter the lock state, The icon
lighis up, it means the display panel is locked, at this time, button operation can not be implemented. - In the locked state, long press the lock button
for 3 seconds, enter the unlocked state, The icon
go out, it means the display panel is unlocked, at this time, button operation can be implemented.
Vacation made
- Press the button after locking.
to enter the vacation made. Icon
lighis up, the vacation made will start
Super cool made
- Press the button after locking.
to enter the Super cool made. I con, lights up, the Super cool made will start Super freeze made · Press the button start after locking.
Super freeze made
- Press the button
to enter the Super freeze made. I con lights up, the Super freeze made will start after locking.
Temperature setting of refrigerating chamber
- Press temperature adjusting button of the refrigerating chamber
refrigerating cham ber region will make flashing indication. Then press the button again to set the temperature, and will hear one beep. Setting scope is bel ween 2°C and 8°C. Every time you press the button, the temperature will change 1°C. After adjusting, the digital tube will keep flashing for 5 seconds. New temperature setting will come inio effect after locking. - Press temperature adjusting button of the freezing chamber
freezing cham ber region will make flashing indication. Then press the button again to set the temperature, and you will hear one beep. Setting scope is bet ween -16°C and -24°C. Every time you press the button, the temperature will change 1°C. Afler adjusting, the digital tube will keep flashing for 5 seconds. New temperature setting will come inio effect after locking.
Storage upon power failure
- In case of power failure, the instant working state will be locked and maintained till re-electrification.
Opening warning and alarm control
- When the refrigerator doors get open, the opening music will play. lf the door is not closed in two minutes, the buzzer will sound once every second till the door is closed. Press any button to stop the buzzer alarm.
Fault indication
- The following warnings appearing on the display indicate corresponding faults of the refrigerator. Though the refrigerator may stili have cold storage function with the following faults, the user shall contact a maintenance specialist for maintenance, so as to ensure optimized operation of the appliance.
| FAULT CODE | FAULT DESCRIPTION |
| E1 | Temperature sensor failure of refrigerating chamber |
| E2 | Temperatura sensor failure of freezing chamber |
| E5 | Freezing defrost sensor detection circuit error |
| E6 | Communication error |
| E7 | Ambient temperatura sensor error |
CHAPTER 4: MAINTENANCE AND CARE OF THE APPLIANCE
CLEANING ·
- Dusts behind the refrigerator and on the ground shall be timely cleaned to improve the cooling effect and energy saving.
- Check the door gasket regularly to make sure there are no debris. Clean the door gasket with a soft cloth dampened with soapy water or diluted detergent.
- The interior of the refrigerator should be cleaned regularly to avoid odor.
- Please turn off the power before cleaning interior, remove all foods, drinks ,shelves, drawers, etc.
- Use a soft cloth or sponge to clean the inside of the refrigerator, with two tablespoons of baking soda and a quart of warm wa ter. Then rinse with water and wipe clean. After cleaning, open the door and let it dry naturally before turning on the power.
- For areas thai are difficull to clean in the refrigerator (such as narrow sandwiches, gaps or corners), it is recommended to wipe them regularly with a soft rag, soflbrush, etc. and when necessary,combined with some auxiliary tools (such as thin sticks) to ensure no contaminants or bacterials accumulation in these areas.
- Do not use soap, detergent, scrub powder, spray cleaner, etc., as these may cause odors in the interior of the refrigerator or contaminated food.
- Clean the bottle frame, shelves and drawers with a soft cloth dampened with soapy water or diluted detergent. Dry with a soft cloth or dry naturally.
- Wipe the outer surface of the refrigerator with a soft cloth dampened with soapy water, detergent, etc., and then wipe dry.
- Do not use hard brushes, clean steel balls, wire brushes, abrasives(such as toothpastes), organie solvents (such as alcohol, acetone, banana oil, etc.), boiling water, acid or alkaline items, which may dam age the cooler surface and interior. Boi ling water and organie solvents such as benzene may deform or damage plastic parts.
- Do not rinse directly with water or other liquids du ring cleaning to avoid short circuits or affect electrical insulation after immersion.
Please unplug the refrigerator for defrost and cleaning.
CLEANING OF DOOR TRAY
- According to the direction arrow in the figure below, use both hands to squeeze the tray, and push it upward, then you can take it out.
- After washing the tray having been taken out, you can adjust its installing height in accordance with your requirement.
(The piceture above is only for reference. The actual configuration will depend on the physical product or statement by the distributor)
CLEANING OF GLASS SHELF
- As the innermost part of the re frigerator liner where contacting the shelves has a backstop, you shall raise the shelves upward, then you can be able to take it out.
- Adjust or clean the shelves according to your requirement.
(The piceture above is only for reference. The actual configuration will depend on the physical product or statement by the distributor)
DEFROST
Refrigerator shall be manually defrosted.
Disconnect the plug from the wali socket, open the door and remove all the food to a cool place. It is recommended to remove the frost by a plastic scraper, or let the temperature rise naturally until the frost melts. Then wipe away the remaining ice and water, and plug in socket for switching on the freezer.
Other mechanical devices or other means shall not be used to accelerate except those recommended by the manufacturer. Do not damage the refrigerant circuit.
STOP USING
Power failure: Foods can be preserved for a couple of hours even in sum mer in case of power failure. It is recommended to reduce the frequency of opening door and do not pul fresh foods inio the refrigerator.
Long-time nonuse: Please unplug the refrigerator left unused for a long time for cleaning. Keep the door open to avoid the bad odor.
Moving: Do not turn upside or vibrate the refrigerator, the carrying ang le can not be greater than 45 °. Do not hold the door and hinge when moving this unit.
Continuous operation is recommended when the refrigerator is started. Please do not stop the refrigerator under normal circumstances so as not to affect the refrigerator’s service life.
CHAPTER 5: TROUBLE SHOOTING
The following simple issues can be handled by the user. Please call the after-sale service department if the issues are not settled.
| FAULT | SOLUTION |
| Inoperation | Whether the refrigerator is plugged and connected to power. |
| Low voltage. | |
| Whether temperature control knob is in the work area. | |
| Failure power or tripping circuit. | |
| Odor | Odorous foods should closely wrapped. |
| Whether foods are rotten. | |
| Whether the interior shall be cleaned. | |
| Long-term operation of compressor | It is normal thai refrigerator operates for longer time in summer when the ambient temperature is higher. |
| Do not pul too much food in the refrigerator at one time. | |
| Do not pul foods until they are cooled. | |
| Frequent opening of refrigerator door. | |
| Thick frost layer (defrost is needed). | |
| rhe refrigerator door can not be properly closed | The refrigerator door is stuck by food packages. |
| Too much food. | |
| Unbalanced refrigerator. | |
| Loud noises | Whether the floor is fiat, whether the placement of refrigerator is stable. |
| Whether the refrigerator accessories are properly placed. | |
| Transient difficulty in door opening | After refrigeration, there will be pressure difference between the inside and outside of the refrigerator to result in transient difficulty in door opening. This is a normal physical phenomenon. |
| Refrigerator enclosure heat Condensation | The refrigerator enclosure may emit heat du ring operation specially in summer, this is caused by the radiation of the condenser, and it is a nomia I phenomenon. |
| Condensation: condensation phenomenon will be detected on the exterior surface and door seals of the refrigerator when the ambient humidity is large. this is a normal phenomenon. and the condensation can be wiped away with a dry towel. | |
| Airflow sound Buzz Clatter | Refrigerants circulating in the refrigerant lines will produce eruption of sound and grunts which is normal does not affect the cooling effect. |
| Buzz will be generated by running compressor specially when starting up or shutting down. | |
| The solenoid valve or electric switch valve will clatter which is a normal phenomenon and does not affect the operation. |
CHAPTER 6. DISPOSAL OF USED EQUIPMENT

This device has been designed and manufactured of high-quality reusable materials and components. The symbol of the crossed waste container placed on the product (Fig. A) means that the product is subject to selective collection in accordance with the provisions of Directive 2012/19/EU of the European Parliament and of the Council. A crossed-out wheelie bin symbol (Fig. B) placed on the product means that the product contains batteries that are subject to separate collection in accordance with the provisions of Directive 2006/66/EC of the European Parliament and of the Council. Such marking informs that electrical and electronic equipment and batteries (if any) must not be disposed of with other household waste after the period of use. The user is obliged to return waste equipment and batteries (if any) to collection points for waste electrical and electronic equipment and batteries (if any). Collectors of such waste, including waste equipment collectors, treatment plants, distributors (shops), municipal waste separate collection points (municipal units), and other entities specified by law form an appropriate system to return this kind of equipment. Correct disposal of waste equipment and batteries (if any) allows avoiding consequences that may be harmful to health and the environment, caused by the possible presence of hazardous components in the equipment and batteries, and inappropriate storage and processing of such equipment and batteries. Households play an important role in contributing to the reuse and recovery, including recycling, of waste equipment. At this stage, attitudes are formed, affecting the common good, which is a clean natural environment. Moreover, households are one of the largest users of small equipment and the rational management thereof at this stage affects the recovery of secondary raw materials. Penalties may be imposed in accordance with national legislation for improper disposal of this product. If the device has a lock, please remove it for the safety of all persons who may later come into contact with the device. Some refrigerators and freezers contain insulation material and CFC refrigerant. Therefore, be careful not to pollute the environment when you dispose of your old refrigerator.


























