STIRLING FS1-40DCWIFI 40cm DC Pedestal Fan with Wi-Fi Control

Welcome
Congratulations on choosing to buy a STIRLING® product. All products brought to you by STIRLING® are manufactured to the highest standards of performance and safety and, as part of our philosophy of customer service and satisfaction, are backed by our comprehensive 2 Year Warranty. We hope you will enjoy using your purchase for many years to come.
Warranty Details
REGISTER YOUR PURCHASE AT www.aldi.com.au/en/about-aldi/product-registration/ TO KEEP UP-TO-DATE WITH IMPORTANT PRODUCT INFORMATIONThe product is guaranteed to be free from defects in workmanship and parts for a period of 24 months from the date of purchase. Defects that occur within this warranty period, under normal use and care, will be repaired, replaced or refunded at our discretion. The benefits conferred by this warranty arein addition to all rights and remedies in respect of the product that the consumer has under the Competition and Consumer Act 2010 and similar state and territory laws. Our goods come with guarantees that cannot be excluded under the Australian Consumer Law. You are entitled to a replacement or refund for a major failure and to compensation for any other reasonably foreseeable loss or damage. You are also entitled to have the goods repaired or replaced if the goods fail to be of acceptable quality and the failure does not amount to a major failure.
General Safety Instructions
IMPORTANT SAFETY INSTRUCTIONS READ CAREFULLY AND KEEP FOR FUTURE REFERENCE
Read this manual thoroughly before first use, even if you are familiar with this type of product. The safety precautions enclosed herein reduce the risk of fire, electric shock and injury when correctly adhered to. Keep the manual in a safe place for future reference, along with the completed warranty card, purchase receipt and carton. If applicable, pass these instructions on to the next owner of the appliance. Always follow basic safety precautions and accident prevention measures when using an electrical appliance, including the following:
Electrical safety and cord handling
- Voltage: Make sure your outlet voltage and circuit frequency correspond to the voltage stated on the rating label. If this is not the case, do not use the fan.
- Water: To protect against fire and electric shock, do not immerse the AC adaptor, cord, plug or the fan itself in water or other liquid, or expose the electrical connections to water. Ensure your hands are dry before handling the plug or switching on the fan. Do not use the fan outdoors or on wet surfaces. Protect it from liquid spills.
- Damage: Check the power cord regularly for visible damage. If the adaptor cord is damaged, it must be replaced by the manufacturer, its authorised service agent or appropriately qualified personnel in order to avoid a hazard. WARNING! Do not pick up or operate the fan if the AC adaptor, cord, plug or housing is damaged, or after it malfunctions or has been dropped or damaged in any manner. In case of damage, contact our after sales support centre.
- Protect the adaptor and power cord:
- Do not operate the fan with the AC adaptor’s power cord coiled up; always fully unwind.
- Do not twist or kink the cord or let it touch heated surfaces or sharp edges.
- Do not allow the cord to hang over the edge of a table or bench.
- Do not put any stress on the cord where it connects to the product.
- Never carry the fan by the cord.
- Arrange the cord away from any traffic area so no one will trip over it.
- Do not run the cord under carpeting or cover it with rugs or runners. In the event of danger, the plug must be quickly and easily accessible.
- WARNING! No extension cord, no timer: Do not use this fan with an extension cord, plug adaptor, external timer or separate speed control device. Plug the AC adaptor straight into an appropriate electrical outlet.
- Connection: To connect the fan to the power supply, insert the AC connector into the socket at the back of the appliance, then insert the power plug firmly into an appropriate electrical outlet.
- Disconnection: Unplug the fan from the power outlet when it is not in use and before cleaning, servicing, moving or storing the appliance. Grasp the plug and remove it from the outlet, do not pull the cord when disconnecting.
- Guard removal: Ensure the fan is disconnected from the power supply before removing a front or rear guard (grille).
- RCD: Unless your home is already fitted with a residual current device (safe-ty switch), we recommend installing an RCD with a rated residual operating current not exceeding 30 mA to provide additional safety protection when using electrical appliances. See your electrician for professional advice.
Usage conditions and restrictions
- Domestic use only: This appliance is intended for indoor household use only. It is not suitable for commercial, industrial or outdoor use. Do not use it for anything other than its intended purpose, and only use it as described in this manual. Any other use may cause fire, electric shock or injury.
- No clothes drying: Do not use this fan as a dryer.
- Attachments: The use of accessory attachments not recommended by the appliance distributor may result in fire, electric shock or personal injury.
- Usage restriction: This fan is not intended for use by persons (including children) with reduced physical, sensory or mental capabilities, or lack of experience and knowledge, unless they have been given supervision or instruction concerning use of the appliance by a person responsible for their safety.
- Children: This fan is not a toy. Supervise children to ensure they do not play with it. Close supervision is necessary when any appliance is used by or near children.
- WARNING! Do not leave unattended during use. Always switch it off and unplug when not in use, if left unattended and before cleaning and storing.
- Assembly: Do not attempt to operate the fan until fully assembled with all parts. Do not use the appliance without the protective grilles (rear and front guards). Do not attempt to force the grille in order to stop or start the fan.
- Location: Place the fan on a dry, flat, stable surface to avoid overturning.
- Keep the top clear: Do not place anything on top of fan.
- Airflow openings: Ensure nothing is blocking the airflow outlet and air intake grilles. Do not insert foreign objects into any opening as this may cause electric shock and/or a fire hazard. Clean the appliance regularly to avoid dust accumulation on opening grilles.
- WARNING! DO NOT use the fan in the following areas:
- near an open flame, a hot burner, oven or near other sources of high heat
- on a soft surface (such as carpet) or where it may tip over during use
- outdoors or in areas of high humidity without suitable ventilation (such as in a bathroom, laundry area, near a sink, washer, pool or any source of water)
- near curtains or drapes as they may be sucked into the fan and cause an electrical hazard
- in areas where paint, petrol, etc. is stored and there is a risk of explosion or fire from flammable gases, or in areas where substances are being sprayed.
- CAUTION! Personal safety: Avoid contact with moving parts. Never insert fingers, pencils or any other objects through the grilles when the fan is running, as this may cause electric shock and/or a fire hazard. Keep hair and loose clothing well away from the fan when it is in use.
- Misuse of the product can result in personal injury or damage to property. We accept no liability for any damages or personal injury caused by misuse of the product and/or failure to follow these instructions.
Product Overview
Scope of delivery Assembled fan

- Guard ring
- Front and rear guards (grilles)
- Fan blade
- Extension pole
- Height adjustment knob (at the back, not visible here)
- LED display
- Control panel
- DC socket (at the back, not visible here)
- Base tube
- Remote control (2x AAA batteries packed separately)
- Weighted base
- AC adaptor and cord
Documentation
(not shown) Instruction manual Quick start guide Warranty certificate
NOTE: Due to continued product improvement, images and illustrations in this manual may vary slightly from the product purchased. All images in this manual are for reference purposes only. Parts are not necessarily pictured to scale.
Control panel and remote control buttons


- SPEED button
- POWER button
- TIMER button
- SWING button
- MODE button
- ON button
- MODE button
- PEED + button
- SPEED – button
- TIMER + button
- TIMER – button
- SWING button
- OFF button
Getting Started
Unpacking
- This product has been packaged to protect it against transportation damage. Unpack the appliance and keep the original packaging carton and materials in a safe place. It will help prevent any damage if the product needs to be transported in the future, and you can use it to store the appliance when it is not in use. In the event that the packaging is to be disposed of, please recycle it where possible.
- Plastic wrapping can be a suffocation hazard for babies and young children, so ensure all packaging materials are out of their reach and disposed of safely.
- Unwind the cord to its full length and inspect it for damage. Do not use the appliance if the appliance or its cord have been damaged or are not working properly. In case of damage, contact our after sales support centre for advice on examination, repair or return of the damaged product.
- Make sure you have read and understood all instructions and warnings in this manual. Refer to the product overview (pages 8–9) and parts illustrations (pages 11–12) to familiarise yourself with the product and identify all parts. Pay particular attention to the safety instructions on the previous pages.
Remote control preparation
- The fan comes with a remote control, which is powered by two AAA batteries (supplied separately). Slide out the battery cover with your thumb on the mark at the back of the remote control. Insert the batteries following the polarity symbols (+/-), then replace the cover to the battery compartment.
- When replacing batteries, always replace all batteries with new ones of the same size and type. Do not mix old and new batteries. Do not mix alkaline, standard (carbon-zinc), or rechargeable (NiCd, NiMH) batteries. Do not open or short-circuit batteries.
- If the remote control will not be used for a long period of time, remove the batteries from the battery compartment to avoid leakage which can damage the remote control.
- Assembly: Your new fan has been shipped partially assembled to reduce wastage of packaging material, paper cartons and weight. The illustrations in the assembly sections show how all the parts fit together.
WARNING:
Electric shock hazard! Do not plug the power supply cord into an electrical outlet until the fan is fully assembled.
Assembling the fan body and base

Using Fig. 1, above, to guide you, assemble the fan as follows:
- Loosen the screw from the tube and connect the tube with the main body, then fasten the screw.
- Assemble the main body into the cover tube and connect the two pieces.
- Remove the lock nut from the tube. Turn the base parts over, place the silver-coloured cover on top, then place the base parts over the tube. Affix the fan body to the base using the lock nut at the underside of the weighted base, tightening it securely.
- Tighten the height adjustment screw at a comfortable height for attaching the fan head.
Assembling the fan head
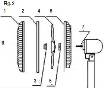
Using Fig. 2, below, to guide you, assemble the fan head as follows:

- Front guard
- Guard ring
- Blade cap
- Blade
- Guard nut
- Rear guard
- Motor shaft
- Decorative front plate
- The motor shaft has the blade cap and guard nut attached. Remove the cap by turning it clockwise. Then remove the nut by turning it anticlockwise.
- Place the rear guard on the front of the motor housing, lining up the two positioning knobs on the front of the motor housing with the holes in the rear guard. Push the guard in firmly until the two knobs protrude through the holes. Secure the rear guard by reattaching the guard nut and turning it clockwise to tighten.
- Slide the blade onto the motor shaft, making sure to match the protrusions on the shaft with the slots in the blade. Tighten the blade with the blade cap, turning it anticlockwise to tighten it securely.
- Test the fan by rotating the blade with your hands, making sure that there is no contact with the nut. The fan blade should rotate freely.
- If the decorative front plate is covered with a plastic film, remove the film.
- The front and rear guard are held together with a guard ring, which has two grooves, one for each of the guards. Slightly loosen the large screw at the bottom of the ring and ensure the edge of the guard sits in the appropriate groove, all around the rear guard. Then fit the front guard against the rear guard and ensure that the edge sits properly in the other groove. Retighten the screw to secure the guards together.
Instructions
- Place the fan on a dry, level surface.
- Insert the appliance plug of the AC adaptor in the DC socket at the back of the fan body. Then plug the power plug into an appropriate electrical outlet and switch on the power to the outlet. All available settings options will be illuminated briefly on the control panel.
- For remote control operation, please ensure the remote control contains two AAA size batteries.
Remote control or control panel operation
This fan is equipped with 15 step speed control, 3 breeze modes, a 10 hour timer and a remote control. For your convenience, all functions can be operated with the remote control, or with the buttons on the control panel on the main fan body. You can also control the fan remotely with your mobile device using the fan’s in-built Wi-Fi module; please refer to pages 15 to 22 for instructions.
Switching on/off
Press the ON / button to switch on the fan. When first switched on, the fan will start blowing air at the lowest fan speed (1). On subsequent uses it will start at the previously selected fan speed. During operation, press the OFF / button to set the fan to standby.
Selecting a fan speed
Press the SPEED+/- / SPEED button(s) to increase/decrease the fan speed in 15 steps.
Mode selection
Press the MODE button to change the fan mode through different breeze modes.
- Normal: In this mode the fan operates at a constant speed. (The mode indicator shows the fan icon.)
- Natural: In this mode the fan simulates a natural breeze mode by cycling on and off, as in nature. (A palm tree indicates Natural mode.)
- Sleep: In this mode the fan simulates a soft, natural breeze suitable for night-time use. (A half moon indicates Sleep mode.)
Timer operation
Press the TIMER / TIMER +/- button(s) to set the timer in half-hour increments up to a maximum of 10 hours. The set time (number of hours) will appear on the LED display. After the timer expires, the fan will automatically shut off.
Oscillation
Press the SWING button to activate the oscillation function for left/right breeze distribution (Fig. 3). To stop oscillation, press the button again when the fan head is in the desired position.

Tilting the fan head
The fan head can be tilted so that the breeze is targeted at an angle. To tilt the fan head, make sure the fan is disconnected from the power supply. Grip the motor housing and carefully tilt the fan head downward until it reaches the desired angle. Only a soft touch is needed to adjust the fan head position.
CAUTION: Do not tilt back the fan head further than it is intended to go. Doing so will damage the unit.
Wi-Fi Control
This STIRLING 40 cm DC pedestal fan features Wi-Fi technology, which enables you to control the appliance remotely from wherever you are — at work, at play or on the go — so that on your arrival at home the room temperature is comfortable. The DC pedestal fan works in conjunction with your mobile device, using your home Wi-Fi network router to communicate with the fan. Controlling the DC pedestal fan remotely is very easy. You will need:
- an Android smartphone or an Apple iPhone
- an internet connection at your home
- a Wi-Fi network router set up at home.
You must also have our STIRLING App installed or updated on your smartphone or iPhone. This app is available from Google Play Store or Apple App Store.
Initial set-up
Upon installation of your new DC pedestal fan, or when you have changed your mobile device or wireless router, you will have to set up the communication channel between the devices. In order to do this, make sure you have the STIRLING App installed or updated on your mobile device, your Wi-Fi router is switched on and your mobile device connected to your home Wi-Fi network.
- On your mobile device, tap on the [ STIRLING ] app (Fig. WF1). It will open and take you to the Login Page (Fig. WF2).

- Before you log in, please tap [ Register ] and register your account using your email account (Fig. WF3, WF4).

- NOTE: If you do not want to create an account, you may also continue as a guest. To log in as a guest, tap [ Try now ] (Fig. WF5), then tap [ Continue ] (WF6). (Some app features may not be available without log in.)

- Once you have registered and entered your email address, tap [ Get Verification Code ] and an email will be sent directly to the email account that you entered when registering. Enter this verification code.
- Now you have to enter your password and tap [ Done ] (Fig. WF7).
- You will now enter the main device list (Fig. WF8). Tap [ + ] or [ Add Device ] and add your device from the product list (Fig. WF9).


IMPORTANT!
Before you can control your fan remotely with its in-built Wi-Fi technology, you must reset the Wi-Fi module. To do so, proceed as follows:
- Unplug the fan for 10 seconds, then reconnect the power supply.
- To reset the Wi-Fi module, press the SWING button on the fan’s control panel and hold it for 5 seconds until it beeps.
- When the Wi-Fi indicator on the control panel is blinking rapidly (WF10), the Wi-Fi module is ready for configuration with your mobile phone.
On your mobile device, enter your Wi-Fi name and password, then tap [ Next ] (WF11). Tap [ Confirm indicator rapidly blinks ], then tap [ Next ] (WF12). The message “Adding device” will appear on the screen (Fig. WF13).

- On completion, you can name your device. Tap [ Done ].
- You will return to the Device list and your device will be shown (Fig. WF14).
- Click on the device name and it will take you to the main control page (Fig. WF15).

- If the device is not responding and you get the following message, you can try to switch the pairing mode (Fig. WF16). Click [ Switch Pairing Mode ] and then follow the prompts (WF 17, WF18).

- After you have confirmed your Wi-Fi network and password, connect your mobile phone to the device’s hotspot (WF19, WF20), then go back to the app and continue to add the device.

Device sharing
- The device only recognises ONE registered user. But you can share access to the device with other members of your household if they have the STIRLING app installed and updated on their phone. To share the device, proceed as follows:
- On the device’s main control page, click the edit symbol in the top right corner (WF21). Then select [ Share Device ] (WF22) and follow the prompts (WF23, WF24).

Adding the STIRLING app to your Google Home app
- Open your Google Home app. (Before you can link your STIRLING App to your Google Home app you will have to have a Google Home account set up.)
- From the home screen of the Google Home app, tap [ Add ].
- Tap [ Set up device ], then tap [ Have something already set up? ] under the “Works with Google” banner.
- Using the magnifying glass icon, search for Stirling.
- Tap the [ Stirling ] app and enter your Stirling account details and password, then tap [ Sign in ].
Adding the STIRLING app to your Alexa account
- Before you can link your STIRLING App to your Alexa account you will have to have an Alexa account set up.
- From the home screen of the Alexa app, tap the three bars in the top left hand corner. Tap Skills & Games, then use the magnifying glass icon to search for Stirling.
- Select the Stirling app. Ensure you have followed the steps listed, then select [ Confirmed ] and tap [ Next ]. Enter your Stirling account details and password, then tap [ Sign in ].
These instructions for adding the STIRLING App are of a general nature only. Detailed steps or specific messages from your Google Home or Alexa account may vary depending on the version.
Smartphone and Wi-Fi specification requirements
Minimum smartphone specifications
Android 5.0 version or later IOS 9.0 version or later Wireless network requirements of the Wi-Fi module
| Frequency band | 2.412 GHz to 2.484 GHz |
| Wi-Fi standard | IEEE 802.11 b/g/n (channels 1 to 14) |
| Data transmission rate | 802.11b: 1, 2, 5.5 or 11 (Mbits/s) 802.11g: 6, 9, 12, 18, 24, 36, 48 or 54 (Mbits/s) 802.11n: HT20 MCS0 to MCS7 |
| Antenna type | PCB antenna with a gain of 2.0 dBi |
Wi-Fi troubleshooting
| Problem | Possible cause and solution |
|
During the set-up, the fan cannot be configured successfully. | Check and ensure you have internet reception and your mobile phone and the fan are connected to the same Wi-Fi network. |
| Check and ensure your Wi-Fi password is correct. | |
| Check and ensure that no firewalls or other restrictions are set. | |
| Check and ensure that the router works normally — check the network requirements. | |
| Ensure that the fan, router and mobile are all on the same Wi-Fi network and within the signal range. | |
|
I cannot control the fan with my mobile. | If a message is displayed to alert you to an identification failure, the fan has been reset and the mobile phone lost control permission. You need to reconnect the phone to the fan, following the set-up instructions in this manual. If after these steps you still cannot control the fan with your mobile, please delete the fan from your device list and reconnect again. |
|
My mobile phone cannot find the fan. | If a message is displayed to alert you that the device is offline, please check and ensure that your fan is connected to your mains supply and power is switched on at the outlet. Also ensure that your router is connected to the mains supply and that the router and your mobile phone are properly connected to your Wi-Fi network. |
Frequently Asked Questions
If your fan fails to operate, or you experience any other problem with the appliance, check in the list of questions below for possible causes and solutions to common problems. Many problems can easily be solved without the need for a service call. If the suggestions below do not help you solve the problem, please contact our after sales support centre for advice or to arrange a service. Before phoning for a service, please ensure that your fan is properly assembled and connected to your power supply.
- What are the differences between the speed and breeze modes?
The SPEED button lets you set the fan blade speed. The MODE button lets you determine the type of breeze: Normal, Natural (a combination of different types) and Sleep, a softer breeze for night-time use. - How can I tilt the fan head up or down?
Make sure the fan is disconnected from the power supply. Grip the motor housing and carefully tilt the fan head until it reaches the desired angle. Only a soft touch is needed to adjust the fan head position. Do not tilt the fan head further than it is intended to go. - The fan does not work although it is properly connected and the outlet is working.
Check and ensure that the front and rear guards are clean. Use a clean and dry brush to clean any dust or dirt off the openings, if necessary. Also ensure that nothing is blocking the air intake at the back. If it still fails to operate, please contact our after sales support centre. - Does the appliance need to be disassembled for storage?
No, it does not need to be disassembled, but doing so means you can easily store it in its original box, where it will be protected from dust until the next season. If you have the space to store the appliance fully assembled, place a large plastic bag or piece of material over the top of the cleaned appliance for dust protection.
Other Useful Information
WARNING!
- Before cleaning, maintenance or moving the fan, and before removing a front or rear guard, switch off the fan and disconnect it from the power source.
- Do not immerse the fan in water or other liquids. Do not spray it with liquids. Do not allow water to drip on or into the fan motor housing.
- Never use petrol, solvents, harsh detergents, or abrasive or alkaline cleaners on the fan.
Cleaning and maintenance
- Dusting: Clean your fan periodically by lightly running a vacuum cleaner nozzle (soft brush) over the front and rear grilles to remove any dust or dirt that may have accumulated inside or on the unit. Alternatively, use a soft, dry cloth for dusting.
- Stubborn stains: Use a slightly damp, soapy cloth for stubborn stains but be sure the cloth is not too wet. Use caution around the motor housing and control panel areas. Do not allow the motor or other electrical components to be exposed to water.
- End of season cleaning: When you have finished using the fan at the end of the season, unplug it and wipe off any dust to maintain it in good working order for the next season. Disassemble the front guard and remove the fan blade. Plastic parts should be cleaned using a mild detergent and a damp cloth or sponge. The front and rear guards can be cleaned using a damp cloth. Dry thoroughly before reassembly.
- Storage: When storing your fan in the off season, make sure to disassemble and clean the fan before storing. Follow the assembly instructions in reverse order. It is important to keep the fan in a safe, dry location, protected from dust. We recommend using the original carton for storage. If you want to store the appliance fully assembled, place a large plastic bag or piece of material over the top of the cleaned appliance for dust protection.
Service, repair and spare parts
- The appliance requires no maintenance and contains no user-serviceable parts. Do not attempt to take the motor housing apart, repair or modify it.
- If the appliance is damaged, or when it is working abnormally, do not operate the fan or attempt to repair it yourself. The appliance must only be repaired by trained personnel. Contact our after sales support centre for advice on repair or replacement.
- Our after sales support centre stocks spare remote controls for the pedestal fan. To purchase a remote control, call the centre on 1300 112 534 or email us at [email protected].
Technical specifications
| Pedestal fan model | FS1-40DCWIFI |
| Rated power | 35 W |
| Rated voltage | 24 V |
| Design | Pedestal stand with round base and DC motor |
| Timer | 10 hour timer |
| Remote control | Yes, powered by 2 AAA batteries (included) |
| Dimensions (approx.) | (H)1280 x (W)430 x (L)445 mm |
| Weight (approx.) | 6 kg |
| AC adaptor specifications | |
| Model | DZ048BHL240150S |
| Input | 100-240 V~ 50/60 Hz 1.5 A |
| Output | 24 V 1.5 A 36 W |
| Protection class | II |
This marking indicates that the appliance is suitable for use in tropical climates under ambient temperatures of 18 °C to 43 °C.
CLASS II – DOUBLE INSULATED APPLIANCE
This symbol indicates that the appliance has been designed in such a way that it does not require a safety connection to electrical earth (ground). The RCM Mark (Regulatory Compliance Mark) indicates that the product complies with the relevant guidelines of the ACMA as well as corresponding government requirements for the safety of electrical devices.
Compliance
This appliance has been fully tested and meets all requirements as set out by standards AS/NZS 60335.1 and AS/NZS 60335.2.80.
Responsible disposal
Packaging materials are recyclable. Please dispose of them responsibly for recycling. At the end of its working life, make the appliance unserviceable by unplugging it from the power outlet and cutting the power cord. Do not throw this appliance out with your household waste. Electrical and electronic products contain substances that can have a detrimental effect on the environment and human health if disposed of inappropriately. Observe any local regulations regarding the disposal of electrical consumer goods and dispose of it appropriately for recycling. Contact your local authorities for advice on recycling facilities in your area. Or find recycling scheme services listed on Planet Ark’s website www.recyclingnearyou.com.au, or call Planet Ark on 1300 733 712.
Repair and Refurbished Goods or Parts Notice
Unfortunately, from time to time, faulty products are manufactured which need to be returned to the supplier for repair. Please be aware that if your product is capable of retaining user-generated data (such as files stored on a computer hard drive, telephone numbers stored on a mobile telephone, songs stored on a portable media player, games saved on a games console or files stored on a USB memory stick) during the process of repair, some or all of your stored data may be lost. We recommend you save this data elsewhere prior to sending the product for repair. You should also be aware that rather than repairing goods, we may replace them with refurbished goods of the same type or use refurbished parts in the repair process. Please be assured though, refurbished parts or replacements are only used where they meet ALDI’s stringent quality specifications. If at any time you feel your repair is being handled unsatisfactorily, you may escalate your complaint. Please telephone us on 1300 112 534 or write to us at: Tempo (Aust) Pty Ltd ABN 70 106 100 252 PO BOX 132, Frenchs Forest NSW 1640, Australia Email: [email protected] Tempo Help Desk: 1300 112 534 (Aust) (Operating Hours: Mon–Sat 09:00 am to 06:00 pm AEST)
Warranty returns
Should you for any reason need to return this product for a warranty claim, make sure to include all accessories with the product.
Product does not work?
If you encounter problems with this product, or if it fails to perform to your expectations, make sure to contact our After Sales Support Centre on for advice. For an electronic copy of this manual, go to www.stirlingappliances.com.au and download a copy, or contact our after sales support centre. Instruction Manual Revision Index Version No Issue Date Description


























