nevadent NZAK 3.7 A1 Kids’ Electric Toothbrush

Before reading, unfold the page containing the illustrations and familiarise yourself with all functions of the device.
Introduction
Information about these operating instructions
Congratulations on the purchase of your new appliance. You have selected a high-quality product. The operating instructions are part of this product. They contain important information about safety, usage and disposal. Before using the product, please familiarise yourself with all the operating and safety instructions. Use the product only as described and for the range of applications specified. Please also pass these operating instructions on to any future owner.
Intended use
This appliance is intended exclusively for personal dental care at home. This appliance is intended solely for use in private households. The appliance is not intended for use in industrial or medical environments. It is not suitable for animal care. It is not suitable for commercial use.
Warning symbols used
The following warnings are used in these operating instructions, where applicable:
DANGER
A warning notice at this hazard level indicates an imminently hazardous situation. If the hazardous situation is not avoided, it could result in death or serious physical injury.
- Follow the instructions in this warning to prevent a fatality or serious personal injury.
WARNING
A warning at this hazard level indicates a potentially hazardous situation. Failure to avoid this hazardous situation could result in injuries.
- Follow the instructions in this warning notice to prevent injuries.
CAUTION
A warning at this hazard level indicates a risk of property damage. Failure to avoid this situation could result in property damage. Follow the instructions on this warning label to prevent property damage.
NOTE: A note provides additional information which makes handling the appliance easier for you.
Safety
This section contains important safety instructions for handling the appliance. This appliance complies with the statutory safety regulations. Improper use may result in personal injury and property damage.
Basic safety instructions
To ensure safe operation of the appliance, follow the safety guidelines set out below:
- Prior to use, check the appliance for visible external damage. Do not operate a appliance that has been damaged or dropped.
- In the event of malfunctions or obvious damage, please contact our Customer Service department.
- Connect the mains plug only to a properly installed, easily accessible plug socket whose voltage corresponds to the specifications on the rating plate. The mains socket must also remain easily accessible as long as the appliance is plugged in.
- Always make sure that the mains cable can never become wet or damp during operation. Route the power cable in such a way that it cannot become trapped or damaged in any other way.
- Do not submerge the handset or the charging station in water or other liquids.
- The charger is connected to the mains voltage and must therefore not be used in the shower, in the bath or above washbasins filled with water.
- Never touch the charger if it has fallen into water. Remove the plug from the wall socket first!
- The main cable on this appliance cannot be replaced. If the mains cable is damaged, the appliance must be scrapped.
- This product contains small parts that can be swallowed and is therefore not suitable for use by children under the age of 3 without supervision.
- The toothbrush may be used by children and people with reduced physical, sensory or mental capabilities or lack of experience and/or knowledge if they are supervised or have been instructed how to use the appliance safely and have understood the potential risks.
- Cleaning and user maintenance should not be performed by children unless they are under supervision.
- Do not allow children to play with the appliance.
- The handset may only be recharged with the supplied charger. Otherwise, the appliance could be irreparably damaged!
- Operate the appliance only with the original accessories supplied.
- Do not make any unauthorised modifications or alterations to the appliance.
- No user action is required to switch the product between 50 and 60 Hz. The product adapts automatically to either 50 or 60 Hz.
- Never open the appliance housing. There are no parts inside the appliance that require user maintenance. In addition, this will invalidate the warranty.
- The product is equipped with or supplied with a lithium-ion battery.
- The battery in this appliance cannot be replaced.
Use
Check package contents
The following components are included in delivery:
- Handset
- Charging station
- 2 brush heads (1 x small, 1 x normal)
- These operating instructions
- Unpack all parts of the appliance from the packaging and remove all packaging materials.
DANGER: Do not allow children to play with packaging materials. There is a risk of suffocation!
NOTE
- Check the package for completeness and signs of visible damage.
- If the delivery is incomplete or damage has occurred as a result of defective packaging or during transport, contact the service hotline (see section Service).
Requirements for the set-up location
To ensure safe and trouble-free operation of the appliance, the set-up location must fulfil the following requirements:
- The set-up location must be a horizontal, level and stable surface. In damp rooms, especially in the vicinity of water (bath), the charger must be set up so that it cannot fall into the water.
- The mains power socket must be easily accessible so that the power cable can be quickly disconnected in an emergency.
CAUTION
- Before connecting the appliance, compare the connection data (voltage and frequency) on the rating plate with that of your mains power supply. This data must agree to ensure that the appliance is not damaged.
- Make sure that the power cable is not damaged and is not routed over any hot surfaces and/or sharp edges.
- Ensure that the mains cable is not taut or kinked.
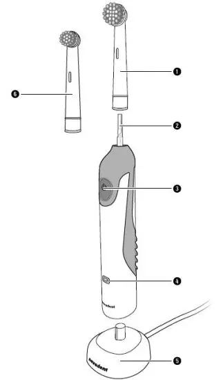
Operating components
(See fold-out page for illustrations)
- Normal brush head
- Drive shaft
- On/Off button + programme selection button
- Charging indicator lamp
- Charger
- Small brush head
Handling and operation
This section provides you with important information on handling and using the appliance.
Charging the battery
- Connect the charger 5 to a mains power socket.
- Place the switched-off handset on the charger 5. The charging indicator lamp 4 lights up red during charging. It takes approximately 10 hours for the empty battery to be fully charged. Once the handset is fully charged, the charging indicator lamp 4 lights up green.
- If the charging indicator lamp 4 starts flashing red, the battery is empty and needs to be recharged.
NOTE: Place the handset back on the charger 5 after use. This ensures that your toothbrush always operates at its optimum performance. The battery is not damaged by regular charging.
Using the brush heads
2 brush heads (1 x normal 1, 1 x small 6) are supplied with the appliance. Before first use, clean the brush heads 1/6 in fresh running water.
- Select a suitable brush head 1/6 and insert it from above onto the drive shaft 2 of the handset. Ensure that the drive shaft 2 slides precisely into the socket on the brush head 1/6. Push the brush head 1/6 down until it completely covers the drive shaft 2.
- To remove the brush head 1/6, pull it upwards and off the drive shaft 2.
NOTE
- The brush heads 1/6 are equipped with indicator bristles (the outer, light-blue bristles). The indicator bristles fade slowly during use. A faded colour indicates that the brush head 1/6 should be changed.
- We recommend replacing the brush heads 1/6 every 3 months or at the latest when the indicator bristles lose their colour.
- We recommend only using original brush heads. You can order replacement brush heads at any time (see section Ordering replacement parts).
- You can also use any commercially available Oral-B* and Nevadent brush heads, except for the iO series, for this appliance. *Oral-B is a registered trademark of The Gillette Company LLC.
Programmes
The toothbrush offers 2 different programmes for your personal dental care regimen.
- Press the On/Off button 3 once or twice to select the desired programme.
- 1 x = Normal For thorough cleaning of teeth and gums
- 2 x = Sensitive For gentle cleaning of sensitive teeth and gums
Brushing teeth
NOTE: Due to the unfamiliar sensation of the toothbrush, there may be some initial gum bleeding. This is normal. If this continues for more than two weeks, you should consult your dentist.
- Place the brush head 1/6 on the handset.
- Moisten the brush under flowing water.
- Put a little toothpaste onto the wet brush.
NOTE: To avoid splashes, do not switch on the appliance until the brush is in your mouth. Use the On/Off button 3 to select the desired programme.
NOTE: This toothbrush has a 30-second interval timer, so that all four jaw quadrants can be cleaned evenly.
- Divide your mouth into four parts (quadrants): upper right, upper left, lower right and lower left.

- Begin in one quadrant:
Start with the brush head 1/6 on your gums, and move the brush upwards/downwards from the gums to the crown of the tooth. Continue in this manner on both the inside and the outside of the tooth. Start again on the gums for each individual tooth. Do not forget the back surfaces of the rear molars. To clean the chewing surfaces, guide the brush over the chewing surfaces with a little pressure. - After 30 seconds, the toothbrush stops twice briefly to signal that you should start cleaning the next quadrant. Clean all quadrants using the same technique.
- After two minutes, the toothbrush pauses briefly 4 times. This lets you know that you have cleaned all four quadrants and complied with the dental recommendation of two minutes of cleaning.
- Switch off the toothbrush and rinse the brush head 1/6 thoroughly under running water.
- Remove the brush head 1/6 from the handset. To clean the drive shaft 2 and the handset, hold them under running water for a short while the drive shaft 2 is pointing downwards at an angle.
Transport lock
The toothbrush is equipped with a transport lock to secure it from switching on unintentionally.
- Press and hold the On/Off button 3 until the charging indicator lamp 4 flashes green 5 times. The transport lock is now activated and the charging indicator lamp 4 flashes green 5 times if you attempt to switch on the toothbrush.
- Press and hold the On/Off button 3 until the charging indicator lamp 4 lights up green. The transport lock is now deactivated and the toothbrush can be switched on again.
Cleaning and maintenance
DANGER – ELECTRIC SHOCK!
- Always remove the plug of the charger 5 from the power socket before cleaning the appliance! There is a risk of electric shock!
- Never immerse the handset or the charger 5 in water or other liquids!
CAUTION – PROPERTY DAMAGE!
- Do not use any aggressive cleaning agents or solvents. They can damage the plastic surfaces.
- Clean the charger 5 with a soft, slightly damp cloth.
- Remove the brush head 1/6 from the handset. After use, clean the brush heads 1/6 thoroughly under running water. We recommend cleaning the brush heads 1/6 in a standard commercial denture cleaning fluid every 2–4 weeks. The brush heads 1/6 are equipped with indicator bristles (the outer, light-blue bristles). The indicator bristles fade slowly during use. A faded colour indicates that the brush head 1/6 should be changed.
- To clean the drive shaft 2 and the handset, hold them under running water for a short while. Hold the handset so that the drive shaft 2 is pointing downwards at an angle.
Disposal
Never dispose of the appliance in your normal domestic waste. This product is subject to the provisions of European Directive 2012/19/EU. Dispose of the appliance via an approved disposal company or your municipal waste facility. Comply with all applicable regulations. Contact your waste disposal centre if you are in any doubt. Your local community or municipal authorities can provide information on how to dispose of the worn-out product.
NOTE
- The integrated rechargeable battery in this appliance cannot be removed for disposal.
- To prevent risks, the removal or replacement of the battery may only be carried out by the manufacturer or the manufacturer’s customer service department or a similarly qualified person.
- When disposing of the appliance, indicate that the appliance contains a battery
The packaging is made from environmentally friendly material and can be disposed of at your local recycling centres. Dispose of the packaging in an environmentally friendly manner. Note the labelling on the packaging and separate the packaging material components for disposal if necessary.The packaging material is labelled with abbreviations (a) and numbers (b) with the following meanings: 1–7: plastics, 20–22: paper and cardboard, 80–98: composites.
Appendix
Technical specifications
- Power supply 100–240 V ∼ (AC), 50/60 Hz
- Power consumption 2 W
- Protection class II / (double insulation)
- Protection type (charger and handset)
- IP X7 (protected against the ingress of water during temporary immersion)
- Integrated battery 3.7 V (DC)/600 mAh (Li-ion)
- detachable supply unit
Ordering replacement parts
You can order replacement brush heads for this product on the internet at www.kompernass.com.
Scan the QR code with your smartphone/tablet. You can use this QR code to go directly to our website to view and order the available spare parts.
NOTE
- If you have problems with your online order, you can contact our service centre by phone or e-mail.
- Please always quote the article number (e.g. IAN 123456_7890) when ordering. You can find it on the title page of these operating instructions.
- Please note that online ordering of replacement parts is not possible for all countries.
Kompernass Handels GmbH warranty
Dear Customer,
This appliance has a 3-year warranty valid from the date of purchase. If this product has any faults, you, the buyer, have certain statutory rights. Your statutory rights are not restricted in any way by the warranty described below.
Warranty conditions
The warranty period starts on the date of purchase. Please keep your receipt in a safe place. This will be required as proof of purchase. If any material or manufacturing fault occurs within three years of the date of purchase of the product, we will either repair or replace the product for you or refund the purchase price (at our discretion). This warranty service requires that you present the defective appliance and the proof of purchase (receipt) within the three-year warranty period, along with a brief written description of the fault and of when it occurred. If the defect is covered by the warranty, your product will either be repaired or replaced by us. The repair or replacement of a product does not signify the beginning of a new warranty period.
Warranty period and statutory claims for defects
The warranty period is not prolonged by repairs effected under the warranty. This also applies to replaced and repaired components. Any damage and defects present at the time of purchase must be reported immediately after unpacking. Repairs carried out after expiry of the warranty period shall be subject to a fee.
Scope of the warranty
This appliance has been manufactured in accordance with strict quality guidelines and inspected meticulously prior to delivery. The warranty covers material faults or production faults. The warranty does not extend to product parts subject to normal wear and tear or to fragile parts which could be considered as consumable parts such as switches, batteries or parts made of glass. The warranty does not apply if the product has been damaged, improperly used or improperly maintained. The directions in the operating instructions for the product regarding proper use of the product are to be strictly followed. Uses and actions that are discouraged in the operating instructions or which are warned against must be avoided. This product is intended solely for private use and not for commercial purposes. The warranty shall be deemed void in cases of misuse or improper handling, use of force and modifications/repairs which have not been carried out by one of our authorised Service centres.
Warranty claim procedure
To ensure quick processing of your case, please observe the following instructions:
- Please have the till receipt and the item number (e.g. IAN 123456_7890) available as proof of purchase.
- You will find the item number on the type plate on the product, an engraving on the product, on the front page of the operating instructions (below left) or on the sticker on the rear or bottom of the product.
- If functional or other defects occur, please contact the service department listed either by telephone or by e-mail.
- You can return a defective product to us free of charge to the service address that will be provided to you. Ensure that you enclose the proof of purchase (till receipt) and information about what the defect is and when it occurred. You can download these instructions along with many other manuals, product videos and installation software at www.lidl-service.com.
This QR code will take you directly to the Lidl service page (www.lidl-service.com) where you can open your operating instructions by entering the item number (IAN) 368332_2101.
Service
Service Great Britain
Tel.: 0800 404 7657
E-Mail: [email protected]
Service Ireland
Tel.: 1890 930 034
(0,08 EUR / Min., (peak))
(0,06 EUR / Min., (off peak))
E-Mail: [email protected]
CY Service Cyprus
Tel.: 8009 4409
E-Mail: [email protected]
Importer
Please note that the following address is not the service address. Please use the service address provided in the operating instructions.


















