mellerware 23120A Glide II 1200W Steam Iron
Dear customer,
Thank you for choosing to purchase a Mellerware brand product. Thanks to its technology, design and operation and the fact that it exceeds the strictest qual-ity standards, a fully satisfactory use and long product life can be assured.
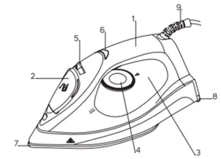
Parts description
- Handle
- Water inlet
- Water tank
- Temperature selection knob
- Steam control/ self-cleaning lever
- Indicator light
- Non-stick soleplate
- Cable roll/ support base
- 360° Swivel cord
- Measuring cup
Safety advice and warnings
Read these instructions carefully before switching on the appliance and keep them for future reference. Fail-ure to follow and observe these instructions could lead to an accident. Clean all the parts of the product that will be in contact with food, as indicated in the cleaning section, before use.
Use or working environment.
- Keep the working area clean and well lit. Clut-tered and dark areas invite accidents.
- Use the appliance in a well-ventilated area. 2.1.3. Do not place the appliance on hot surfaces, such as cooking plates, gas burners, ovens or similar items. 2.1.4. Keep children and bystanders away when us-ing this appliance surface and away from other heat sources and contact with water.
- Place the appliance on a horizontal, flat stable surface and away from the other heat sources and contact with water.
- Keep the appliance away from flammable mate-
- rial such as textiles, curtains, cupboards or paper, etc. 2.1.7. Do not place the flammable material near the appliance.
- Do not use the appliance in association with a programmer, timer or other device that automatically switches it on.
- Do not use the appliance if the cable or plug is damaged.
- Ensure that the voltage indicated on the rating label matches the mains power supply voltage before plugging in the appliance.
- Connect the appliance to the mains power sup- ply with an earth socket withstanding a minimum of 10 amperes.
- The appliance’s plug must fit into the mains power supply socket properly. Do not alter the plug. 2.1.13. If using a multi plug check ratings carefully as the current used by several appliances could easily exceed the rating of the multi plug.
- If any of the appliance casings breaks, imme-diately disconnect the appliance from the mains power supply to prevent the possibility of an electric shock. 2.1.15. Do not use the appliance if it has fallen on the floor or if there are visible signs of damage.
- Do not force the power cord. Never use the power cord to lift up, carry or unplug the appliance. 2.1.17. Do not wrap the power cord around the appliance. 2.1.18. Do not clip or crease the power cord.
- Do not allow the power cord to hang or to come into contact with the hot surfaces of the appliance. 2.1.20. Check the state of the power cord. Damaged or tangled cables increase the risk of electric shock. 2.1.21. The appliance is not suitable for outdoor use. 2.1.22. Power cord should be regularly examined for signs of damage, and if the cord is damaged, the appli-ance must not be used.
- Do not touch the plug with wet hands.
- Personal safety:
- CAUTION: Do not leave the appliance unattended during use as there is a risk of an accident.
- Do not touch the heating parts of the appliance, as it may cause serious injury.
- This appliance is only for domestic use, not for industrial or professional use. It is not intended to be used by guests in hospitality environments such as bed and breakfast, hotels, motels, and other types of residential environments, even in farmhouses, areas of the kitchen staff in shops, office and other work environments.
- This appliance is not intended for use by persons (including children) with reduced physical, sensory or mental capabilities, or lack of experience and knowledge, unless they have been given supervi-sion or instruction concerning use of the appliance by a person responsible for their safety.
- This appliance is not a toy. Children should be supervised to ensure that they do not play with the appliance.
- Do not touch metal parts of the iron while it is in use, as it may cause serious burns.
- The temperature of the accessible surfaces may be high when the appliance is in use.
Use and care:
- Fully unroll the appliance’s power cable before each use.
- Do not use the appliance if the parts or acces-sories are not properly fitted.
- Do not turn the appliance over while it is in use or connected to the mains power supply.
- Unplug the appliance from the mains power supply when not in use and before undertaking any cleaning task.
- This appliance should be stored out of reach of children.
- Do not store the appliance if it is still hot. 2.3.7. Never leave the appliance unattended when in use and keep out of the reach of children.
- If for some reason, the appliance were to catch fire, disconnect the appliance from the mains power supply and DO NOT USE WATER PUT THE FIRE OUT. 2.3.9. To keep the non-stick treatment in good condi-tion, do not use metal or pointed utensils on it. 2.3.10. Respect the MAX level indicator (Fig. 1) 2.3.11. Unplug the appliance from the mains before refilling the water tank.
- To ensure that the iron functions correctly, keep the iron face smooth and do not hit it against metallic objects (for example, the ironing board, buttons, zips.) 2.3.13. The use of distilled water is recommended, especially if the water in your area contains any type of grit or is “hard” (contains calcium or magnesium). 2.3.14. The water fill-up opening must not be left open while the iron is being used.
- Service:
- Make sure that the appliance is service only suit-ably qualified technician, and that only original spare parts or accessories are used to replace existing parts/accessories.
- If the power cord is damaged, the manufacturer or its service agent, or similarly qualified person must replace it in order to avoid a hazard.
- Any misuse or failure to follow the instructions for use renders the guarantee and the manufacturer’s liability null and void.
Instructions for use
- Before use:
- Remove the appliance’s protective film (if ap-plicable).
- Before using the product for the first time, clean in the manner described in the cleaning section. 3.1.3. The first time the appliance is used a light smoke may be detected.
- Filling with water:
- Unplug the iron before filling the water tank. 3.2.2. Hold the iron in a horizontal position.
- Slowly pour water through the water inlet. 3.2.4. Do not fill past the “MAX” mark on the water tank. NOTE: Your iron is designed to use tap water, however, if the water is very hard, it is advisable to use distilled water. The water tank should be emptied after each use.
- Use:
- Always check whether a label with ironing instructions is attached to the clothing article to be ironed. Follow these instructions in all cases.
- Turn the temperature control dial to set the ap- propriate temperature indicated in ironing instructions or in fabric label.

- Insert the plug into the wall socket. The indicator light will illuminate.
- When the indicator light switches off you may start ironing.
CAUTION: Iron from low temperature first then move to high temperature fabrics. Should you need to iron at a low temperature, after using a high temperature you must wait for the pilot light to illuminate again, or you will burn your clothes onto the iron. This will void the warranty. - Dry ironing:
- Make sure the temperature selection knob is at the lowest level.
- Set the iron on the support base on a steady, firm surface.
- Plug the appliance to the electrical power supply and turn temperature selection knob to desired level, the ready indicator light will turn on.
- Once the light turns off, you may star to iron over steady and firm surface.
- When you have finished, turn the temperature knob back to the lowest level, unplug from the electrical power supply and wait until the appliance cools down completely, before you proceed to store it. IMPORTANT: If the iron contains water inside the tank and you prefer dry ironing, move the steam control lever to “0” position.
Steam ironing
- Make sure the appliance is unplugged from the electric power supply, fill up the water tank. Make sure not to overfill the tank.
- Ensure the temperature selection knob is at the lowest level, before plugging in the appliance.
- Set the iron on its support base on a steady and firm surface.
- Plug in the iron and set the steam control lever to the medium level.
- Turn the temperature selection knob to the desired level, suited for steam generation and the ready indicator light should turn on.
- Once the light turns off you may start ironing on a steady and firm surface.
IMPORTANT: It is important to let the light to turn after reaching the optimal temperature, otherwise the appli-ance may experience leakage - Once you have finished its use, turn the tempera-ture selection knob back to the lowest, unplug the appli-ance from the electrical power supply and make sure to wait until completely cools down before storing it.
IN ORDER TO STEAM IRON, HIGH TEMPERATURES SHOULD BE SELECTED AT THE TEMPERATURE INDI-CATOR KNOB.
Self-cleaning:
- It is important to self-clean the appliance at least once a month to remove calcium and any the built-up minerals inside the iron.
- Fill the water tank to its maximum level.
- Place the iron in an upright position, plug into the mains and select the maximum temperature.
- Leave the appliance to heat up until the indicator light turns off.
- Unplug the appliance and place it in the sink. 3.6.6. Let the water flow out through the steam vents in the base, while lightly shaking the appliance.
- Release the button after a minute or when the tank becomes empty.
- Leave the iron in the upright position until it has cooled.
- How to deal with scale build up:
- For the appliance to work correctly it should be kept free of lime scale or magnesium incrustations cause by the use of hard water.
- To prevent this kind of problem, we recommend the use of water with low lime or magnesium mineralization. 3.7.3. Homemade solutions are not recommended for d.e-scaling this appliance, such as vinegar
Cleaning
- Disconnect the appliance from the mains power supply and allow it to cool completely before undertak-ing any cleaning task.
- Clean the outer parts of the appliance with a damp cloth with a few drops of washing-up liquid and then dry. CAUTION! Do not immerse electrical parts of the appliance in any liquid.
- Do not use solvents, or products with an acid or base pH such as bleach, or abrasive products, for cleaning the appliance.
- Never submerge the appliance in water or any other liquid or place it under running water.
Storage
- Make sure the to turn off the iron by the tempera-ture selection knob to the lowest level.
- Set the iron in a vertical position on top of its base support and let is cool itself completely. Make sure to empty the water tank.
- Roll the power cord gently around its base support and store the product on a dry and cool place, away from direct sunlight.
- nomalies and repair:
- Take the appliance to an authorised support centre if product is damaged or other problems arise.
- If the connection to the mains has been damaged, it must be replaced, and you should proceed as you would in the case of damage.
Recycling
- These electrical products, cables, batteries, packaging, and the manual, should not be mixed with general household waste. For proper recycling, please take these products to your nearest Creative House-wares office where they will be accepted for recycling free of charge.
- Alternatively, please contact your local authority or household waste disposal service for further details of your nearest designated collection point. Correct prod-uct disposal saves resources and prevents negative effects on human health and the environment.
ONLINE WARRANTY REGISTRATION
Why register your warranty?
We at Mellerware pride ourselves on bringing premium quality appliances to market, and as a commitment to this level of quality we offer a 2 year warranty (1 Year Retail + 1 Year Extended) on all of our products. We often hear that our customers lose their receipts and can therefore no longer claim if they have a problem. To take advantage of the 1 Year Extended Warranty you will need to register your warranty online within the first year of purchase in order to make a valid claim. Now you can register your product, upload your warranty online, never have to worry about losing your receipt again and enjoy the benefit of your 2 year warranty.
Added Benefits
In addition to providing you with an online profile of your registered
products we will also provide a host of value added benefits:
- Incentives and Competitions for registered users
- New recipes or ideas for your products
- New product developments – be the first to get the latest appliances
- Special offers on promotional items
How to Register your Online Warranty?
STEP1 Create your user profile:
If you haven’t done so already, simply visit www.mellerware.co.za, click on the
“Product Registration” link and follow the easy instructions. You will receive a user-name and password once registered. This will give you access to your user profile.
STEP2 Pick a registration method:
DESKTOP/LAPTOP
- Open your internet browser and visit www.mellerware.co.za
- Click on the “Registration” link and login using your user name and password.
- Click on “Register your products and upload receipts” and follow the easy instructions.
- Scan and upload your receipt
SMART PHONE/ TABLET
- Scan the QR code above or visit www.mellerware.co.za
- Click on the “Registration” link and login using your user name and password.
- Click on “Register your products and upload receipts” and follow the easy instructions.
- Scan or take a photo and upload your receipt.
FAX
- Fax the following to 021 931 4058
- First Name and Surname
- Contact telephone and fax number.
- Product Model number and Type.
- Traceability Code (found on a label on the product)
- A clear and legible copy of your receipt.
Notes:
- The online warranty system is a safe storage facility for your receipt.
- You will be required to register on the Mellerware website. You will receive a username and password once registered. This will give you access to your profile.
- From your profile you will be able to load products that you have purchased. In order to successfully register your warranty you will need to either scan and upload, or fax through your receipt to us.
- All instructions on how to load your products are available inside your profile.
- Please note that you must check that your receipt has been uploaded correctly. Creative Housewares cannot be held responsible for faxes or files not received.
- For assistance with registration please email: [email protected]
NB: Your 1 year extended warranty is only valid if your product is registered online within the first year after purchasing your Mellerware product. Failure to register your product on-line within the first year will render the extended warranty as void.
National Service Centre: 086 111 5006
e-mail: [email protected]
www.creativehousewares.co.za





















