
EVERSPRING SM201 Magnetic Detector

General Introduction
The SM201 Magnetic Detector is used in security or home automation applications to detect opening or closing of doors/windows. It consists of two parts; a Detector and a Magnet. Opening the protected doors/ windows will remove the magnetic field, sending an alarm signal to the controller. Its great compatibility with our U-Net family security products makes it suitable for smart home cloud based platforms.
Product Layout
| A. Detector | G. Mylar hole |
| B. LED indicator | H. Screw mounting hole |
| C. Magnet | I Slot |
| D. Battery mylar | J Learning button |
| E. Screw mounting hole | K Mylar hole |
| F. Tamper | L Battery |
Accessories
- 3M wall mount tape
- Screws
Pairing to Controller
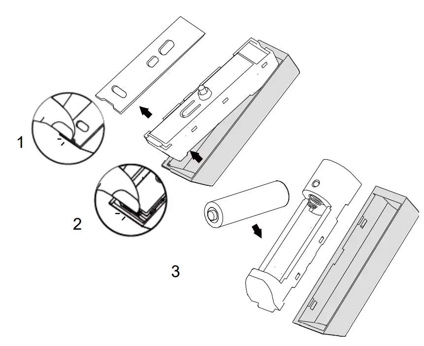
- Open the back plate, remove the detector front cover and insert the battery as shown below.
- Locate the learning button “J”. Do not activate pairing on the controller yet.
- Press and hold the learning button for more than 3 seconds until the LED flashes moderately then release the button.
- Quickly activate pairing on the controller. The LED should stop blinking indicating the pairing process is complete.
Mounting
- Mount the Magnetic Detector in dry interior locations only.
- Don’t place the unit near combustible substances or any source of heat, e.g. fires, radiators, boilers etc.
Note: Mounting the detector to a metal frame or within 1 meter of metalwork (e.g. radiators, water pipes) may affect radio range of the device. Please use plastic or wooden spacers to separate the detector and metal surface when required. - Fit the magnet on the moving part of the door/window, and vice versa if necessary. The magnet can be located on left or right side of the detector. Use the provided self-adhesives tape to secure them in place.
- Make sure the parallel gap between the magnet and detector is less than 20mm and that they are aligned from the top. An alarm will be triggered if the gap is greater than 35mm.

- Use the controller’s smartphone app to test the detector to ensure it is working properly.
Maintenance
Low Battery: When the battery becomes low. The detector will report back to the controller. If the door or window is open the LED will flash to indicate low battery condition to the user.
Software reporting commands
| Auto report | When battery is inserted, it will report to controller after 2 minutes. It will report the condition every hour. |
| Status change | 1. Tamper switch is pressed: It will report to controller and LED won’t flash when magnet is separated. 2. Tamper switch is released: It will report to controller and LED will flash when magnet is separated. |
Trouble Shooting
| Symptoms | Possible Cause | Recommendation |
| Device does not work, LED does not illuminate. | No batteries attached or no power. | Check if batteries are attached or replace with new ones. |
| LED does illuminate, appliance does not respond | Binding with controller did not complete successfully. | Bind again using manual binding |
| Disturbed by other radio waves | Please operate later |
Reset to factory default
To reset SM201 back to factory default state:
- Press and hold the Learning button for 3 seconds until the LED flashes moderately then release the button.
- Within 30 seconds, press and hold the Learning button again, this time for more than 6 seconds then release the button.
- Re-insert the batteries, if the LED blinks slowly for 30 seconds this implies the device is reset back to factory mode.
Specifications
| Operating temperature range | -10°C to 40°C |
| Operating humidity | 85% RH at 30°C |
| Battery type | AA alkaline 1.5V *1 |
| RF Frequency | 868 MHz Band range (EU), 923 MHz Band range (US) |
| Magnetic | OPEN àCLOSE >20mm CLOSEàOPEN <35mm |
| RF transmission range | Up to 800m (Open space) |
| FCC ID | FU5SM201-2 |
| IC | 23210-SM2012 |
Specifications are subject to change without notice.
WARNING: Do not dispose of electrical appliances as unsorted municipal waste, use separate collection facilities. Contact your local government for information regarding the collection systems available.
If electrical appliances are disposed of in landfills or dumps, hazardous substances can leak into the groundwater and get into the food chain, damaging your health and well-being.
When replacing old appliances with new ones, the retailer is legally obligated to take back your old appliance for disposal free of charge.
CAUTION: RISK OF EXPLOSION IF BATTERY IS REPLACED BY AN INCORRECT TYPE. DISPOSE OF USED BATTERIES ACCORDING TO THE
INSTRUCTIONS
Federal Communication Commission Interference Statement
FCC warning: Any Changes or modifications not expressly approved by the party responsible for compliance could void the user’s authority to operate the equipment.
Note: This equipment has been tested and found to comply with the limits for a Class B digital device, pursuant to part 15 of the FCC Rules. Operation is subject to the following two conditions:
- This device may not cause harmful interference,
- this device must accept any interference received, including interference that may cause undesired operation.
These limits are designed to provide reasonable protection against harmful interference in a residential installation. This equipment generates uses and can radiate radio frequency energy and, if not installed and used in accordance with the instructions, may cause harmful interference to radio communications. However, there is no guarantee that interference will not occur in a particular installation. If this equipment does cause harmful interference to radio or television reception, which can be determined by turning the equipment off and on, the user is encouraged to try to correct the interference by one or more of the following measures:
- Reorient or relocate the receiving antenna.
- Increase the separation between the equipment and receiver.
- Connect the equipment into an outlet on a circuit different from that to which the receiver connected.
- Consult the dealer or an experienced radio/TV technician for help.
This equipment complies with FCC radiation exposure limits set forth for an uncontrolled environment.
Industry Canada statement:
This device complies with Industry Canada licence-exempt RSS standard(s).
Operation is subject to the following two conditions: (1) This device may not cause interference, and (2) This device must accept any interference, including interference that may cause undesired operation of the device.
Le present appareil est conforme aux CNR d’Industrie Canada applicables aux appareils radio exempts de licence. L’exploitation est autorisée aux deux conditions suivantes:
- l’appareil ne doit pas produire de brouillage, et
- l’utilisateur de l’appareil doit accepter tout brouillage radioélectrique subi, meme si le brouillage est susceptible d’en compromettre le fonctionnement.
This equipment complies with IC RF radiation exposure limits set forth for an uncontrolled environment.
50 Sect. 1 Zhonghua Rd Tucheng NewTaipeiCity 236 Taiwan
























