QNED81*
QNED86*
Instruction Manual
75QNED866QA QNED Mini LED TV
![]()




| A | B | C | D | E | F | F-G | |
| (mm) | (kg) | ||||||
| 75QNED81SQA 75QNED816QA | 1675 | 1043 | 405 | 964 | 44.5 | 40 | 36.6 |
| 75QNED86SQA 75QNED866QA | 1673 | 1036 | 405 | 963 | 44.9 | 42.7 | 39.3 |
| 86QNED81SQA 86QNED816QA | 1925 | 1177 | 452 | 1105 | 46.1 | 59.1 | 55.3 |
| 86QNED86SQA 86QNED866QA | 1925 | 1177 | 452 | 1105 | 46.1 | 60.8 | 57 |
| Power requirement | AC 100-240 V-50/60Hz | ||||||

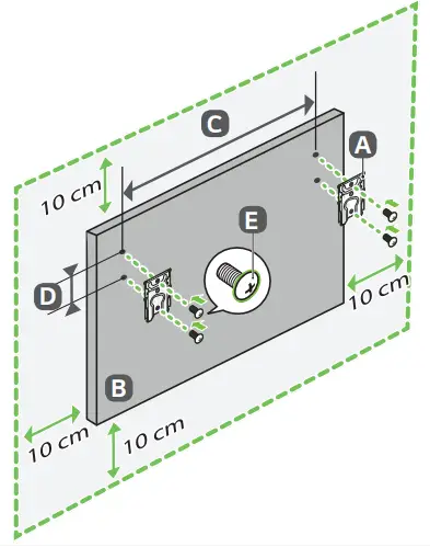
| A | B | C×D (mm) | E |
| LSW440B | 75QNED81* 75QNED86* | 400 x 400 | M6 |
| LSW640B | 86QNED81* 86QNED86* | 600 x 400 | M8 |

| A | B | C×D (mm) | E |
| WB21LGB | 75QNED81* 75QNED86* | 1281 x 125 | M8 |
| WB21LGB | 86QNED81* 86QNED86* | 1586 x 125 | M8 |
Read Safety and Reference.
+ : Depending on model



















