manual
50 W Solar Panel
Item: 45153
Specifications
| Cell type: | Monocrystalline |
| Max. power output: | 50 W |
| Max. voltage: | 17.8 V |
| Max. current: | 2.81 A |
| Idling voltage: | 21.3 V |
| Short-circuit current: | 3.01 A |
| Max. system voltage: | 600 V |
| Size: | 640x456x30 mm |
| Weight: | 3.5 kg |
Use
Before first use As soon as the solar panel is exposed to light or sunlight, the terminals in the connection box will be conducting electricity. To avoid short circuits when assembling and connecting the panels, turn them away from sunlight or cover so that they are not producing electricity during the connection procedure. Remove the covering when all the connections have been made. For full function the panel should be supplemented (sold separately) with:
- Mount
- Charge regulator
- Battery

Assembly
Install the panel in amount either horizontally or vertically with the connection box at the top. The solar panel should be facing south at a vertical angle of 30-40° (summer) and 0-20° (winter). Choose a location for the panel with as little shade as possible since shadows will reduce the output power.
Connection
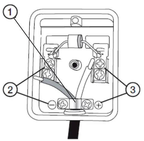
Open the connection box on the back of the panel by unscrewing and removing the lid. Unscrew the cable fastener (1) at the bottom of the connection box and enter the cable. Use a suitable UV-resistant cable, 1.5-4 mm, depending on the length of the cable and the size of the panel. Note the polarity markings on the terminal block (2, 3) and connect the wires accordingly. Tighten the cable fastener to secure the cable. Coat the wires and terminal posts with Vaseline to protect them from corrosion. Close the lid of the connection box tightly to prevent moisture from entering, this is especially important if the panel is to be used in a coastal or high air humidity area.

- Cable fastener
- Negative terminal
- Positive terminal
Safety instructions
Always mount the panel on a straight, flat surface. Handle the solar panel with care.
Do not try to modify or disassemble the solar panel or its frame yourself.
Do not use sharp metal tools or anything that could scratch the surface of the panel.
Install the panel in such a way that air can circulate freely around it.
Multi-panel use
12V
To use several panels in a 12 V system, connect them in parallel by connecting positive and negative between panels prior to connecting to the charge regulator.
24 V
To use several panels in a 24 V system, connect them in series by connecting the positive of one panel to the next panel’s negative. The remaining negative and positive connectors are made to the charge regulator.

Disposal
This symbol indicates that this product must not be disposed of with general household waste. This applies throughout the entire EU. To prevent any harm to the environment or cause health hazards by incorrect waste disposal, the product must be handed in for recycling so that the material can be disposed of in a responsible manner. When recycling your product, take it to your local collection facility or contact the place of purchase. They will ensure that the product is disposed of in an environmentally sound manner.
www.Luxoparts.com
Box 50435
Sweden
2022-04-05
Luxoparts®




















