hama 00121693 Lypsi 2 Single LNB Instruction Manual
Operating instruction
Thank you for choosing a Hama product. Take your time and read the following instructions and information completely. Please keep these instructions in a safe place for future reference. If you sell the device, please pass these operating instructions on to the new owner.
Explanation of Warning Symbols and Notes
Note
This symbol is used to indicate additional information or important notes.
Package Contents
- Single LNB
- These operating instructions
Safety Notes
- This product is not intended for use by persons, including children, with limited physical, sensory or mental abilities or lacking in experience or knowledge, unless they are supervised by a person responsible for their safety or have been instructed on how to use the product.
- Ensure that you do not mount any faulty or damaged products/components.
- Make sure that cables do not pose a tripping hazard or block emergency exits.
- Do not drop the product and do not expose it to any major shocks.
- Do not attempt to service or repair the product yourself. Leave any and all service work to qualified experts.
- Do not open the device or continue to operate it if it becomes damaged.
- If in doubt, have this product mounted by a qualified technician – do not attempt to mount it yourself!
- Once you have mounted the product and the attached load, check that they are sufficiently secure and safe to use.
Mounting
- Place the LNB in the mount (fig. 1). Make sure that the coaxial connections are on the bottom and the receiver is pointed towards the satellite dish.

- Push the LNB in the direction indicated by the arrow (fig. 2) as far as it will go towards the mounting clamp. In most cases, this adjusts the phase centre to match the satellite dish.
- Screw the top half of the mount tight (fig. 2) to permanently fix the LNB in place. Tighten the screws.

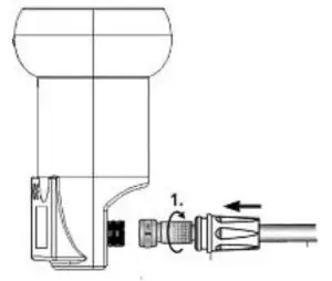
- Connect the coaxial cable to the coaxial connection on the LNB (fig. 3). Turn the F-connector as far as it will go and then pull the weatherproof cap over it.

Note
During first-time installation or after replacing an LNB, you should align the satellite dish and the LNB using a suitable satellite measuring device in order to ensure optimal reception. To maximise the horizontal and vertical signal reception, you can turn the LNB in accordance with the angle scale and move it forward. To do so, you need to loosen the holder (fig. 2) and afterwards properly tighten it again.
Warranty Disclaimer
Hama GmbH & Co KG assumes no liability and provides no warranty for damage resulting from improper installation/mounting, improper use of the product or from failure to observe the operating instructions and/or safety notes.
Service and Support
Please contact Hama Product Consulting if you have any questions about this product. Hotline: +49 9091 502-115 (German/English) Further support information can be found here: www.hama.com
Technical Data
Input frequency | 10.7–12.75 GHz |
Oscillator frequency | L1 = 9.75 GHz / L2 = 10.6 GHz |
Output frequency | 950–2150 MH |
Amplification | 57 dB (typ.) |
Power consumption | 80 mA (typ.) |
Vertical/horizontal switch-over | 14/18 V |
Low and high-band switch-over | 22 kHz |
Noise factor | 0.3 dB |
Recycling Information
Note on environmental protection:
After the implementation of the European Directive 2012/19/EU and 2006/66/EU in the national legal system, the following applies: Electric and electronic devices as well as batteries must not be disposed of with household waste. Consumers are obliged by law to return electrical and electronic devices as well as batteries at the end of their service lives to the public collecting points set up for this purpose or point of sale. Details to this are defined by the national law of the respective country. This symbol on the product, the instruction manual or the package indicates that a product is subject to these regulations. By recycling, reusing the materials or other forms of utilising old devices/batteries, you are making an important contribution to protecting our environment.
Declaration of Conformity
Hereby, Hama GmbH & Co KG declares that the radio equipment type [00121693] is in compliance with Directive 2014/53/EU. The full text of the EU declaration of conformity is available at the following internet address: www.hama.com->00121693 ->Downloads.
Service & Support
www.hama.com
+49 9091 502-0

All listed brands are trademarks of the corresponding companies. Errors and omissions excepted, and subject to technical changes. Our general terms of delivery and payment are applied.






















