hama 00205370 Uni Single LNB

Thank you for choosing a Hama product.
Take your time and read the following instructions and information completely. Please keep these instructions in a safe place for future reference. If you sell the device, please pass these operating instructions on to the new owner.
Explanation of warning symbols and notes
Warning This symbol is used to indicate safety instructions or to draw your attention to specific hazards and risks.
Note This symbol is used to indicate additional information or important notes.
Risk of electric shock This symbol indicates a risk of electric shock from touching uninsulated product parts that may carry hazardous voltage.
Package contents
- Uni Single LNB
- These operating instructions
Safety instructions
- This product is not intended for use by persons, including children, with limited physical, sensory or mental abilities or lacking in experience or knowledge, unless they are supervised by a person responsible for their safety or have been instructed on how to use the product.
- Ensure that you do not mount any faulty or damaged products/components.
- Make sure that cables do not pose a tripping hazard or block emergency exits.
- Do not drop the product and do not expose it to any major shocks.
- Do not attempt to service or repair the product yourself. Leave any and all service work to qualified experts.
- Do not open the device or continue to operate it if it becomes damaged.
- If in doubt, have this product installed by a qualified technician – do not attempt to install it yourself!
- Once you have mounted the product and the attached load, check that they are sufficiently secure and safe to use.
- This product is intended for private, non-commercial use only.
- Use the product only for the intended purpose.
- Do not modify the product in any way. Doing so voids the warranty.
- Only use the article under moderate climatic conditions.
Installation
- Place the LNB in the bracket (Pic 1). Ensure that the coaxial connections are underneath and that the reception part is aligned with the satellite dish.

- Push the LNB in the direction of the arrow (Pic 2) until it stops against the mounting clamp. In most cases, this adjusts the phase centre to the satellite dish.

- Screw the top half of the bracket in place (Pic 2) to permanently secure the LNB. Tighten the screws properly afterwards.
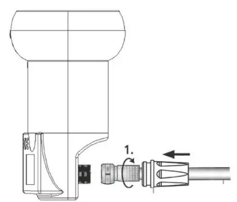
- Connect the coaxial cable to the coaxial connection on the LNB (Pic 3). Screw the F connector on as far as it will go and then pull the weather protection cap over it.

Note On first installation or after changing an LNB, it can be useful to adjust the satellite dish and LNB with the aid of a satellite measuring device in order to ensure optimised reception. To maximise the horizontal and vertical signal reception, you can rotate the LNB according to the angle scale and push it forwards. To do this, loosen the bracket (Pic 2) and then tighten it again properly.
Care and maintenance
Note Disconnect the device from the mains before cleaning and during prolonged periods of non-use.
- Only clean this product using a lint-free, slightly damp cloth and do not use any harsh cleaners.
- Ensure that no water is able to enter the product.
Warranty disclaimer
Hama GmbH & Co KG assumes no liability and provides no warranty for damage resulting from improper installation/mounting, improper use of the product or from failure to observe the operating instructions and/or safety notes.
Technical data
- Input frequency 10.7 – 12.75 GHz
- Oscillator frequency
- L1 = 9.75 GHz /
- L2 = 10.6 GHz
- Output frequency 950–2150 MHz
- Amplification 57 dB (typ.)
- Current consumption 80 mA (typ.)
- Horizontal/vertical switch 14/18 V
- Low and highband switch 22 kHz
- Noise factor 0.3 dB
Declaration of conformity
Hama GmbH & Co KG hereby declares that the radio equipment type [00205370] is in compliance with Directive 2014/53/EU. The full text of the EU declaration of conformity is available at the following
Internet address: https://de.hama.com 00205370 Downloads
Hama GmbH & Co KG
86652 Monheim/Germany
Service & Support
www.hama.com
+49 9091 502-0
All listed brands are trademarks of the corresponding companies. Errors and omissions excepted, and subject to technical changes. Our general terms of delivery and payment are applied.






















