eqoba Capture Genie Smart Selfie Stick User Guide
Capture Genie Overview

Download the Apai Genie App
Note: Before using Capture Genie, search Apal Genie on the App Store or Google Play Store to download and install the app to your Mobile device.
Apai Genie supports iOS 10.0(or later) and Android 8.1 (or later).
Power On/Off
Press and hold the power button on or off.
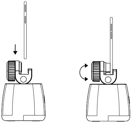
Placing Phone Onto Capture Genie

Pair Your Smartphone With Capture Genie
- Make sure that your device’s Bluetooth and Location/GPS are enabled and turned ON.
- Make sure the Capture Genie is power on.
- Open Apai Genie App and wait for 6 seconds, your smartphone will automatically connect with Capture Genie.
Note: please do not try to manually pair the device via Bluetooth.
App Settings
Tap the icon
X to select Facial Tracking or Object Tracking Mode.
Facial Tracking Mode ![]()
- Single mode: pose and wait for 3 seconds, automatically start shoot following
- Pair Mode: two faces draw close and wait for 3 seconds automatically photograph
Object Tracking Mode ![]()
- Photograph follow: Double click the selected target on the camera interface, automatically photograph.
- Video Follow: Double click the selected target on the camera interface and click the video button, start recording follow.
LIVE Mod e
- Select “LIVE” mode on the homepage of Apai Genie APP and complete the preparation of Capture Genie video live broadcast according to the guidelines
- Open the video live streaming app and follow the normal way of using the app to make a video call or live broadcast
- Apai Genie supports live streaming apps as follows: WeChat, Zoom,Snapchat, Facetime, Skype, Instagram, Facebook, Twitter, Youtube, TikTok, etc.
FCC STATEMENT
This device complies with Part 15 of the FCC
Rules.Operation is subject to the following two conditions:
This device may not cause harmful interference, and This device must accept any interference received, including interference that may cause undesired operation.
Warning: Changes or modifications not expressly approved by the party responsible for compliance could void the user’s authority to operate the equipment.
NOTE: This equipment has been tested and found to comply with the limits for a Class B digital device, pursuant to Part 15 of the FCC Rules. These limits are designed to provide reasonable protection against harmful interference in a residential installation. This equipment generates uses and can radiate radio frequency energy and, if not installed and used in accordance with the instructions, may cause harmful interference to radio communications. However, there is no guarantee that interference will not occur in a particular installation. If this equipment does cause harmful interference to radio or television reception, which can be determined by turning the equipment off and on, the user is encouraged to try to correct the interference by one or more of the following measures:
- Reorient or relocate the receiving antenna.
- Increase the separation between the equipment and receiver.
- Connect the equipment into an outlet on a circuit different from that to which the receiver is connected.
- Consult the dealer or an experienced radio/TV technician for help.
RF warning statement:
The device has been evaluated to meet general RF exposure requirement. The device can be used in portable exposure condition without restriction.























