better bathroom Non-Illuminated Bathroom Mirror and Furniture

INSTALLATION TOOLS
Spirit Level 
PARTS LIST

INSTALLATION-check the product for damage prior to installation
Before any drilling is carried out, please check for pipes and wires within the wall which could be damaged.
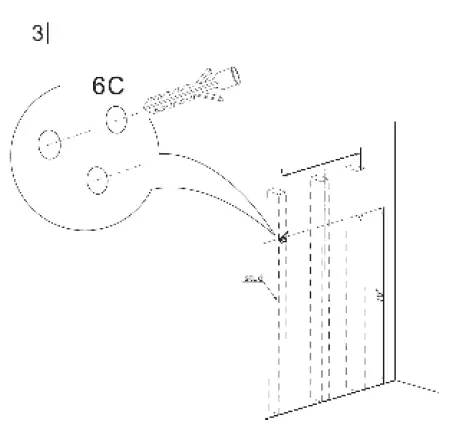
MIRROR INSTALLATION

Fitted to the rear of the unit are x 2 fixing brackets, measure the distance between the two brackets and mark this distance on the wall, ensuring this horizontally aligned, using a spirit level.
We recommend a height for the brackets of 70″ (1778mm) from the floor, but this is customer choice.
It is recommended to install to a solid wall, but if fitting to a stud wall, the fixings must be secured into a stud, not only into the plasterboard.
MIRROR Installation
After the position of the brackets Is matted, drill the holes in1he wall, using are 8mm drill bit (not supplied), to a depth of approx. 40mm.
Insert the wall plugs and tap flush with the wall Surface.
Hold the bracket up to the wall over the drilled holes and secure using the screws provided.
Ensure the brackets on the rear of the unit are fully tightened.
Lift the product on the wall mounted brackets to engage both sections of the brackets.
Once installed a bead of silicone can be applied around the edges of the unit if required.
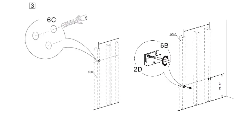
CABINET INSTALLATION
Fitted to the rear of the unit are x 2 fixing brackets, measure the distance between the two brackets and mark this distance on the wall, ensuring this horizontally aligned, using a spirit level.
We recommend a height for the brackets of 27.5″ (698mm) from the floor, but this is customer choice.
It is recommended to install to a solid wall, but if fitting to a stud wall, the fixings must be secured into a stud, not only into the plasterboard.
It is also recommended to set up the unit before installing the basin not the unit, so any adjustment can be made, via the fixings on the unit.
After the position of the brackets is marked, drill the holes in the wall, using an 8mm drill bit (not supplied), to a depth of approx 40mm.
Insert the wall plugs and tap flush with the wall surface and secure the wall brackets Into place.
Check the brackets fitted to the unit are fully tightened.
Lift the unit onto wall fitted brackets.
If any adjustment forward or backward/ up or down is required this is possible via the fitted adjusters on the inside of the unit.
After any adjustment of the unit has been made the basin can be fitted to the unit, by applying a bead of silicone between the unit and basin to provide a seal and fixing for the basin to the unit.
Also run a bead of silicone along the back edge of the base where it meets the wall. 
DOOR HANDLE INSTALLATIN
The doors which are to be Fitted with handles, either the round or shell type are provided with plot holes which should be drilled to allow fitting of the handle screw through the door and into Use handle.
Drill the holes, then place the screw through the unit from inside the door, connect this to the handle and tighten

FRAMED FURNITURE ASSEMBLY
Place the frame onto the unit and screw the frame to the unit through the holes in the frame, ensuring this is aligned with the unit edge.
Ensure this is fully secured before use 
WC UNIT INSTALLATION
Drill Into the wall through the rear plinth of the WC unit,
Fit the wall plug
Place the screw through the washers and secure to the wall.
Fit brass screw cap to brass washer 


CLEANING AND MAINTENANCE
Wipe the product clean and dry regularly, especially when the product is subject to steam or splashes.
Do not use harsh chemicals or material on the product as this will damage the product and invalidate your guarantee.
To clean and maintain the product, wipe using a dean damp cloth and wipe dry with a soft cloth.
We hope your new product goes above and beyond your expectations. However, should any problems occur, please:
- Log in to your account and contact our customer services team via your self-serve portal – betterbathrooms.com/CustomerAccount/Login
- Contact us via betterbathrooms.com/content/contact-us



















